Запчасти Case IH 500 (C-36) - HYDRAULIC CYLINDER, 2 X 8 IN. SINGLE ACTING

Схема запчастей Case IH 500 - (C-36) - HYDRAULIC CYLINDER, 2 X 8 IN. SINGLE ACTING
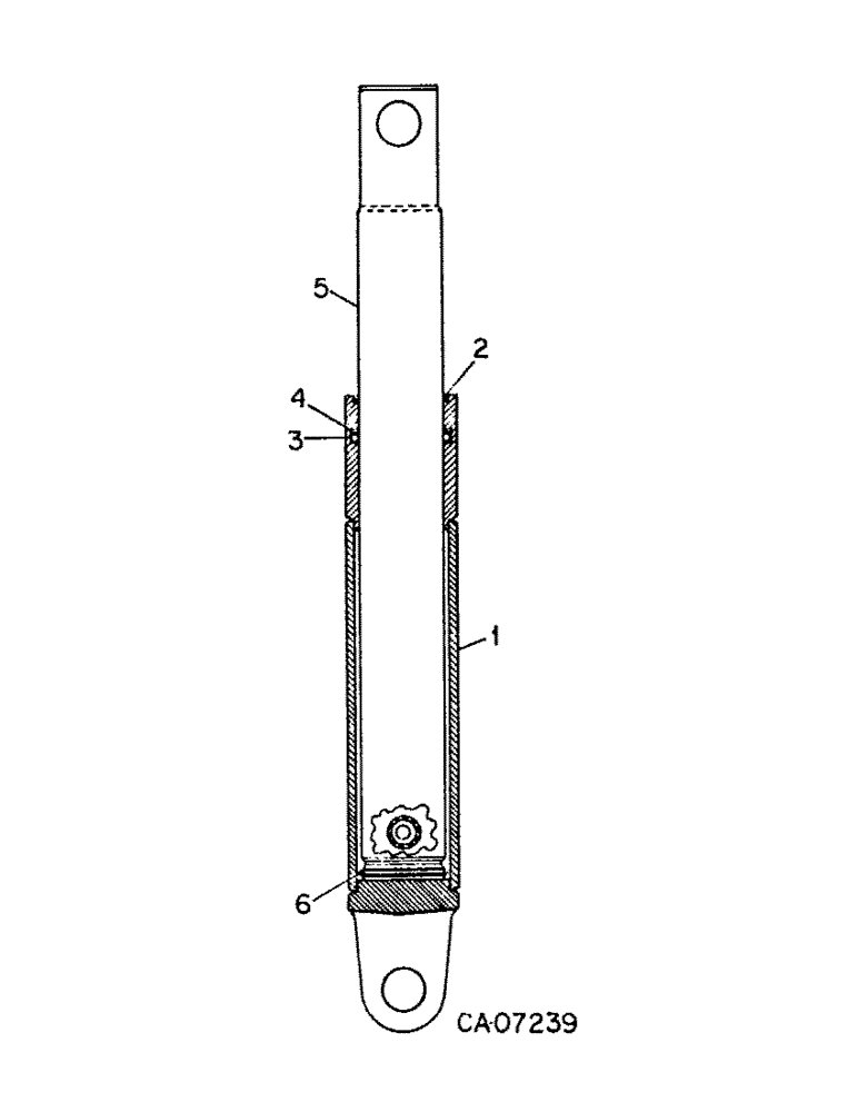
6
2
1
5
4
3
FIT
1:1
100%

Артикул

Название

Примечание

Количество

145622C91

CYLINDER ASSY.,Double Acting, 50.8mm Rod, 204.7mm Stroke

CYLINDER ASSY, 2 x 8 in. single acting hydraulic

1шт.

1

BODY ASSY, cylinder, order cylinder assy, 145622C91 (NSS)

1шт.

2

SEAL, rod wiper, order kit, 145682C1 (NSS)

1шт.

3

O-RING, 2 x 2-3/8 class 6, order kit, 145682C1 (NSS)

1шт.

4

WASHER, back-up, order kit, 145682C1 (NSS)

1шт.

5

149611C1

PISTON ROD

ROD, piston

1шт.

6

RING, rod retainer, order kit, 145682C1 (NSS)

1шт.

145682C1

SEALING RING

KIT, cylinder service, consists of ref nos 2, 3, 4 & 6

1шт.

Выбрано товаров: 8