Запчасти Case IH 500 (E-64) - DIAL-A-RATE, 8 ROW HYDRAULIC FOLD

Схема запчастей Case IH 500 - (E-64) - DIAL-A-RATE, 8 ROW HYDRAULIC FOLD
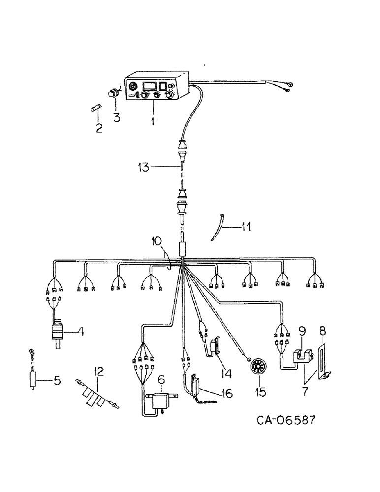
15
14
3
8
13
7
6
1
16
4
2
9
10
5
12
11
FIT
1:1
100%

Артикул

Название

Примечание

Количество

1

79302C1

GAUGE

CONSOLE ASSY, APC

1шт.

2

106652

FUSE,3 Amp, Type 3AG

3 amp

1шт.

3

128816C1

BUZZER

ALARM

1шт.

4

59363C1

SENSOR

seed

4шт.

5

128817C1

BRUSH, COMMUTATOR

BRUSH, sensor cleaning

1шт.

6

133897C1

SWITCH

air pressure

1шт.

7

133901C91

RELAY

ASSY, hopper level

1шт.

8

113432C1

BRACKET

seed level sensor

1шт.

9

140449C91

RELAY

SENSOR ASSY, hopper level

1шт.

615031R1

WASHER

.375 x .875 x .064 pln

1шт.

7500032

BUSHING

NUT, 5/16 wing

1шт.

10

134086C91

HARNESS, planter

1шт.

11

58555C1

FASTENER

TIE, wrap 7 in.

1шт.

11

306132C1

CABLE TIE,14.5" L

TIE, wrap 14 in.

1шт.

12

58557C1

ELECTRICAL WIRE

WIRE, shorting

1шт.

13

136990C91

CABLE, extension

1шт.

14

134057C1

RELAY

magnet pickup sensor

1шт.

15

134058C1

MAGNET

1шт.

16

140448C91

SWITCH, implement height

1шт.

Выбрано товаров: 19