Запчасти Case IH 500 (YA-29) - WINDSHIELD ATTACHMENT, FOR HERBICIDE, UNIT MOUNTED

Схема запчастей Case IH 500 - (YA-29) - WINDSHIELD ATTACHMENT, FOR HERBICIDE, UNIT MOUNTED
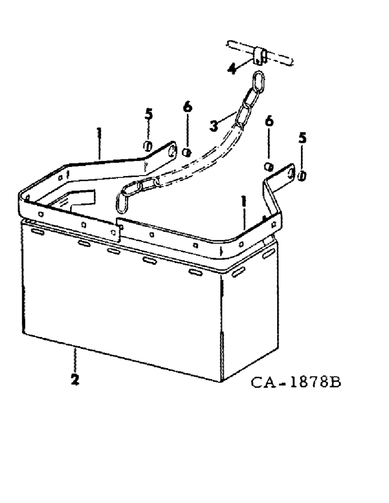
2
5
6
1
4
1
5
6
3
FIT
1:1
100%

Артикул

Название

Примечание

Количество

1

548519R1

BRACKET, windshield

2шт.

12653R1

BOLT (SPREADER),Short NK, 1/4"-20 x 3/4", G2

BOLT, CARRIAGE, Short NK, 1/4"-20 x 3/4", G2

6шт.

18627R1

CARRIAGE BOLT,Short Sq Nk, 1/4" - 20 x 1", Gr 2

BOLT, 1/4 x 1 znd sq-nk crg

1шт.

18628R1

BOLT,Short NK, 1/4"-20 x 1 1/4", G2

1/4 x 1-1/4 znd sq-nk crg

1шт.

18685R1

CARRIAGE BOLT,Short Sq Nk, 3/8" - 16 x 1 1/2", Gr 2

BOLT, 3/8 x 1-1/2 znd sq-nk crg

2шт.

120375

NUT,Hex, 1/4" - 20, Gr 5

7шт.

21222R1

LOCK NUT,1/4"-20, GB

NUT, 1/4-20 znd nylon insert

1шт.

120377

NUT,3/8" - 16, Gr 5

2шт.

492-11025

LOCK WASHER,1/4"

WASHER, LOCK, 1/4"

7шт.

120382

LOCK WASHER,Helical Spring, 3/8"

WASHER, LOCK, 3/8"

2шт.

23505R1

WASHER

9/32 x 5/8 x 16 ga C-Z

2шт.

282328C1

WASHER

9/32 x 1-1/8 x 16 ga C-Z

8шт.

178372R1

WASHER

13/32 x 1-1/4 x 16 ga C-Z

1шт.

2

548520R1

WINDOW

SHIELD, wind

1шт.

3

548524R1

CHAIN, windshield

1шт.

4

548523R1

CLIP, chain

1шт.

18627R1

CARRIAGE BOLT,Short Sq Nk, 1/4" - 20 x 1", Gr 2

BOLT, 1/4 x 1 znd sq-nk crg

1шт.

21222R1

LOCK NUT,1/4"-20, GB

NUT, 1/4-20 znd nylon insert

1шт.

5

548140R2

BUSHING

chain tightener

2шт.

6

593527R1

SPACER,1/4" Pipe x 7/16"

.364 x .540 x .438 pipe

2шт.

18766R1

BOLT,Hex, 5/16"-18 x 1 3/4", G2

5/16 x 1-3/4 znd hex-hd mach

1шт.

18630R1

BOLT (SPREADER),Short NK, 1/4"-20 x 1 3/4", G2

BOLT, 5/16 x 1-3/4 znd sq-nk crg

1шт.

120376

NUT,5/16"-18, G5

2шт.

80681

LOCK WASHER,5/16"

WASHER, LOCK, 5/16"

2шт.

134238R1

WASHER

11/32 x 1 x 16 ga C-Z

4шт.

Выбрано товаров: 25