Запчасти Case IH 500 (B-36) - HYDRAULIC PUMP AND CONNECTIONS, 540 RPM PTO

Схема запчастей Case IH 500 - (B-36) - HYDRAULIC PUMP AND CONNECTIONS, 540 RPM PTO
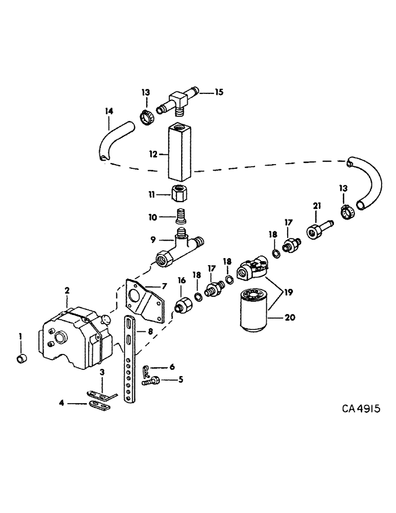
14
7
3
18
19
21
16
8
20
15
17
9
6
2
13
5
17
4
13
18
1
10
12
11
18
FIT
1:1
100%

Артикул

Название

Примечание

Количество

1

119956C1

SPACER, RING

SPACER, pump, used only with 666 and hydro 70 tractors

1шт.

2

149367C91

PUMP

w/PRODUCT GRAPHIC, 145167C1, hydraulic, for components refer for list of parts under details of 540 RPM hydraulic pump

1шт.

3

56775C91

ANGLE

STRAP ASSY

1шт.

4

56776C1

BAR

STRAP

1шт.

433156

BOLT,Hex, 1/2" - 13 x 4 1/2", Gr 5

SCREW, 1/2-13 x 4-1/2 znd hex-hd cap

2шт.

NLS

NO LONGER SERVICED

.531 x 1.062 x .074 C-Z

4шт.

120384

WASHER,1/2"

LOCK, 1/2"

2шт.

120378

NUT,Hex, 1/2" - 13, Gr 5

NUT, 1/2"-13, G5

2шт.

5

56788C1

BOLT,Hex, 5/8" - 11 x 1 1/2", Drilled

5/8-11 x 1-1/2 znd hex-hd drilled

2шт.

492-11062

BEARING WASHER,5/8"

WASHER, LOCK, 5/8"

2шт.

425-1410

JAM NUT,Jam, 5/8"-11, G5

5/8-11 C-Z hex. jam

2шт.

PO15237

SPACER

41/64 x 27/32 x 7/8, on lower bolt

1шт.

6

520175R1

CLIP

PIN, 3/16 quick attachable cot.

2шт.

7

113414C3

PLATE

pump mounting

1шт.

180122

BOLT,Hex, 3/8" - 16 x 1", Gr 5

3/8-16 x 1 znd hex-hd cap

2шт.

120382

LOCK WASHER,Helical Spring, 3/8"

WASHER, LOCK, 3/8"

2шт.

8

56774C1

BRACKET

adjusting

1шт.

M906

HEADED PIN,7/16" x 1 1/8"

PIN, 7/16 x 1-1/8 std-hd

2шт.

NLS

NO LONGER SERVICED

.469 x .922 x .051 znd

4шт.

432-1216

COTTER PIN,3/16" x 1"

Pin, Split (Cotter), 3/16" x 1"

2шт.

9

9410333

TEE,37 Degree, 3/4"-16 x 3/4"-16, Fem Sw Run

3/4-16 C-Z 37 deg hyd flared tube 90 deg swivel

1шт.

10

56781C1

ADAPTER

REDUCER, 1/4-18 x 1/2 OD tube

1шт.

11

9403528

TUBE NUT,37 Degree, 3/4"-16, Type B

NUT, 3/4-16 37 deg hyd flared tube

1шт.

12

539794R91

VALVE

ASSY, flow control

1шт.

13

279025R91

HOSE CLAMP,#06, .44/.78 Type F Worm

2шт.

14

HOSE, 25 in., use 25 in. from a roll marked 73199C1

1шт.

15

56782C91

TEE

ASSY

1шт.

16

677730R1

ROD, CONNECTING

CONNECTOR, 3/4 NPTF x 1-1/16-12 straight male

1шт.

17

9410205

HYD CONNECTOR,1 1/16"-12, 37 Degree x 1 1/16"-12, O-Ring

CONNECTOR, 1-1/16-12 C-Z 37 deg hyd flared tube short swivel

2шт.

18

368269R1

O-RING,0.116" Thk x 0.924" ID, -912, Cl 6, 90 Duro

3/4 OD tube

3шт.

19

113464C91

FILTER

ASSY, hydraulic

1шт.

20

113465C1

FILTER

spin-on hydraulic

1шт.

21

113452C1

TUBE

ASSY, connecting

1шт.

Выбрано товаров: 33