Запчасти Case IH 58-SERIES (P-22) - HOPPERS & COVERS W/INTERNATIONAL BOTTOM, STRAIGHT & OFFSET SIDES, ONE PER ROW

Схема запчастей Case IH 58-SERIES - (P-22) - HOPPERS & COVERS W/INTERNATIONAL BOTTOM, STRAIGHT & OFFSET SIDES, ONE PER ROW
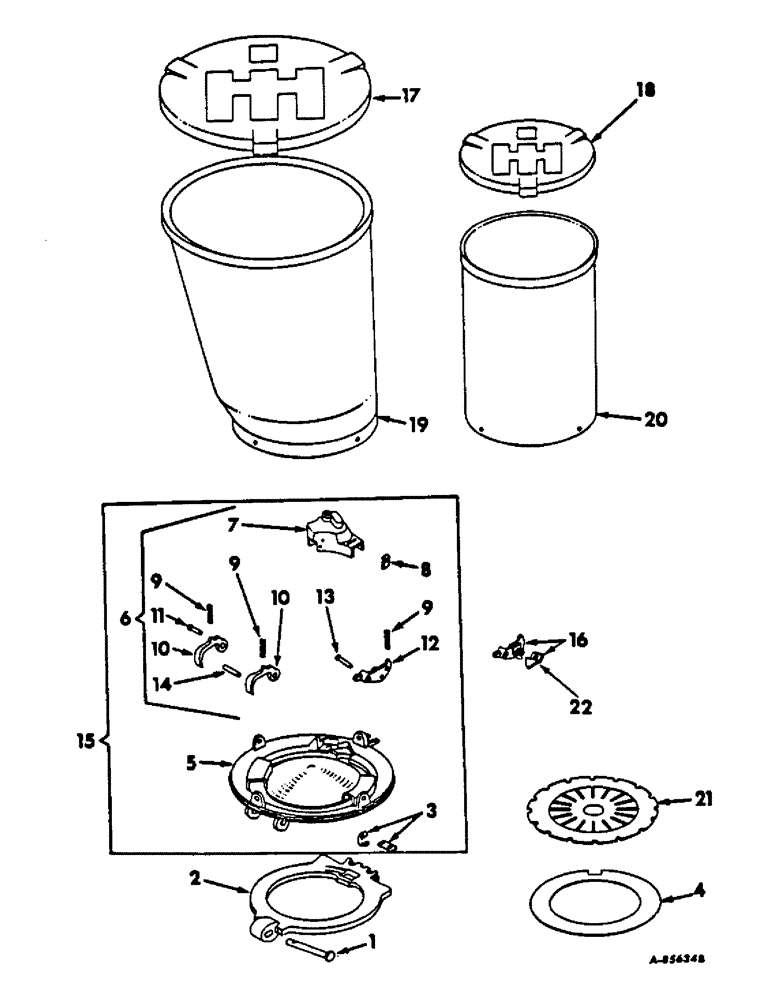
8
22
21
18
9
9
10
12
17
19
4
9
2
3
14
20
13
15
7
10
6
11
16
5
1
FIT
1:1
100%

Артикул

Название

Примечание

Количество

1

21959R1

HEADED PIN,5/16" x 3 1/2"

PIN, 5/16 x 3-1/2 C-Z std-hd

1шт.

648002

KNIFE

1/8" x 3/4"

1шт.

2

484888R1

PLATE ASSY.

PLATE, reversible bottom corn

1шт.

3

490272R1

VALVE SPRING

SPRING ASSY, bottom plate retainer

1шт.

4

RING, filler, refer to seed plate section

1шт.

5

BOTTOM, International hopper, order bottom assy, 488790R91

1шт.

88574

BOLT,Hex, 5/16" - 18 x 1/2", Gr 5, Full Thd

4шт.

611344R1

WASHER

11/32 x 7/8 x 16 ga C-Z

4шт.

138538

LOCK WASHER

WASHER, 5/16 C-Z int-tooth lock

4шт.

6

484871R91

SERVICE KIT

double pawl corn, consists of ref. nos. 7 through 14

1шт.

7

COVER, double pawl, order cover assy, 484871R91

1шт.

180697

SCREW, 5/16-24 x 2-1/8 C-Z hex-hd cap

1шт.

138538

LOCK WASHER

WASHER, 5/16 C-Z int-tooth lock

1шт.

124920

JAM NUT,Jam, 5/16"-24, G5

1шт.

8

484879R1

DOOR

GATE, double pawl cover

1шт.

9

484881R

SPRING, cut-off pawl and knocker

3шт.

10

484875R1

PAWL

corn cut-off

2шт.

11

484883R1

PIN

3/16 x 1 knurled hd, cut-off pawl pivot

1шт.

12

484885R11

ARM

ASSY, corn roller knocker

1шт.

159658

SCREW,Cross Pan Hd, #8 - 32 x 3/4"

8-32 x 3/4 C-Z cr-rec-pan-hd mach

1шт.

NLS

NO LONGER SERVICED

3/16 x 7/16 x .038 C-Z

2шт.

138530

LOCK WASHER,Int Tooth, #8

WASHER, LOCK, Int Tooth, #8

1шт.

120622

NUT,#8-32

1шт.

488808R1

SCREW

no. 10 x 1 C-Z slt-pan-hd tap

2шт.

13

484882R1

PIN

3/16 x 1-1/2 knurled hd, knocker arm pivot

1шт.

14

22433R1

PIN,3/16" x 1 5/16"

3/16 x 1-5/16 C-Z chamfered str, cut-off pawl stop

1шт.

15

484918R91

BOTTOM

ASSY, International hopper, Serial Range: 1966-1967

1шт.

15

488790R91

BOTTOM

ASSY, International hopper, 1968 and since, consists of ref. nos. 1, 3, 5 through 14

1шт.

88574

BOLT,Hex, 5/16" - 18 x 1/2", Gr 5, Full Thd

8шт.

611344R1

WASHER

11/32 x 7/8 x 16 ga C-Z

8шт.

138538

LOCK WASHER

WASHER, 5/16 C-Z int-tooth lock

2шт.

413-536

BOLT,Hex, 5/16" - 18 x 2-1/4", Gr 5

SCREW, 5/16-18 x 2-1/4 znd hex-hd cap

2шт.

120376

NUT,5/16"-18, G5

2шт.

16

484878R11

ARM

ASSY, small seed knocker, special, used with either corn or beet planting International hopper bottom assemblies and seed plates with drilled holes

1шт.

436694

SCREW,Slotted Pan Hd, #8-32 x 7/16"

8-32 x 7/16 C-Z slt-pan-hd mach

1шт.

138530

LOCK WASHER,Int Tooth, #8

WASHER, LOCK, Int Tooth, #8

1шт.

120622

NUT,#8-32

1шт.

17

474852R1

COVER

offset side fiberglass hopper

1шт.

18

474850R2

COVER ASSY

COVER, straight side fiberglass hopper

1шт.

19

478559R11

HOPPER

ASSY, offset side fiberglass, 70 lbs capacity

1шт.

20

478558R11

HOPPER

ASSY, straight side fiberglass, 30 lbs capacity

1шт.

21

PLATE, seed, refer to seed plate section

1шт.

22

484880R2

STRIP

small seed knocker arm

1шт.

Выбрано товаров: 43