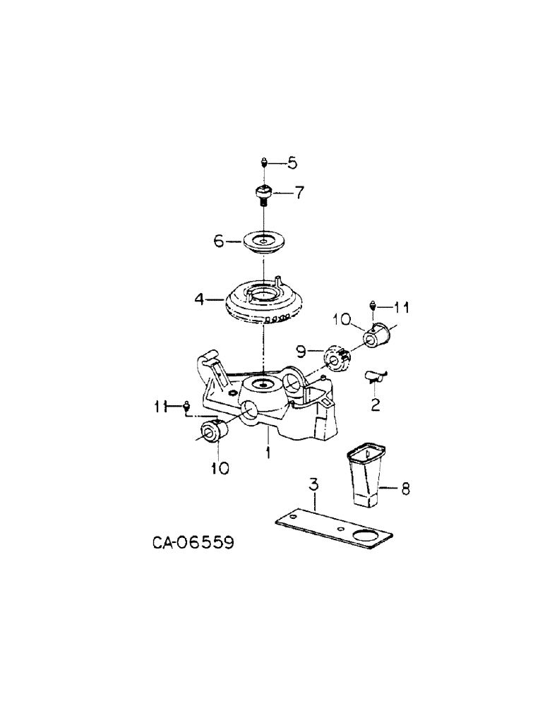
Запчасти Case IH 87 (Q-06[A]) - HOPPER BRACKET, ONE PER ROW, 1977 AND SINCE

Схема запчастей Case IH 87 - (Q-06[A]) - HOPPER BRACKET, ONE PER ROW, 1977 AND SINCE
10
10
8
3
6
11
2
1
9
11
4
7
5
FIT
1:1
100%

Артикул

Название

Примечание

Количество

1

100457C2

BRACKET

hopper

1шт.

18899R1

BOLT,Sq Hd, 5/16"-18 x 2 1/2", G2

5/16 x 2-1/2 sq/hd mach type 1

1шт.

18810R1

BOLT,Hex, 1/2" - 13 x 2 1/4", Gr 2

1/2 x 2-1/4 type 1

2шт.

120384

WASHER,1/2"

LOCK, 1/2"

2шт.

120378

NUT,Hex, 1/2" - 13, Gr 5

NUT, 1/2"-13, G5

2шт.

2

541905R1

NUT

ASSY, locking

1шт.

3

113270C1

BAR

seed tube, strip

1шт.

4

100456C1

GEAR

40T ring

1шт.

5

126098

FITTING

5/16 str drive lub, in ring gear bolt

1шт.

6

479605R2

CYLINDER END CAP

CAP, ring gear retainer

1шт.

7

479607R1

BOLT,1/2" - 13 x 1 7/64"

ring gear

1шт.

8

113269C1

TUBE,3.8" Length

seed upper

1шт.

9

471196R1

GEAR WHEEL

PINION, 12T bevel

1шт.

10

PO2507

BEARING

hopper drive lub

2шт.

11

109461

LUBE NIPPLE,1/8"-27 x .66 lg

NIPPLE, LUBE, , PTF 1/8"-27 x .66 lg

2шт.

Выбрано товаров: 15