Запчасти Case IH 90 (R-24) - ADJUSTABLE RUNNER WING ATTACHMENT

Схема запчастей Case IH 90 - (R-24) - ADJUSTABLE RUNNER WING ATTACHMENT
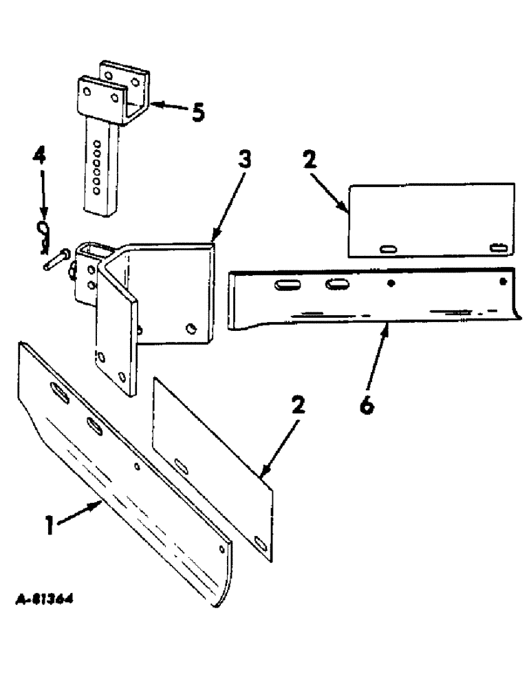
3
1
6
5
2
4
2
FIT
1:1
100%

Артикул

Название

Примечание

Количество

1

469325R1

RUNNER

WING, LH runner

2шт.

2

469327R1

SHIELD

dirt

4шт.

17425R1

BOLT,Hex, 5/16" - 18 x 1", Gr 2

5/16 x 1 hex-hd mach

8шт.

9635082

NUT,5/16" - 18, Gr 5

5/16 hex.

8шт.

Q399

WASHER

11/32 x 1 x 16 ga

8шт.

103320

LOCK WASHER,5/16"

WASHER, LOCK, 5/16"

8шт.

3

480400R91

BRACKET ASSY, wing support

2шт.

Q1250

PIN

1/4 x 1-7/8 std-hd

2шт.

4

473443R1

COTTER PIN

quick attachable cot.

2шт.

110452

SET SCREW

1/2-13 x 1-1/2 sq-hd cup-pt set

2шт.

Q392

WASHER

9/32 x 3/4 x 18 ga

2шт.

5

480402R11

BAR ASSY, runner wings

2шт.

18813R1

BOLT,Hex, 1/2" - 13 x 4", Gr 2

1/2 x 4 C-Z hex-hd mach

4шт.

120378

NUT,Hex, 1/2" - 13, Gr 5

NUT, 1/2"-13, G5

4шт.

120384

WASHER,1/2"

LOCK, 1/2"

4шт.

6

469326R1

RUNNER

WING, RH runner

2шт.

17140R1

CARRIAGE BOLT,Short Nk, 1/2" - 13 x 1 1/4", Gr 2, Full Thd

BOLT, 1/2 x 1-1/4 C-Z crg

8шт.

120378

NUT,Hex, 1/2" - 13, Gr 5

NUT, 1/2"-13, G5

8шт.

120384

WASHER,1/2"

LOCK, 1/2"

8шт.

Выбрано товаров: 19