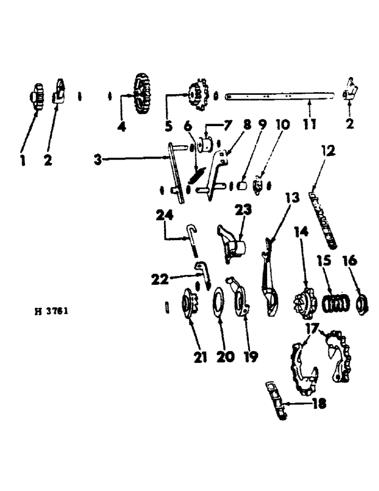
Запчасти Case IH 10 (A-30) - FERTILIZER DRIVE PARTS

Схема запчастей Case IH 10 - (A-30) - FERTILIZER DRIVE PARTS
9
19
20
14
18
6
17
11
2
5
23
1
8
13
12
21
22
2
24
16
15
3
10
7
4
FIT
1:1
100%

Артикул

Название

Примечание

Количество

1

603464R1

GEAR

PINION, 14T countershaft, 1 used 12 x 7 & 13 x 7, 2 used 16 x 6, 20 x 6, 24 x 6, 16 x 7, 18 x 7, 16 x 8, 20 x 8 & 16 x 10

1шт.

10 Drill

1шт.

576485R1

LOCK PIN,1/4" x 1 1/4", Slotted

1 used per pinion 1/4" x 1 1/4", Slotted

1шт.

2

603468R1

BRACKET

BEARING, countershaf, 2 used 12 x 7 & 13 x 7, 4 used 16 x 6, 20 x 6, 24 x 6, 16 x 7, 18 x 7, 16 x 8, 20 x 8 & 16 x 10

1шт.

10 Drill

1шт.

109461

LUBE NIPPLE,1/8"-27 x .66 lg

NIPPLE, LUBE, (1 used per brg) 1/8"-27 x .66 lg

1шт.

550796R1

CARRIAGE BOLT,3/8" - 16 x 1 1/4", Grade 5

3/8 X 1-1/4" CRG BOLT (Not 16 x 8 & 20 x 8) (1 used per brg)

1шт.

19020R1

PLOW BOLT,#3, 3/8" - 16 x 1 1/4", Gr 2

3/8 X 1-1/4" NO. 3 PLOW BOLT (16 x 8 & 20 x 8)

1шт.

120382

LOCK WASHER,Helical Spring, 3/8"

WASHER, LOCK, , 1 per bolt 3/8"

1шт.

120377

NUT,3/8" - 16, Gr 5

(1 used per bolt) 3/8"-16, G5

1шт.

3

603485R11

ARM, chain tightener (1 used 12 x 7 & 13 x 7) (2 used 16 x 6, 20 x 6, 24 x 6, 16 x 7, 18 x 7, 16 x 8, 20 x 8 & 16 x 10)

1шт.

178373R1

WASHER

17/32 X 1 X 16 GA WASHER (2 used per arm)

1шт.

103385

COTTER PIN,1/8" x 1"

PIN, SPLIT (COTTER), , 2 used per arm 1/8" x 1"

1шт.

4

603460R1

GEAR

24T countershaft spur (1 used 12 x 7 & 13 x 7) (2 used 16 x 6, 20 x 6, 24 x 6, 16 x 7, 18 x 7, 16 x 8, 20 x 8 & 16 x 10)

1шт.

5

603467R1

SPROCKET ASSY.

SPROCKET, 10T & 12T driven, 1 used 12 x 7 & 13 x 7, 2 used 16 x 6, 20 x 6, 24 x 6, 16 x 7, 18 x 7, 16 x 8, 20 x 8 & 16 x 10

1шт.

10 Drill

1шт.

U5348

PIN

1/4 X 1-1/2" STD-HD-DLD PIN (1 used per sprocket)

1шт.

103384

COTTER PIN,1/8" x 3/4"

Pin, Split (Cotter), , 1 per pin 1/8" x 3/4"

1шт.

6

4A

SPRING

chain tightener (1 used 12 x 7 & 13 x 7) (2 used 16 x 6, 20 x 6, 24 x 6, 16 x 7, 18 x 7, 16 x 8, 20 x 8 & 16 x 10)

1шт.

132-347

COTTER PIN,1/4" x 1"

Split (Cotter), , 1 per spring 1/4" x 1"

1шт.

7

3240A

ROLLER

chain bracket (1 used 12 x 7 & 13 x 7) (2 used 16 x 6, 20 x 6, 24 x 6, 16 x 7, 18 x 7, 16 x 8, 20 x 8 & 16 x 10)

1шт.

8

603486R21

BRACKET, chain tightener (1 used 12 x 7 & 13 x 7) (2 used 16 x 6, 20 x 6, 24 x 6, 16 x 7, 18 x 7, 16 x 8, 20 x 8 & 16 x 10)

1шт.

495967R1

CARRIAGE BOLT,Short NK, 3/8"-16 x 1", G5, Full Thd

3/8 X 1" CRG BOLT

2шт.

103384

COTTER PIN,1/8" x 3/4"

Pin, Split (Cotter), 1/8" x 3/4"

1шт.

103386

COTTER PIN,1/8" x 1 1/4"

Pin, Split (Cotter), 1/8" x 1 1/4"

1шт.

178373R1

WASHER

17/32 X 1 X 16 GA WASHER

2шт.

21796R1

WASHER

21/32 X 1 X 16 GA WASHER

2шт.

120382

LOCK WASHER,Helical Spring, 3/8"

WASHER, LOCK, 3/8"

2шт.

120377

NUT,3/8" - 16, Gr 5

2шт.

9

603369R1

BUSHING

chain tightener sprocket (1 used 12 x 7 & 13 x 7) (2 used 16 x 6, 20 x 6, 24 x 6, 16 x 7, 18 x 7, 16 x 8, 20 x 8 & 16 x 10)

1шт.

10

603450R1

DRIVE SPROCKET

SPROCKET, 5T chain tightener (1 used 12 x 7 & 13 x 7) (2 used 16 x 6, 20 x 6, 24 x 6, 16 x 7, 18 x 7, 16 x 8, 20 x 8 & 16 x 10)

1шт.

11

603473R1

SHAFT, counter, 16 x 6, 20 x 6 & 24 x 6

2шт.

10 Drill

1шт.

11

603474R1

SHAFT, counter, 1 used 12 x 7 & 13 x 7, 2 used 16 x 7 & 18 x 7

2шт.

10 Drill

1шт.

11

606090R1

SHAFT

counter, 16 x 8 & 20 x 8

2шт.

10 Drill

1шт.

11

605155R1

SHAFT, counter, 16 x 10

2шт.

10 Drill

1шт.

178375R1

WASHER

25/32 X 1-1/4 X 16 GA WASHER (3 used per shaft)

1шт.

432-1220

COTTER PIN,3/16" x 1 1/4"

Pin, Split (Cotter), , 3 used per shaft 3/16" x 1 1/4"

1шт.

12

CHAIN, drive (For service order 1 - CS-32) (Steel) (10 ft chain, reduce to 56 links)

1шт.

13

603131R1

PLATE ASSY.

PLATE, clutch throw-out (1 used 12 x 7 & 13 x 7) (2 used other sizes)

1шт.

14

603115R1

DRIVE SPROCKET

SPROCKET, 8T drive (1 used 12 x 7 & 13 x 7) (2 used other sizes)

1шт.

15

35AC

SPRING

drive clutch (1 used 12 x 7 & 13 x 7) (2 used other sizes)

1шт.

16

603117R1

COLLAR CLAMP

COLLAR, drive clutch spg (1 used 12 x 7 & 13 x 7) (2 used other sizes)

1шт.

576485R1

LOCK PIN,1/4" x 1 1/4", Slotted

1шт.

17

F1103R

DRIVE SPROCKET

SPROCKET, 16T fast speed half (Special) (2 used 12 x 7 & 13 x 7) (4 used 16 x 6, 20 x 6, 16 x 7, 18 x 7, 16 x 8 & 16 x 10)

1шт.

434-524

CARRIAGE BOLT,Short NK, 5/16"-18 x 1 1/2", G5

5/16 X 1-1/2" CRG BOLT (2 per sprocket)

1шт.

80681

LOCK WASHER,5/16"

WASHER, LOCK, , 1 used per bolt 5/16"

1шт.

120376

NUT,5/16"-18, G5

(1 used per bolt) 5/16"-18, G5

1шт.

18

CHAIN, fast speed drive (For service order 1 - CS-32) (Steel) (10 ft chain, reduce to 60 links) (1 used per drive)

1шт.

19

603133R1

CAM

drive clutch throw-out (1 used per 12 x 7 & 13 x 7) (2 used other sizes)

1шт.

80711

LUBE NIPPLE,65 Degree, 1/8" NPT x 7/8" lg

1/8" - 65 DEGREE ELBOW LUB-FITTING

1шт.

21782

WASHER

21/32 X 1-1/2 X 16 GA WASHER

1шт.

103385

COTTER PIN,1/8" x 1"

PIN, SPLIT (COTTER), 1/8" x 1"

1шт.

20

603265R1

WASHER

2 x 3-1/8 x 16 ga clutch (1 used 12 x 7 & 13 x 7) (2 used other sizes)

1шт.

21

603116R1

COLLAR CLAMP

COLLAR, 8T drive clutch (1 used 12 x 7 & 13 x 7) (2 used other sizes)

1шт.

576485R1

LOCK PIN,1/4" x 1 1/4", Slotted

1шт.

22

603181R1

SUPPORT

EXTENSION, drive clutch rod (1 used 12 x 7 & 13 x 7) (2 used other sizes)

1шт.

23

603132R1

ARMATURE

ARM, clutch shifter rod rockshaft (1 used 12 x 7 & 13 x 7) (2 used other sizes)

1шт.

18676R1

CARRIAGE BOLT,Sq Nk, 5/16" - 18 x 2 1/4", Gr 2

5/16 X 2-1/4" CRG BOLT (1 used per arm)

1шт.

80681

LOCK WASHER,5/16"

WASHER, LOCK, , 1 used per bolt 5/16"

1шт.

120376

NUT,5/16"-18, G5

(1 used per bolt) 5/16"-18, G5

1шт.

24

603151R1

ROD

clutch shifter (1 used 12 x 7 & 13 x 7) (2 used 16 x 6, 20 x 6, 24 x 6, 16 x 7, 18 x 7, 16 x 8, 20 x 8 & 16 x 10)

1шт.

120377

NUT,3/8" - 16, Gr 5

3/4" NUT (1 used per bolt)

1шт.

Выбрано товаров: 66