Запчасти Case IH 5 (Y-5) - GRASS SEED ATTACHMENT, SPECIAL

Схема запчастей Case IH 5 - (Y-5) - GRASS SEED ATTACHMENT, SPECIAL
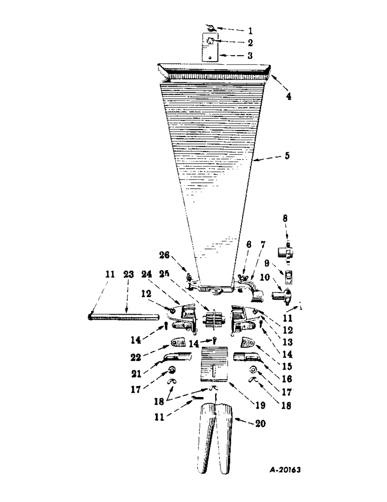
14
10
21
16
26
23
25
11
4
11
17
22
6
17
18
18
11
12
5
19
1
15
12
13
24
14
7
9
3
14
8
2
20
FIT
1:1
100%

Артикул

Название

Примечание

Количество

1

7500032

BUSHING

NUT, 5/16-18 C-Z wing

1шт.

2

18474R1

BOLT,Hex, 5/16" - 18 x 1", Gr 2

5/16-18 x 1 C-Z hex-hd mach

1шт.

3

N11242

BRACKET, stay

1шт.

18474R1

BOLT,Hex, 5/16" - 18 x 1", Gr 2

5/16-18 x 1 C-Z hex-hd mach

1шт.

142745

NUT, WING

NUT, 5/16-18 C-Z wing

1шт.

112420

RIVET, 3 lb. tinners

1шт.

4

N11237

LID, hopper

1шт.

5

N12812

HOPPER W/BOTTOM

1шт.

6

18765R1

BOLT,Hex, 5/16" - 18 x 1 1/2", Gr 2

5/16-18 x 1-1/2 C-Z hex-hd mach

2шт.

6

7500032

BUSHING

NUT, 5/16-18 C-Z wing

1шт.

7

BA516X

BOTTOM W/LUBRICATION FITTING, hopper

1шт.

18765R1

BOLT,Hex, 5/16" - 18 x 1 1/2", Gr 2

5/16-18 x 1-1/2 C-Z hex-hd mach

2шт.

109455

LUBE NIPPLE,5/16" x .56 lg, Drive

FITTING, 5/16 x 5/8 STR lub, drive type

1шт.

142745

NUT, WING

NUT, 5/16-18 C-Z wing

1шт.

111285

RIVET, 3/16 x 3/8 C-Z f-hd

3шт.

120697

SCREW, 1/4-20 x 3/4 C-Z slt-f-hd mach

2шт.

120375

NUT,Hex, 1/4" - 20, Gr 5

2шт.

120376

NUT,5/16"-18, G5

1шт.

8

N1412

SPROCKET, drive, 8 T

1шт.

9

N12814

CHAIN, drive, 18 steel links, no. 25 chain

1шт.

9

N22743

CHAIN, extra links, no. 25

1шт.

10

B470RD

SPROCKET, feed shaft, 5 T

1шт.

11

648002

KNIFE

1/8" x 3/4"

3шт.

12

120697

SCREW, 1/4-20 x 3/4 C-Z slt-fl-hd mach

2шт.

120375

NUT,Hex, 1/4" - 20, Gr 5

2шт.

13

B365RD

CUP, right half feed

1шт.

120375

NUT,Hex, 1/4" - 20, Gr 5

1шт.

120697

SCREW, 1/4-20 x 3/4 C-Z slt-fl-hd mach

1шт.

22132R1

RIVET, 3/16 x 9/16 C-Z rd-hd

1шт.

14

620062R1

BOLT, no. 10 x 3/4 special hex-hd mach

3шт.

15

W4572

PLATE, right indicator

1шт.

16

W2207

CUT-OFF, right

1шт.

22168R1

RIVET, 3/32 x 3/8 C-Z rd-hd

1шт.

17

21549R1

WASHER

9/32 x 3/4 x 18 ga C-Z

2шт.

18

144233

NUT, no. 10 C-Z wing #10-24

3шт.

19

W2208

SLIDE, cut-off

1шт.

20

N12813

CHUTE ASSY, seed

1шт.

648002

KNIFE

1/8" x 3/4"

1шт.

21

W2206

CUT-OFF, left

1шт.

22

W4571

PLATE, left indicator

1шт.

22168R1

RIVET, 3/32 x 3/8 C-Z rd-hd

1шт.

23

W5752

SHAFT, feed

1шт.

648002

KNIFE

1/8" x 3/4"

2шт.

24

B364RD

CUP, left feed

1шт.

120375

NUT,Hex, 1/4" - 20, Gr 5

1шт.

120697

SCREW, 1/4-20 x 3/4 C-Z slt-fl-hd mach

1шт.

22132R1

RIVET, 3/16 x 9/16 C-Z rd-hd

1шт.

25

B366RD

ROLL, feed

1шт.

26

18765R1

BOLT,Hex, 5/16" - 18 x 1 1/2", Gr 2

5/16-18 x 1-1/2 C-Z hex-hd mach

1шт.

N12811

CUP ASSY, grass seed, consists of ref. nos. 12 and 24

1шт.

Выбрано товаров: 50