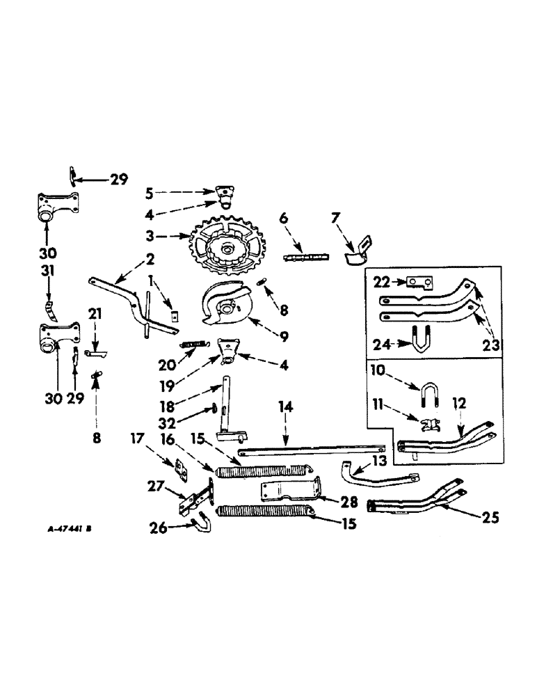
Запчасти Case IH 249 (E-20) - GROUND DRIVEN POWER LIFT

Схема запчастей Case IH 249 - (E-20) - GROUND DRIVEN POWER LIFT
3
1
30
16
9
21
19
8
29
4
12
4
15
27
8
20
29
28
23
17
15
2
26
14
5
13
25
24
22
11
7
6
10
32
30
18
31
FIT
1:1
100%

Артикул

Название

Примечание

Количество

1

625047R1

STOP, trip

1шт.

RIVET, 7/16 x 1-3/4 button-hd

1шт.

2

625229R92

LEVER, trip

1шт.

PIN, 1/8 x 3/4 cotter

1шт.

PIN, 3/16 X 1-1/4 cotter

2шт.

RIVET, no. 9 x 7/16 f-hd

1шт.

WASHER, 13/32 x 1 x 16 ga

1шт.

3

625045R11

SPROCKET W/CLUTCH AND LUBRICATION FITTING

1шт.

4

443567

LUBE NIPPLE,1/4" x .56 lg, Drive

FITTING, 1/4 drive type straight lub

3шт.

5

625042R21

BEARING

W/LUBRICATION FITTING, crankshaft left, order 471391R1 and 471397R1

1шт.

NUT, 1/2

2шт.

SCREW, 1/2 x 1-1/2 hex-hd cap

1шт.

WASHER, 1/2 lock

2шт.

6

CHAIN, drive, use 36 no. 44 steel links from a 10 ft roll no. CS-55

1шт.

7

625155R1

SLIDE, chain

1шт.

BOLT W/NUT, 3/8 x 1 crg

1шт.

8

37AC

SPRING

REFER TO MARKER UNIT

1шт.

9

625835R91

CARRIER, trip dog, order 471456R91 and 471400R11

1шт.

17086R1

LOCK PIN,3/8" x 2 1/2", Slotted

PIN, 3/8" x 2 1/2", Slotted

1шт.

18642R1

LOCK PIN,7/32" x 2 1/2", Slotted

Pin, 7/32" x 2 1/2", Slotted

1шт.

9

471456R91

CARRIER, trip dog

1шт.

PIN, 1/4 x 1-1/4 cotter

1шт.

10

624392R1

U-BOLT, for 449, 450, 649 and 650 planters

1шт.

NUT, 5/8

2шт.

WASHER, 5/8 lock

2шт.

11

625544R1

BLOCK, clamp, for 449, 450, 649 and 650 planters

1шт.

12

625237R91

ARM, for 449, 450, 649 and 650 planters

1шт.

PO14146

PIN, 5/8 x 2-7/16 dld-std-hd

1шт.

13

625154R1

BAR, helper spring, for 449, 449A, 450 and 450A planters, order 471380R91

1шт.

14

626188R1

LINK, lift connecting, nos. 249 and 250 planters

1шт.

14

625129R1

LINK, lift connecting, nos. 449 and 450 planters

1шт.

625565R1

PIN, 3/4 x 1-5/8 dld-std-hd

1шт.

PIN, 1/4 x 1-1/2 cotter

1шт.

15

M1430

VALVE SPRING

SPRING, lift helper, nos. 449 and 450 planters

2шт.

16

M1425

PLUG

lift helper spring, nos. 449 and 450 planters

2шт.

471399R1

BOLT W/NUT, 1/2 x 4-5/8 mach

1шт.

17

625124R1

PLATE, helper spring anchor, nos. 449 and 450 planters, order 471393R1

1шт.

18

625228R91

CRANK

order 471456R91, 471400R11 and 11449P

1шт.

PIN, 1/4 x 1-1/4 cotter

1шт.

WASHER, 1-9/32 x 2 x 11 ga

2шт.

18

471400R11

CRANK W/PIN, nos. 449A and 450A planters

1шт.

PIN, 1/4 x 1-1/4 cotter

1шт.

WASHER, 25/32 x 1-1/2 x 16 ga

1шт.

Q3483

WASHER

1-9/32 x 2 x 11 ga, between crankshaft bearing and roller and, Serial Range: next-cotter

1шт.

11449P

SPACER,1 1/4" Pipe x 1/2"

lift crank bearing crankshaft right, order 471391R1

1шт.

19

625043R11

BEARING W/LUBRICATION FITTING, 471397R1 and 471395R1

1шт.

NUT, 1/2

2шт.

SCREW, 1/2 x 1-1/2 hex-hd cap

1шт.

WASHER, 1/2 lock

2шт.

20

625527R1

SPRING, trip lever

1шт.

PIN, 5/16 x 3/4 cotter

1шт.

21

625199R1

REFER TO MARKER UNIT

1шт.

22

626158R1

PLATE, clamp, for 249, 249A, 250 and 250A planters

1шт.

23

626165R1

ARM, for 249, 249A, 250 and 250A planters

1шт.

24

626167R1

U-BOLT, arm, for 249, 250 and 250A planters

1шт.

NUT, 5/8

2шт.

WASHER, 5/8 lock

2шт.

25

471374R91

ARM, nos. 449A and 450A planters

1шт.

26

471398R1

U-BOLT, helper spring arm, nos. 449A and 450A planters

1шт.

NUT, 5/8

2шт.

WASHER, 5/8 lock

2шт.

27

471380R91

ARM, helper spring, nos. 449A and 450A planters

1шт.

28

471393R1

ANCHOR, dual helper spring, nos. 449A and 450A planters

1шт.

17721R1

BOLT, 1/2 x 4 mach

2шт.

NUT, 1/2

2шт.

657912R1

SCREW, 1/2 x 2-1/2 cap, in spring plug

1шт.

WASHER, 1/2 lock

2шт.

29

471397R1

U-BOLT, crankshaft bearing, nos. 449A and 450A planters

1шт.

NUT, 1/2

2шт.

WASHER, 1/2 lock

2шт.

30

471391R1

BEARING, crankshaft, nos. 449A and 450A planters

2шт.

NUT, 1/2

2шт.

SCREW, 1/2 x 1-1/2 cap

1шт.

SCREW, 1/2 x 1-3/4 cap

1шт.

WASHER, 1/2 lock

2шт.

31

471395R1

ANCHOR, trip lever spring, nos. 449A and 450A planters

1шт.

BOLT W/NUT, 3/8 x 1 mach

1шт.

WASHER, 3/8 lock

1шт.

32

88745

WOODRUFF KEY,#28, 5/16" x 2 1/8", HT

KEY, Woodruff, 5/16 x 2-1/8, nos. 449A and 450A planters

1шт.

PIN, 1/4 x 1-3/4 cotter

1шт.

Выбрано товаров: 80