Запчасти Case IH 249 (E-26) - DOUBLE DISK SEED OPENER, BALL BEARING

Схема запчастей Case IH 249 - (E-26) - DOUBLE DISK SEED OPENER, BALL BEARING
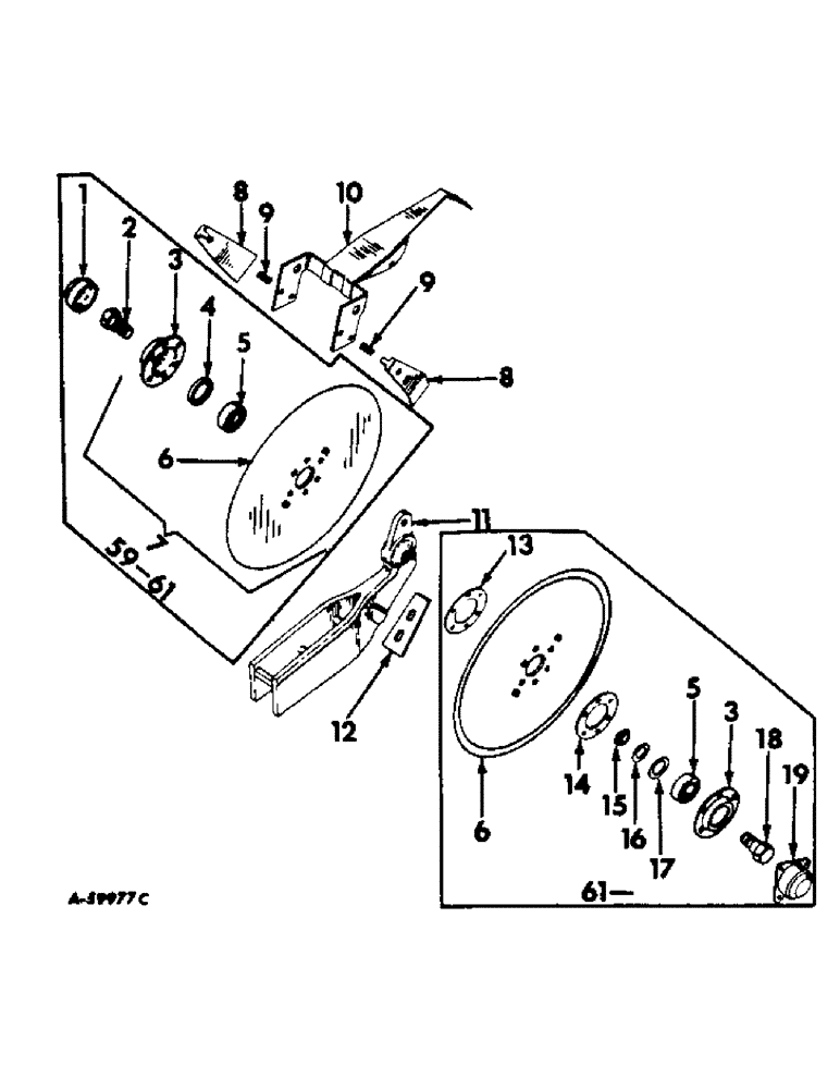
3
2
11
4
7
59
1
17
8
9
12
10
5
9
61
6
3
13
16
8
5
61
18
15
14
19
6
FIT
1:1
100%

Артикул

Название

Примечание

Количество

1

603012R1

DUST CAP

CAP, bearing housing dirt, for 249, 250, 449, 450, 649 and 650 planters

1шт.

2

524673R1

BOLT,5/8" - 11 x 1 1/8", LH Thd

disk bearing, LH thread, for 249, 250, 449, 450 649, and 650 planters

1шт.

2

524674R1

BOLT,5/8" - 11 x 1 1/8", RH Thd

disk bearing, RH thread, for 249, 250, 449, 450, 649 and 650 planters

1шт.

3

602989R1

FLANGE,1.41" ID x 3.25" OD x 0.63"

HOUSING, disk bearing

1шт.

SCREW, 1/4 x 7/16 C-Z cap

6шт.

WASHER, 1/4 C-Z lock

6шт.

4

524675R1

WASHER

SPACER, opener disk, for 249, 250, 449, 450, 649 and 650 planters

1шт.

5

465004R91

BEARING ASSY,0.6693" ID x 1.5748" OD x 0.4724"

ball, for 249A, 250A, 449A and 450A planters

1шт.

5

133214R91

BEARING LOCK NUT

for 249, 250, 449, 450, 649 and 650 planters

1шт.

6

524676R1

DISK HARROW

DISK, opener

1шт.

7

462506R91

DISC

DISK ASSEMBLY, opener, for 249, 250, 449, 450, 649 and 650 planters

1шт.

8

464475R1

SUPPORT

SCRAPER, outside, for 249A, 250A, 449A and 450A planters

1шт.

8

462561R1

SCRAPER, outside, for 249, 250, 449, 450, 649 and 650 planters

1шт.

9

6633

SPRING

scraper

1шт.

10

464493R91

SHIELD, double disk, for 249A, 250A, 449A and 450A planters

1шт.

10

462557R11

SHIELD, double disk, for 249, 250, 449, 450, 649 and 650 planters

1шт.

BOLT W/NUT, 5/16 x 1 crg

1шт.

BOLT W/NUT, 5/16 x 1-1/2 mach

2шт.

WASHER, 5/16 lock

1шт.

WASHER, 11/32 x 3/4 x 16 ga

2шт.

11

464474R1

RUNNER, double disk, for 249A, 250A, 449A and 450A planters

1шт.

11

462562R1

RUNNER

double disk, for 249, 250, 449, 450, 649 and 650 planters

1шт.

BOLT W/NUT, 7/16 x 4-1/2 sq-hd mach

1шт.

615132R1

WASHER

21/32 x 1 x 22 ga, on bearing bolt between bearing and runner

1шт.

12

464476R1

SCRAPER, inside, for 249A, 250A, 449A and 450A planters

1шт.

12

462560R1

SCRAPER, inside, for 249, 250, 449, 450, 649 and 650 planters

1шт.

BOLT, 3/8 x 3/4 mach

1шт.

WASHER, 3/8 lock

1шт.

WASHER, 13/32 x 1 x 16 ga

1шт.

13

464480R1

WASHER

WASHER, reinforcement, for 249A, 250A, 449A and 450A planters

1шт.

14

602992R1

GASKET

disk, for 249A, 250A, 449A and 450A planters

1шт.

15

602988R1

SPACER

seal retainer, for 249A, 250A, 449A and 450A planters

1шт.

16

464628R1

SEAL

for 249A, 250A, 449A and 450A planters

1шт.

17

602994R1

FLANGE

for 249A, 250A, 449A and 450A planters

1шт.

18

464481R1

BOLT (SPREADER),Hex, 5/8" - 11 x 1.44", LH

BOLT, disk bearing, LH thread, for 249A, 250A, 449A and 450A planters

1шт.

18

464482R1

BOLT (SPREADER),Hex, 5/8" - 11 x 1.44", RH

BOLT, disk bearing, RH thread, for 249A, 250A, 449A and 450A planters

1шт.

19

464483R1

CYLINDER END CAP

CAP, bearing housing dirt, for 249A, 250A, 449A and 450A planters

1шт.

Выбрано товаров: 37