Запчасти Case IH 488 (F-21[A]) - RUNNER WINGS AND DIRT SHIELDS

Схема запчастей Case IH 488 - (F-21[A]) - RUNNER WINGS AND DIRT SHIELDS
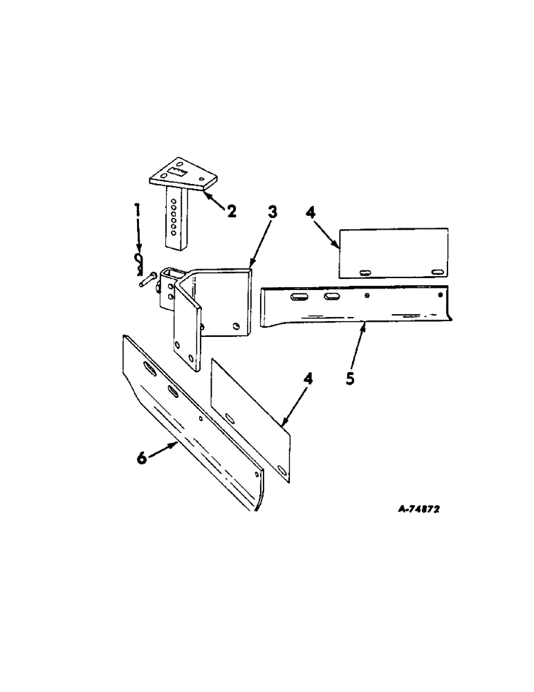
4
5
3
2
4
1
6
FIT
1:1
100%

Артикул

Название

Примечание

Количество

1

473443R1

COTTER PIN

quick-attachable cotter, in header pin

1шт.

2

469323R11

STANDARD

1шт.

BOLT W/NUT, 7/16 x 1-1/2 mach

3шт.

WASHER, 7/16 lock

3шт.

WASHER, 15/32 x 1 x 16 ga

3шт.

3

469320R91

BRACKET

W/SET SCREW, wing support

1шт.

Q1250

PIN

1/4 x 1-7/8 dld-std-hd

1шт.

110452

SET SCREW

1/2 x 1-1/2 cup-pt sq-hd set

1шт.

WASHER, 9/32 x 3/4 x 16 ga

1шт.

4

469327R1

SHIELD

dirt

2шт.

BOLT W/NUT, 5/16 x 1 mach

4шт.

WASHER, 5/16 lock

4шт.

WASHER, 11/32 x 1 x 16 ga

4шт.

5

469326R1

RUNNER

WING, runner RH

1шт.

BOLT W/NUT, 1/2 x 1-1/2 crg

2шт.

WASHER, 1/2 lock

2шт.

6

469325R1

RUNNER

WING, runner LH

1шт.

BOLT W/NUT, 1/2 x 1-1/2 crg

2шт.

WASHER, 1/2 lock

2шт.

Выбрано товаров: 19