Запчасти Case IH 1200 (A.50.A[23]) - ELECTRICAL - ADVANCED FARMING SYSTEMS CDU/ECDU MOUNTING, MX MAGNUM TRACTOR WITH TOWER MOUNTING BRACKET A - Distribution Systems

Схема запчастей Case IH 1200 - (A.50.A[23]) - ELECTRICAL - ADVANCED FARMING SYSTEMS CDU/ECDU MOUNTING, MX MAGNUM TRACTOR WITH TOWER MOUNTING BRACKET A - Distribution Systems
7
3
8
5
6
9
10
2
12
1
11
4
FIT
1:1
100%

Артикул

Название

Примечание

Количество

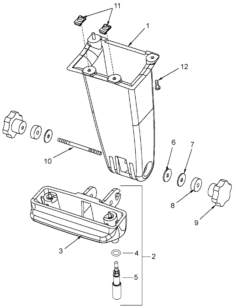
1

307476A3

SUPPORT

mount, CDU body

1шт.

2

349024A1

BRACKET

CDU/ECDU mounting

1шт.

3

297126A2

BRACKET

CDU/ECDU mounting

1шт.

4

49861

O-RING,0.103" Thk x 0.362" ID, -110, Cl 5, 75 Duro

2шт.

5

349023A1

SCREW

retractable

2шт.

6

319725A1

RUBBER WASHER

25 mm od x 7 mm id x 2 mm thick

1шт.

7

86624183

WASHER,6.6mm ID x 25mm OD x 1.6mm Thk

2шт.

8

321235A1

SPACER

CDU/ECDU bracket mounting

2шт.

9

319729A1

KNOB

M6-1 female brass insert

2шт.

10

323463A1

STUD

M6 - 1, threaded both ends

1шт.

11

833-40305

SPRING NUT,M5, U

2шт.

12

840-1516

SCREW,Pan, M5 x 16mm, Cl 4.8

4шт.

Выбрано товаров: 0