Запчасти Case IH 1200 (A.50.A[28]) - ELECTRICAL - EARLY RISER II & III - TRANSPORT LIGHTING LAYOUT A - Distribution Systems

Схема запчастей Case IH 1200 - (A.50.A[28]) - ELECTRICAL - EARLY RISER II & III - TRANSPORT LIGHTING LAYOUT A - Distribution Systems
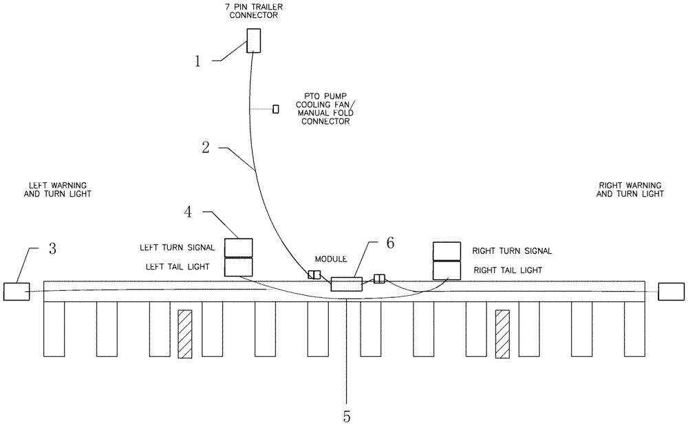
4
6
5
3
1
2
FIT
1:1
100%

Артикул

Название

Примечание

Количество

1

121646C1

TERMINAL CONNECTOR,Female

metal 7c plug c/w cable protector

1шт.

2

405215A1

HARNESS

lighting, 1200 planter, hitch, Years: -31-DEC-02, Serial Range: -CBJ0254173

1шт.

2

87414571

HARNESS

lighting, 1200 trailing planter, Years: 01-JAN-03-01-AUG-05, Start Serial: CBJ0254174

1шт.

2

87503593

CABLE

lighting, 1200 trailing planter, Start Year: 01-AUG-05

1шт.

2

431285A1

HARNESS

light (trailing planter), Years: -31-DEC-02, Serial Range: -CBJ0254173

1шт.

2

87414572

HARNESS

lighting, 1200 rigid and stacker planters, Start Year: 01-JAN-03, Start Serial: CBJ0254174

1шт.

2

401326A1

HARNESS

endwise transport light -, Serial Range: tractor-module

1шт.

3

87564157

WARNING LIGHT

assembly amber

2шт.

4

307122A1

LAMP

stop, tail and turn

2шт.

5

405214A1

HARNESS

lighting, 1200 planter, bar

1шт.

5

401327A1

HARNESS

endwise transport light -, Serial Range: module-planter

1шт.

6

402333A1

CONTROL

module, transport lighting

1шт.

Выбрано товаров: 12