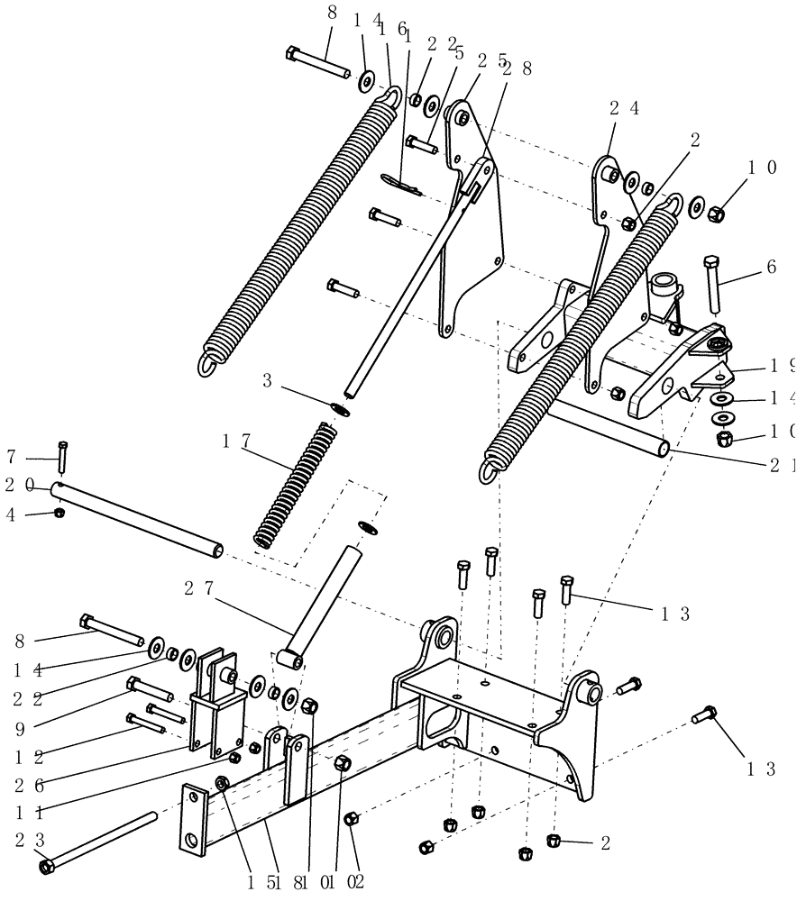
Запчасти Case IH 1200 (A.10.A[07]) - MARKER HINGE ASSEMBLY - MOUNTED STACKER ASN CBJ036001 A - Distribution Systems

Схема запчастей Case IH 1200 - (A.10.A[07]) - MARKER HINGE ASSEMBLY - MOUNTED STACKER ASN CBJ036001 A - Distribution Systems
28
21
6
15
19
1
9
25
17
20
3
10
8
16
22
14
10
11
10
14
27
2
2
18
14
4
22
7
24
2
13
26
23
13
10
5
12
8
FIT
1:1
100%

Артикул

Название

Примечание

Количество

1

3682

HAIR PIN COTTER

.243" x 4"

1шт.

2

85700693

NUT,5/8" - 11, Gr C

9шт.

3

87366

WASHER,0.94" ID x 1.75" OD x 0.13" Thk

2шт.

4

280980

NUT,7/16"-14, GC

1шт.

5

280233

BOLT,Hex, 5/8" - 11 x 2 1/2", Gr 8

3шт.

6

88421

BOLT,Hex, 3/4" - 10 x 5", Gr 5

1шт.

7

88604

BOLT,Hex, 7/16" - 14 x 2 1/2", Gr 5

1шт.

8

280120

BOLT,Hex, 3/4" - 10 x 6", Gr 5

2шт.

9

280210

BOLT,Hex, 3/4"-10 x 4", G5

1шт.

10

280375

NUT,3/4"-10, GC

4шт.

11

86992215

LOCK NUT,1/2"-13, GC

2шт.

12

9637417

BOLT,Hex, 1/2" - 13 x 3 1/2", Gr 5

2шт.

13

86505999

BOLT,Hex, 5/8" - 11 x 2", Gr 5

6шт.

14

86511191

WASHER,0.81" ID x 2" OD x 0.15" Thk

10шт.

15

86632557

JAM NUT,Jam, 3/4"-10, G5

1шт.

16

87505301

TENSION SPRING

.406 x 2 3/8" x 28 1/2"

2шт.

17

87505302

SPRING

C 5/16" wire x 1 5/8" od x 12 1/2" long

1шт.

18

87628414

BRACKET

marker RH

1шт.

Shown

1шт.

18

87628405

BRACKET

marker LH

1шт.

Not Shown

1шт.

19

87637982

HINGE

marker RH

1шт.

Shown

1шт.

19

87637981

HINGE

marker LH

1шт.

Not Shown

1шт.

20

87661321

PIN

31.75 mm x 458 mm

1шт.

21

TM-132

SPACER

tube, horizontal pivot

1шт.

22

87637989

SPACER

breakaway spring

4шт.

23

TM-158

BOLT

3/4"-8 x 15", full thread

1шт.

24

87628419

MOUNTING PLATE

spring bias RH

1шт.

25

87628420

MOUNTING PLATE

spring bias LH

1шт.

26

87660738

BRACKET

spring bias adjuster

1шт.

27

87660739

TUBE

receiver cushion spring

1шт.

28

87660740

ROD

cushion mount

1шт.

Выбрано товаров: 0