Запчасти Case IH 1200 (A.10.A[08]) - ROW MARKER, 6 ROW NARROW RIGID MOUNTED AND 6 ROW RIGID TRAILING A - Distribution Systems

Схема запчастей Case IH 1200 - (A.10.A[08]) - ROW MARKER, 6 ROW NARROW RIGID MOUNTED AND 6 ROW RIGID TRAILING A - Distribution Systems
6
35
27
18
33
28
41
a.10.a[71]
17
40
30
23
10
19
34
12
9
26
21
37
19
1
38
16
39
11
29
7
8
36
20
32
FIT
1:1
100%

Артикул

Название

Примечание

Количество

1

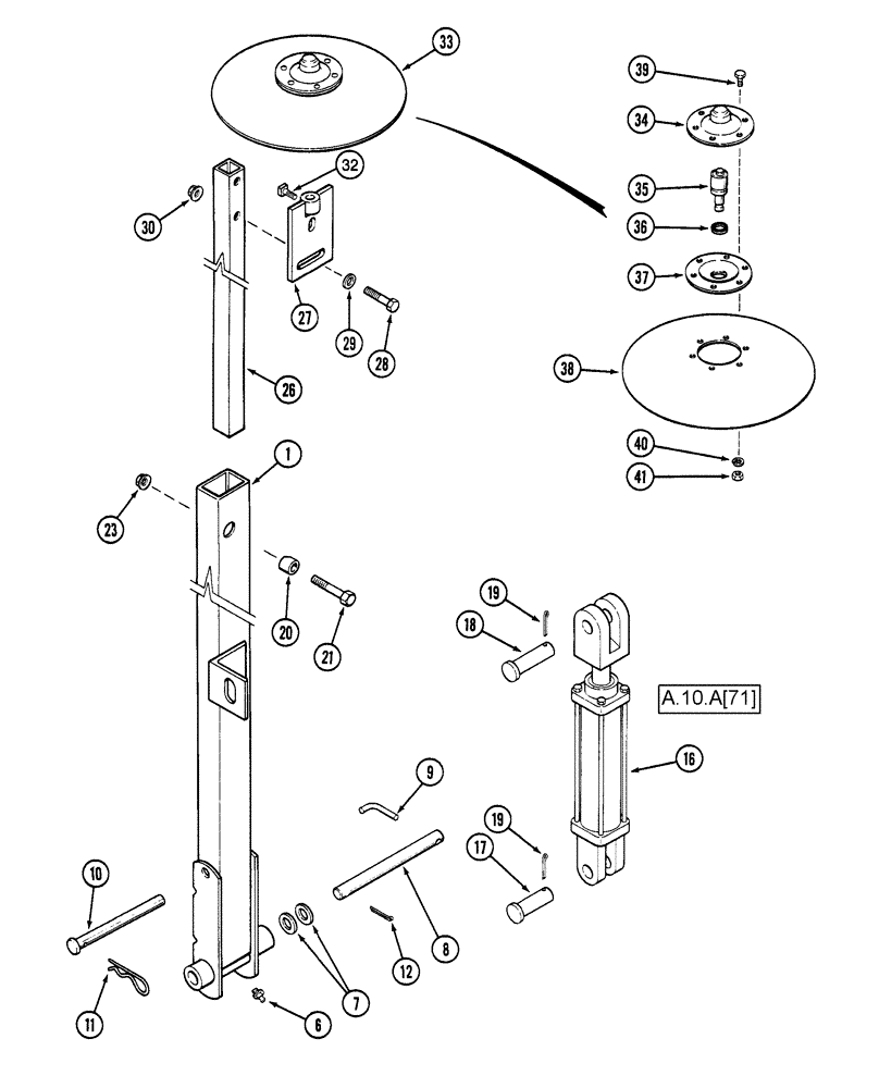
95839C2

TUBE

With Decal

1шт.

Includes 1254154C2

1шт.

2

1254154C2

WARNING DECAL

1шт.

Not Shown

1шт.

6

87414

LUBE NIPPLE,1/4" - 28

1шт.

7

86624166

WASHER,0.91" ID x 1.5" OD x 0.06" Thk

1шт.

8

1263878C1

PIVOT PIN

22 mm x 242 mm

1шт.

9

813175C2

LOCK PIN,9.5mm OD

pivot, "L"

1шт.

10

1263946C1

HEADED PIN

15 mm x 215 mm

1шт.

11

136-251

HAIR PIN COTTER,Int, 7/16" x .177"

1шт.

12

87402

COTTER PIN,1/4" OD x 1-1/4" OAL

1шт.

16

1272484C92

HYDRAULIC CYLINDER

1 1/4" x 8", Years: -06-JUL-01

1шт.

16

414701A1

HYDRAULIC CYLINDER

2" x 8" 3000 psi without pins, Years: 07-JUL-01-12-JAN-03

1шт.

16

86989787

HYDRAULIC CYLINDER

2" x 8", 3000 psi, single acting, no pins, Years: 15-JUN-03-30-JAN-05, Serial Range: CBJ0018023-CBJ022746

1шт.

16

87500930

HYDRAULIC CYLINDER,28.57mm Rod, 204.72mm Stroke

2" x 8", single acting, Start Year: 01-FEB-05, Start Serial: CBJ022747

1шт.

17

86624100

HEADED PIN,1" x 3", G2

1шт.

18

810751C1

PIN

headed 1" x 3 1/2"

1шт.

19

80753

COTTER PIN,1/4" x 1 1/2"

2шт.

20

89200C1

TUBE,13.5 mm ID x 31.7 mm OD x 20 mm L

Marker Clamp

1шт.

21

87339

BOLT,Hex, 1/2" - 13 x 3", Gr 5

1шт.

23

86512371

SERRATED NUT,Flg, USR, 1/2"-13

1шт.

26

1263882C1

TUBE,1060 mm Length

Outer, Marker

1шт.

27

1279601C1

LARGE PLATE

PLATE, LARGE disc adjusting

1шт.

28

87972

BOLT,Hex, 1/2" - 13 x 2 1/2", Gr 5

2шт.

29

87364

WASHER,0.53" ID x 1.06" OD x 0.1" Thk

2шт.

30

86512371

SERRATED NUT,Flg, USR, 1/2"-13

2шт.

32

87616

SET SCREW,3/8" - 16 x 3/4"

1шт.

33

1264358C1

DISC,13"

assembly, marker

1шт.

34

478036R1

BEARING HOUSING,30.023 mm ID x 69 mm OD x 19.3 mm

disk bearing outer

1шт.

35

478034R91

BEARING ASSY,30mm OD x 82.53mm L

ball - ND

1шт.

36

480679R1

WASHER

dirt seal felt

1шт.

37

478035R1

BEARING HOUSING,109 mm OD x 19.3 mm

disk bearing inner

1шт.

38

469372R1

DISC,13"

335.1 mm x 2.5 mm 6-hole marker/covering

1шт.

39

87872

BOLT,Hex, 5/16" - 18 x 3/4", Gr 5

6шт.

40

80681

LOCK WASHER,5/16"

6шт.

41

9635082

NUT,5/16" - 18, Gr 5

6шт.

Выбрано товаров: 0