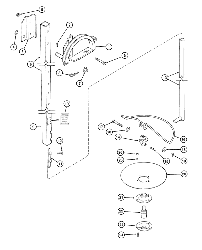
Запчасти Case IH 1200 (A.10.A[09]) - ROW MARKER OUTER SECTION, 6 ROW WIDE AND 8 ROW RIGID MOUNTED AND 8 ROW RIGID TRAILING MACHINES A - Distribution Systems

Схема запчастей Case IH 1200 - (A.10.A[09]) - ROW MARKER OUTER SECTION, 6 ROW WIDE AND 8 ROW RIGID MOUNTED AND 8 ROW RIGID TRAILING MACHINES A - Distribution Systems
1
7
2
5
14
16
10
19
12
23
18
18
22
11
3
15
6
8
9
9
17
26
20
24
21
13
25
4
FIT
1:1
100%

Артикул

Название

Примечание

Количество

1

100219C1

PULLEY

bracket LH

1шт.

Not Shown

1шт.

1

100220C1

PULLEY

bracket RH

1шт.

Shown

1шт.

2

87402

COTTER PIN,1/4" OD x 1-1/4" OAL

2шт.

3

100222C1

SUPPORT

plate, marker bracket LH

1шт.

Shown

1шт.

3

113041C1

SUPPORT

plate, marker bracket RH

1шт.

Not Shown

1шт.

4

86624165

WASHER,0.91" ID x 1.25" OD x 0.06" Thk

2шт.

5

88043

BOLT,Hex, 1/2" - 13 x 3 1/4", Gr 5

4шт.

6

86512371

SERRATED NUT,Flg, USR, 1/2"-13

4шт.

7

86624065

HEADED PIN,3/4" x 7/8", G2

2шт.

8

87327559

COTTER PIN

9/64" x 2 15/16"

2шт.

9

1254187C94

TUBE

with decal, marker

2шт.

8 Row Narrow

1шт.

6 Row Wide

1шт.

9

1254188C93

TUBE

with decal, marker

2шт.

8 Row Wide

1шт.

10

1254154C2

WARNING DECAL

1шт.

11

1264424C1

STOP

Block, Marker

2шт.

12

86512815

SET SCREW,Sq Hd, 1/2" - 13 x 1 1/4", Cup Pt

set 1/2"-13 x 1 1/4" sh cp

4шт.

13

125901C1

TUBE

Inner, Marker

2шт.

8 Row Narrow and 8 Row Wide

1шт.

6 Row Wide

1шт.

13

119950C1

TUBE

assembly

2шт.

8 Row Wide

1шт.

14

97741C1

PIVOT

clamp axle

2шт.

15

87616

SET SCREW,3/8" - 16 x 3/4"

2шт.

15

86542823

SET SCREW,Sq Hd, 3/8"-16 x 7/8", Cup Pt

2шт.

16

113223C1

GUARD

disk

2шт.

17

87339

BOLT,Hex, 1/2" - 13 x 3", Gr 5

2шт.

18

80700

WASHER,0.56" ID x 1.38" OD x 0.11" Thk

4шт.

19

86992215

LOCK NUT,1/2"-13, GC

2шт.

20

1337981C2

DISC

assembly - marker

2шт.

20

31283R1

DISC,13", FLAT CENTER

Marker and Covering

1шт.

21

472020R1

BEARING HOUSING,19.66 mm ID x 38.125 mm OD

Inner Disc

1шт.

22

1980505C1

BALL BEARING,38.1mm OD x 90.91mm L

Koyo

1шт.

23

472021R1

HOUSING,38.125 mm ID x 76.2 mm OD

Outer Disc

1шт.

24

9707580

BOLT,Hex, 1/4" - 20 x 3/4", Gr 5, Full Thd

10шт.

25

80682

LOCK WASHER,1/4"

10шт.

26

7770

NUT,Hex, 1/4 - 20, Cl 5

10шт.

Выбрано товаров: 0