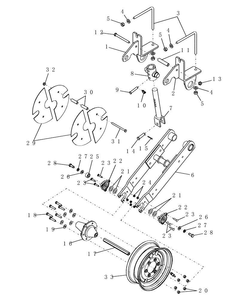
Запчасти Case IH 1200 (D.20.B[03]) - CARRYING WHEELS - DUAL ARM, MOUNTED RIGID AND STACKER MACHINES (BSN CBJ036114) D - Travel

Схема запчастей Case IH 1200 - (D.20.B[03]) - CARRYING WHEELS - DUAL ARM, MOUNTED RIGID AND STACKER MACHINES (BSN CBJ036114) D - Travel
26
29
22
23
33
23
5
3
1
27
14
20
23
17
15
4
9
32
21
30
13
24
8
5
21
31
16
12
19
18
27
4
28
4
23
7
28
2
5
11
22
6
10
26
25
FIT
1:1
100%

Артикул

Название

Примечание

Количество

0

364387A1

WHEEL

center, carrying

1шт.

1

431571A1

BRACKET

mounting LH

1шт.

2

431572A1

BRACKET

wheel mounting RH

1шт.

3

141025C3

BOLT

L 3/4"-10

2шт.

3

192263A1

SPECIAL BOLT,V, 3/4" - 10, 7" x 7"

V 3/4"-10 x 7"

2шт.

4

86624163

WASHER,0.81" ID x 1.5" OD x 0.22" Thk

4шт.

5

280954

NUT,3/4"-10, G5

4шт.

6

294618A3

FRAME

assembly drive wheel

1шт.

7

366832A1

ARM

carrying wheel yoke

1шт.

8

366863A1

BRACKET

trunnion

1шт.

9

86624193

HEADED PIN,5/8" x 3 1/2", G5

1шт.

10

A33497

LINCH PIN,4.76mm OD Pin

Klik

1шт.

11

366872A1

SPACER

.824" id x 1.05" od

1шт.

12

86622983

BOLT,Hex, 5/8" - 11 x 6 1/2", Gr 8

1шт.

13

86521608

FLANGE NUT,Flg, 5/8"-11, G5

1шт.

14

86624067

HEADED PIN,3/4" x 3", G5

1шт.

15

80753

COTTER PIN,1/4" x 1 1/2"

1шт.

16

293985A2

HUB

RGH (8R70CM)

1шт.

17

293986A1

BAR

axle wheel

1шт.

18

86622972

BOLT,Spcl, Hex, 1/2" - 20 x 2 1/4", Gr 8, Full Thd

6шт.

19

80700

WASHER,0.56" ID x 1.38" OD x 0.11" Thk

6шт.

20

F23214

WHEEL NUT

hub wheel - h517 & h617

6шт.

21

86624175

WASHER,1.16" ID x 2" OD x 0.06" Thk

4шт.

22

233254A1

BEARING ASSY,25.55mm ID

with 3 bolt flange

2шт.

23

86508775

CARRIAGE BOLT,Sq Nk, 3/8" - 16 x 1 3/4", Gr 5

6шт.

24

247780

SERRATED NUT,Flg, USR, 3/8"-16

6шт.

25

1277980C1

SPACER

hex sprocket 27/32" long

1шт.

26

86624189

WASHER,0.66" ID x 1.31" OD x 0.15" Thk

2шт.

27

12034871

WASHER

5/8"

2шт.

28

86622997

BOLT,Hex, 5/8" - 11 x 1 1/2", Gr 5, Full Thd

2шт.

29

1264480C2

COVER

wheel

4шт.

30

906060R1

SPACER,1/2" Pipe x 2.775"

8шт.

31

9627857

BOLT,Hex, 1/2" - 13 x 6 1/2", Gr 5

4шт.

32

86512371

SERRATED NUT,Flg, USR, 1/2"-13

4шт.

33

349203A1

WHEEL

15 X 5 6H with valve guard

1шт.

Выбрано товаров: 0