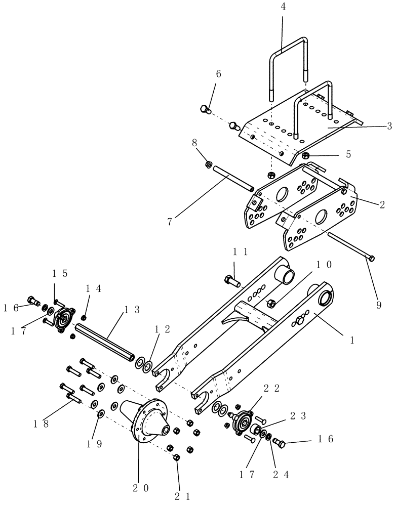
Запчасти Case IH 1200 (D.20.B[08]) - CARRYING WHEELS - RH 12RN VR (ASN CBJ036115) D - Travel

Схема запчастей Case IH 1200 - (D.20.B[08]) - CARRYING WHEELS - RH 12RN VR (ASN CBJ036115) D - Travel
17
13
20
18
11
5
15
9
23
1
2
12
6
16
17
4
24
22
14
10
3
21
7
19
8
16
FIT
1:1
100%

Артикул

Название

Примечание

Количество

1

87565531

FRAME

rail, dual arm wheel

1шт.

2

87703810

PLATE

side mount adj

2шт.

3

87703812

PLATE

top narrow mount adj

1шт.

4

1250813C1

U-BOLT

us 5/8"-11 x 7" x 8 1/4", G5, 2" thread

2шт.

5

280374

NUT,Hex, 5/8" - 11, Gr 5

8шт.

6

88062

BOLT,Hex, 5/8" - 11 x 1 1/2", Gr 8

4шт.

7

87548228

SPACER

wheel mount

2шт.

8

86512371

SERRATED NUT,Flg, USR, 1/2"-13

2шт.

9

413-8160

BOLT,Hex, 1/2" - 13 x 10", Gr 5

2шт.

10

86518194

NUT,3/4"-10, G8

2шт.

11

426-1232

BOLT,Hex, 3/4" - 10 x 2", Gr 8

2шт.

12

495-81191

WASHER,1 5/32" x 2" x .060"

4шт.

13

293986A1

BAR

axle wheel

1шт.

14

247780

SERRATED NUT,Flg, USR, 3/8"-16

6шт.

15

86508775

CARRIAGE BOLT,Sq Nk, 3/8" - 16 x 1 3/4", Gr 5

6шт.

16

86622997

BOLT,Hex, 5/8" - 11 x 1 1/2", Gr 5, Full Thd

2шт.

17

86624189

WASHER,0.66" ID x 1.31" OD x 0.15" Thk

2шт.

18

86622972

BOLT,Spcl, Hex, 1/2" - 20 x 2 1/4", Gr 8, Full Thd

6шт.

19

80700

WASHER,0.56" ID x 1.38" OD x 0.11" Thk

6шт.

20

293985A2

HUB

RGH (8R70CM)

1шт.

21

F23214

WHEEL NUT

hub wheel - h517 & h617

6шт.

22

233254A1

BEARING ASSY,25.55mm ID

with 3 bolt flange

2шт.

23

1277980C1

SPACER

hex sprocket 27/32" long

1шт.

24

12034871

WASHER

5/8"

2шт.

Выбрано товаров: 0