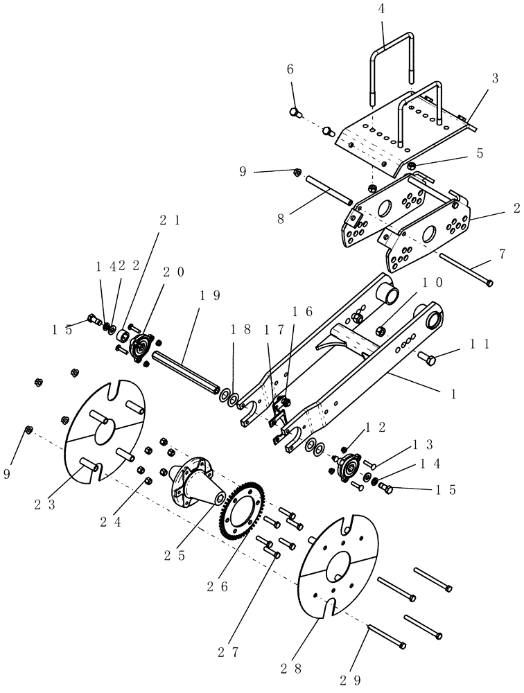
Запчасти Case IH 1200 (D.20.B[09]) - CARRYING WHEELS - LH 12RN VR WITH SPEED SENSOR (ASN CBJ036115) D - Travel

Схема запчастей Case IH 1200 - (D.20.B[09]) - CARRYING WHEELS - LH 12RN VR WITH SPEED SENSOR (ASN CBJ036115) D - Travel
19
1
10
15
4
28
9
14
15
3
20
7
18
24
23
16
25
21
6
2
29
26
22
5
9
27
13
8
17
12
11
14
FIT
1:1
100%

Артикул

Название

Примечание

Количество

1

87565531

FRAME

rail, dual arm wheel

1шт.

2

87703810

PLATE

side mount adj

2шт.

3

87703812

PLATE

top narrow mount adj

1шт.

4

1250813C1

U-BOLT

us 5/8"-11 x 7" x 8 1/4", G5, 2" thread

2шт.

5

280374

NUT,Hex, 5/8" - 11, Gr 5

8шт.

6

88062

BOLT,Hex, 5/8" - 11 x 1 1/2", Gr 8

4шт.

7

413-8160

BOLT,Hex, 1/2" - 13 x 10", Gr 5

2шт.

8

87548228

SPACER

wheel mount

2шт.

9

86512371

SERRATED NUT,Flg, USR, 1/2"-13

6шт.

10

86518194

NUT,3/4"-10, G8

2шт.

11

426-1232

BOLT,Hex, 3/4" - 10 x 2", Gr 8

2шт.

12

247780

SERRATED NUT,Flg, USR, 3/8"-16

6шт.

13

86508775

CARRIAGE BOLT,Sq Nk, 3/8" - 16 x 1 3/4", Gr 5

6шт.

14

12034871

WASHER

5/8"

2шт.

15

86622997

BOLT,Hex, 5/8" - 11 x 1 1/2", Gr 5, Full Thd

2шт.

16

324049A1

SENSOR

speed hall

1шт.

17

367004A3

BRACKET

wheel sensor mount

1шт.

18

495-81191

WASHER,1 5/32" x 2" x .060"

4шт.

19

293986A1

BAR

axle wheel

1шт.

20

233254A1

BEARING ASSY,25.55mm ID

with 3 bolt flange

2шт.

21

1277980C1

SPACER

hex sprocket 27/32" long

1шт.

22

86624189

WASHER,0.66" ID x 1.31" OD x 0.15" Thk

2шт.

23

906060R1

SPACER,1/2" Pipe x 2.775"

8шт.

24

F23214

WHEEL NUT

hub wheel - h517 & h617

6шт.

25

293985A2

HUB

RGH (8R70CM)

1шт.

26

373803A1

SPROCKET

wheel speed sensor

1шт.

27

86622972

BOLT,Spcl, Hex, 1/2" - 20 x 2 1/4", Gr 8, Full Thd

6шт.

28

356929A1

COVER

wheel, 6 row trailing

2шт.

29

9627857

BOLT,Hex, 1/2" - 13 x 6 1/2", Gr 5

4шт.

30

86977690

LOCK WASHER,Ext Tooth, 5/8"

2шт.

Not Shown - for use with sensor 324049A1

1шт.

Выбрано товаров: 0