Запчасти Case IH 1200 (D.20.B[10]) - CARRYING WHEELS - LH 8RW 16RN WITH SPEED SENSOR (ASN CBJ036115) D - Travel

Схема запчастей Case IH 1200 - (D.20.B[10]) - CARRYING WHEELS - LH 8RW 16RN WITH SPEED SENSOR (ASN CBJ036115) D - Travel
25
3
9
8
12
23
27
2
4
13
5
18
10
15
17
29
26
14
22
20
7
1
19
7
21
24
28
6
30
11
16
FIT
1:1
100%

Артикул

Название

Примечание

Количество

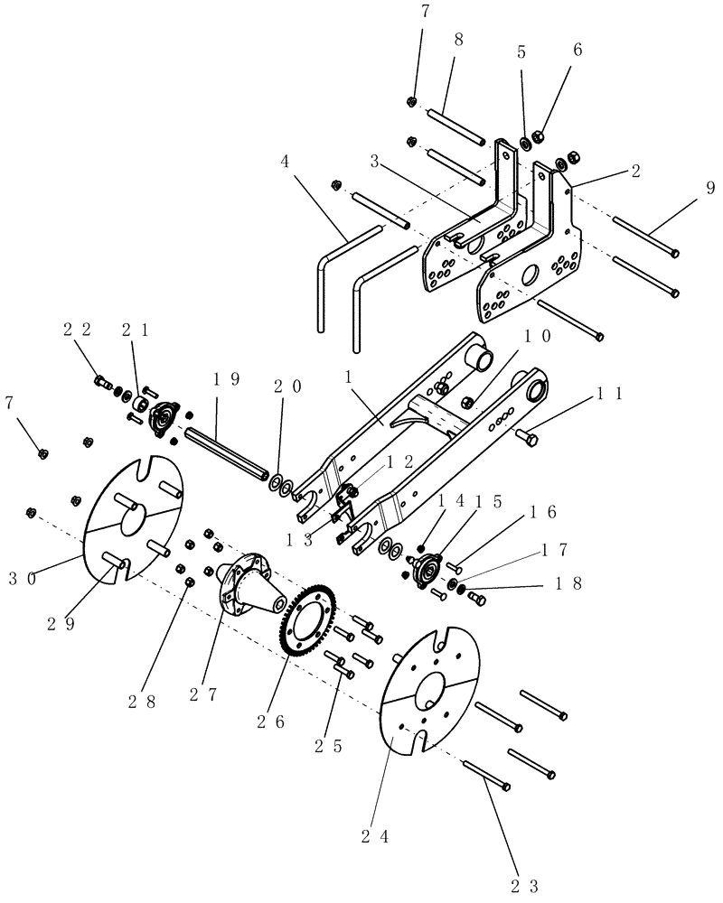
1

87565531

FRAME

rail, dual arm wheel

1шт.

2

87565528

BRACKET

wheel mount RH

2шт.

3

87565526

BRACKET

wheel mount LH

2шт.

4

141025C3

BOLT

L 3/4"-10

2шт.

4

192263A1

SPECIAL BOLT,V, 3/4" - 10, 7" x 7"

V 3/4"-10 x 7"

2шт.

5

86624163

WASHER,0.81" ID x 1.5" OD x 0.22" Thk

4шт.

6

280954

NUT,3/4"-10, G5

4шт.

7

86512371

SERRATED NUT,Flg, USR, 1/2"-13

7шт.

8

87548228

SPACER

wheel mount

3шт.

9

413-8160

BOLT,Hex, 1/2" - 13 x 10", Gr 5

3шт.

10

86518194

NUT,3/4"-10, G8

2шт.

11

426-1232

BOLT,Hex, 3/4" - 10 x 2", Gr 8

2шт.

12

324049A1

SENSOR

speed hall

1шт.

13

367004A3

BRACKET

wheel sensor mount

1шт.

14

247780

SERRATED NUT,Flg, USR, 3/8"-16

6шт.

15

233254A1

BEARING ASSY,25.55mm ID

with 3 bolt flange

2шт.

16

86508775

CARRIAGE BOLT,Sq Nk, 3/8" - 16 x 1 3/4", Gr 5

6шт.

17

86624189

WASHER,0.66" ID x 1.31" OD x 0.15" Thk

2шт.

18

12034871

WASHER

5/8"

2шт.

19

293986A1

BAR

axle wheel

1шт.

20

495-81191

WASHER,1 5/32" x 2" x .060"

4шт.

21

1277980C1

SPACER

hex sprocket 27/32" long

1шт.

22

86622997

BOLT,Hex, 5/8" - 11 x 1 1/2", Gr 5, Full Thd

2шт.

23

9627857

BOLT,Hex, 1/2" - 13 x 6 1/2", Gr 5

4шт.

24

356929A1

COVER

wheel, 6 row trailing

2шт.

25

86622972

BOLT,Spcl, Hex, 1/2" - 20 x 2 1/4", Gr 8, Full Thd

6шт.

26

373803A1

SPROCKET

wheel speed sensor

1шт.

27

293985A2

HUB

RGH (8R70CM)

1шт.

28

F23214

WHEEL NUT

hub wheel - h517 & h617

6шт.

29

906060R1

SPACER,1/2" Pipe x 2.775"

8шт.

30

1264480C2

COVER

wheel

2шт.

31

86977690

LOCK WASHER,Ext Tooth, 5/8"

2шт.

Not Shown - for use with sensor 324049A1

1шт.

Выбрано товаров: 0