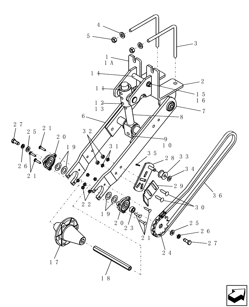
Запчасти Case IH 1200 (D.20.B[15]) - DRIVE WHEELS - DUAL ARM, LH MOUNTED RIGID AND STACKER (BSN CBJ036114) D - Travel

Схема запчастей Case IH 1200 - (D.20.B[15]) - DRIVE WHEELS - DUAL ARM, LH MOUNTED RIGID AND STACKER (BSN CBJ036114) D - Travel
26
14
20
13
18
17
5
33
35
1
21
20
25
7
21
19
15
31
9
12
32
22
27
10
30
4
29
8
36
1a
26
25
28
27
2
23
16
24
3
6
34
21
19
11
FIT
1:1
100%

Артикул

Название

Примечание

Количество

0

364386A1

WHEEL

center, drive LH

1шт.

1

431572A1

BRACKET

wheel mounting RH

1шт.

36" Spacing

1шт.

All Rigid Mounted, Rigid Trailing and Mounted Stacker Machines Except 12 Row Wide Mounted Stacker

1шт.

1a

386110A1

BRACKET

wheel mounting RH

1шт.

12 Row Wide

1шт.

36" Spacing

1шт.

2

431571A1

BRACKET

mounting LH

1шт.

3

141025C3

BOLT

L 3/4"-10

2шт.

3

192263A1

SPECIAL BOLT,V, 3/4" - 10, 7" x 7"

V 3/4"-10 x 7"

2шт.

4

86624163

WASHER,0.81" ID x 1.5" OD x 0.22" Thk

4шт.

5

280954

NUT,3/4"-10, G5

4шт.

6

294618A3

FRAME

assembly drive wheel

1шт.

7

134181C92

BALL BEARING,2.125" OD x 0.046"

ball, 7/8" hex bore

1шт.

8

366832A1

ARM

carrying wheel yoke

1шт.

9

86624067

HEADED PIN,3/4" x 3", G5

1шт.

10

80753

COTTER PIN,1/4" x 1 1/2"

1шт.

11

366863A1

BRACKET

trunnion

1шт.

12

86624193

HEADED PIN,5/8" x 3 1/2", G5

1шт.

13

A33497

LINCH PIN,4.76mm OD Pin

Klik

1шт.

14

366872A1

SPACER

.824" id x 1.05" od

1шт.

15

86622983

BOLT,Hex, 5/8" - 11 x 6 1/2", Gr 8

1шт.

16

86977731

FLANGE NUT,Hex Serr, 5/8" - 11, Gr 5

Flg, USR, 5/8"-11

1шт.

17

293985A2

HUB

RGH (8R70CM)

1шт.

18

293986A1

BAR

axle wheel

1шт.

19

86624175

WASHER,1.16" ID x 2" OD x 0.06" Thk

4шт.

20

233254A1

BEARING ASSY,25.55mm ID

with 3 bolt flange

2шт.

21

86508775

CARRIAGE BOLT,Sq Nk, 3/8" - 16 x 1 3/4", Gr 5

6шт.

22

247780

SERRATED NUT,Flg, USR, 3/8"-16

6шт.

23

90376C2

SPACER

sprocket

1шт.

24

1277737C1

SPROCKET

12 tooth

1шт.

25

86624189

WASHER,0.66" ID x 1.31" OD x 0.15" Thk

2шт.

26

12034871

WASHER

5/8"

2шт.

27

86622997

BOLT,Hex, 5/8" - 11 x 1 1/2", Gr 5, Full Thd

2шт.

28

96140C3

PLATE

drive wheel idler

1шт.

29

256695A1

SCRAPER

chain

1шт.

30

280435

CARRIAGE BOLT,Sq Nk, 1/2" - 13 x 2 1/2", Gr 5

2шт.

31

80679

LOCK WASHER,1/20.507 CST ZND

2шт.

32

280431

NUT,1/2"-13, G5

2шт.

33

1277726C1

ROLLER,48mm OD x 34mm L

idler

1шт.

34

87365

WASHER,0.66" ID x 1.31" OD x 0.1" Thk

1шт.

35

394818

COTTER PIN,M5 x 25

1шт.

36

1277740C91

CHAIN (AG)

A2050 main drive (Trail), use 55 links from 569089R91 bulk chain plus 1-1277928C91 connecting link

1шт.

36

569089R91

CHAIN (AG),10' L, 1.0" Pitch

#2050 - 10' d/p roller

1шт.

36

1277928C91

LINK

connecting #2050

1шт.

Выбрано товаров: 0