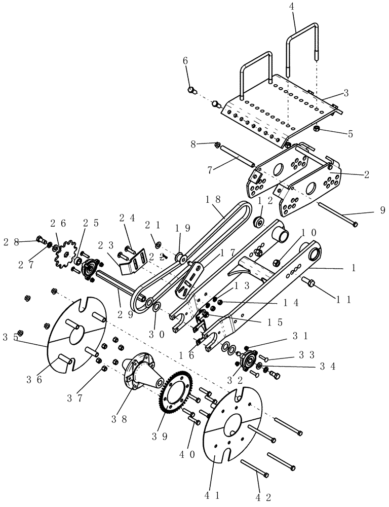
Запчасти Case IH 1200 (D.20.B[20]) - DRIVE WHEELS - LH 12R MECH WITH SPEED SENSOR (ASN CBJ036115) D - Travel

Схема запчастей Case IH 1200 - (D.20.B[20]) - DRIVE WHEELS - LH 12R MECH WITH SPEED SENSOR (ASN CBJ036115) D - Travel
10
3
22
18
7
21
38
4
34
2
1
14
41
19
32
39
30
8
29
15
12
11
17
24
31
27
36
35
9
13
16
28
37
40
25
23
6
33
5
26
42
FIT
1:1
100%

Артикул

Название

Примечание

Количество

1

87565531

FRAME

rail, dual arm wheel

1шт.

2

87703810

PLATE

side mount adj

2шт.

3

87703811

PLATE

top wide mount adj

1шт.

4

1250813C1

U-BOLT

us 5/8"-11 x 7" x 8 1/4", G5, 2" thread

2шт.

5

280374

NUT,Hex, 5/8" - 11, Gr 5

8шт.

6

88062

BOLT,Hex, 5/8" - 11 x 1 1/2", Gr 8

4шт.

7

87548228

SPACER

wheel mount

2шт.

8

86512371

SERRATED NUT,Flg, USR, 1/2"-13

6шт.

9

413-8160

BOLT,Hex, 1/2" - 13 x 10", Gr 5

2шт.

10

86518194

NUT,3/4"-10, G8

2шт.

11

426-1232

BOLT,Hex, 3/4" - 10 x 2", Gr 8

2шт.

12

134181C92

BALL BEARING,2.125" OD x 0.046"

ball, 7/8" hex bore

1шт.

13

80679

LOCK WASHER,1/20.507 CST ZND

2шт.

14

280431

NUT,1/2"-13, G5

2шт.

15

324049A1

SENSOR

speed hall

1шт.

16

367004A3

BRACKET

wheel sensor mount

1шт.

17

96140C3

PLATE

drive wheel idler

1шт.

18

1277740C91

CHAIN (AG)

A2050 main drive (Trail), use 55 links from 569089R91 bulk chain plus 1-1277928C91 connecting link

1шт.

18

569089R91

CHAIN (AG),10' L, 1.0" Pitch

#2050 - 10' d/p roller

1шт.

18

1277928C91

LINK

connecting #2050

1шт.

19

1277726C1

ROLLER,48mm OD x 34mm L

idler

1шт.

21

87365

WASHER,0.66" ID x 1.31" OD x 0.1" Thk

1шт.

22

87397

COTTER PIN,3/16" OD x 1" L

1шт.

23

256695A1

SCRAPER

chain

1шт.

24

280185

CARRIAGE BOLT,Sq Nk, 1/2" - 13 x 2", Gr 5

2шт.

25

90376C2

SPACER

sprocket

1шт.

26

1277737C1

SPROCKET

12 tooth

1шт.

27

12034871

WASHER

5/8"

2шт.

28

86622997

BOLT,Hex, 5/8" - 11 x 1 1/2", Gr 5, Full Thd

2шт.

29

293986A1

BAR

axle wheel

1шт.

30

495-81191

WASHER,1 5/32" x 2" x .060"

4шт.

31

247780

SERRATED NUT,Flg, USR, 3/8"-16

6шт.

32

233254A1

BEARING ASSY,25.55mm ID

with 3 bolt flange

2шт.

33

86508775

CARRIAGE BOLT,Sq Nk, 3/8" - 16 x 1 3/4", Gr 5

6шт.

34

86624189

WASHER,0.66" ID x 1.31" OD x 0.15" Thk

2шт.

35

1264480C2

COVER

wheel

2шт.

36

906060R1

SPACER,1/2" Pipe x 2.775"

8шт.

37

F23214

WHEEL NUT

hub wheel - h517 & h617

6шт.

38

293985A2

HUB

RGH (8R70CM)

1шт.

39

373803A1

SPROCKET

wheel speed sensor

1шт.

40

86622972

BOLT,Spcl, Hex, 1/2" - 20 x 2 1/4", Gr 8, Full Thd

6шт.

41

356929A1

COVER

wheel, 6 row trailing

2шт.

42

9627857

BOLT,Hex, 1/2" - 13 x 6 1/2", Gr 5

4шт.

43

86977690

LOCK WASHER,Ext Tooth, 5/8"

2шт.

Not Shown - for use with sensor 324049A1

1шт.

Выбрано товаров: 0