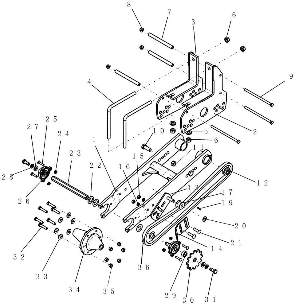
Запчасти Case IH 1200 (D.20.B[23]) - DRIVE WHEELS - RH 6RN 8RN 8RW 16RN MECH (ASN CBJ036115) D - Travel

Схема запчастей Case IH 1200 - (D.20.B[23]) - DRIVE WHEELS - RH 6RN 8RN 8RW 16RN MECH (ASN CBJ036115) D - Travel
5
8
3
22
21
31
15
19
26
2
14
9
20
23
10
6
30
36
17
29
1
33
12
16
27
11
4
34
35
7
6
13
32
24
25
28
FIT
1:1
100%

Артикул

Название

Примечание

Количество

1

87565531

FRAME

rail, dual arm wheel

1шт.

2

87565528

BRACKET

wheel mount RH

1шт.

3

87565526

BRACKET

wheel mount LH

1шт.

4

141025C3

BOLT

L 3/4"-10

2шт.

4

192263A1

SPECIAL BOLT,V, 3/4" - 10, 7" x 7"

V 3/4"-10 x 7"

2шт.

5

86624163

WASHER,0.81" ID x 1.5" OD x 0.22" Thk

4шт.

6

280954

NUT,3/4"-10, G5

4шт.

7

87548228

SPACER

wheel mount

3шт.

8

86512371

SERRATED NUT,Flg, USR, 1/2"-13

3шт.

9

413-8160

BOLT,Hex, 1/2" - 13 x 10", Gr 5

3шт.

10

426-1232

BOLT,Hex, 3/4" - 10 x 2", Gr 8

2шт.

11

86518194

NUT,3/4"-10, G8

2шт.

12

134181C92

BALL BEARING,2.125" OD x 0.046"

ball, 7/8" hex bore

1шт.

13

96140C3

PLATE

drive wheel idler

1шт.

14

256695A1

SCRAPER

chain

1шт.

15

280431

NUT,1/2"-13, G5

2шт.

16

80679

LOCK WASHER,1/20.507 CST ZND

2шт.

17

1277726C1

ROLLER,48mm OD x 34mm L

idler

1шт.

19

87397

COTTER PIN,3/16" OD x 1" L

1шт.

20

87365

WASHER,0.66" ID x 1.31" OD x 0.1" Thk

1шт.

21

280185

CARRIAGE BOLT,Sq Nk, 1/2" - 13 x 2", Gr 5

2шт.

22

495-81191

WASHER,1 5/32" x 2" x .060"

4шт.

23

293986A1

BAR

axle wheel

1шт.

24

247780

SERRATED NUT,Flg, USR, 3/8"-16

6шт.

25

86508775

CARRIAGE BOLT,Sq Nk, 3/8" - 16 x 1 3/4", Gr 5

6шт.

26

233254A1

BEARING ASSY,25.55mm ID

with 3 bolt flange

2шт.

27

86624189

WASHER,0.66" ID x 1.31" OD x 0.15" Thk

2шт.

28

12034871

WASHER

5/8"

2шт.

29

90376C2

SPACER

sprocket

1шт.

30

1277737C1

SPROCKET

12 tooth

1шт.

31

86622997

BOLT,Hex, 5/8" - 11 x 1 1/2", Gr 5, Full Thd

2шт.

32

86622972

BOLT,Spcl, Hex, 1/2" - 20 x 2 1/4", Gr 8, Full Thd

6шт.

33

80700

WASHER,0.56" ID x 1.38" OD x 0.11" Thk

6шт.

34

293985A2

HUB

RGH (8R70CM)

1шт.

35

F23214

WHEEL NUT

hub wheel - h517 & h617

6шт.

36

1277740C91

CHAIN (AG)

A2050 main drive (Trail), use 55 links from 569089R91 bulk chain plus 1-1277928C91 connecting link

1шт.

36

569089R91

CHAIN (AG),10' L, 1.0" Pitch

#2050 - 10' d/p roller

1шт.

36

1277928C91

LINK

connecting #2050

1шт.

Выбрано товаров: 0