Запчасти Case IH 1200PT (A.10.A[03]) - HYDRAULIC CYLINDER - 87439451 (ASN CBJ022484) A - Distribution Systems

Схема запчастей Case IH 1200PT - (A.10.A[03]) - HYDRAULIC CYLINDER - 87439451 (ASN CBJ022484) A - Distribution Systems
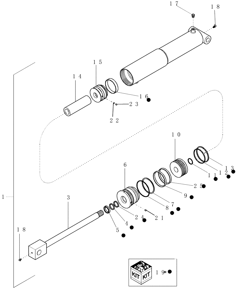
3
15
7
6
13
23
8
21
11
18
5
25
17
19
22
4
9
18
10
1
16
14
12
24
FIT
1:1
100%

Артикул

Название

Примечание

Количество

1

87439451

HYDRAULIC CYLINDER,Double Acting, 34.92mm Rod, 120.65mm Stroke

wing 3 7/8" x 4 3/4" 3000 PSI SA

1шт.

1

87439451R

REMAN-HYD CYLINDER

1200PT CASE IH PIVOT TRANSPORT ASM PLANTER, wing 3 7/8" x 4 3/4" 3000 PSI SA, HYDRAULIC CYLINDER - 87439451, ASN CBJ022484 (11/01-7/08)

1шт.

1

87439451C

CORE-HYD CYLINDER

Return Number

1шт.

3

87439962

ROD

assembly wing cylinder

1шт.

4

NSS

NOT SOLD SEPARAT

U-CUP

1шт.

Included in repair kit 87439964

1шт.

5

NSS

NOT SOLD SEPARAT

WIPER

1шт.

Included in repair kit 87439964

1шт.

6

87439963

PISTON ROD/GLAND

head, front

1шт.

7

NSS

NOT SOLD SEPARAT

O-RING

1шт.

Included in repair kit 87439964

1шт.

8

NSS

NOT SOLD SEPARAT

WASHER BACKUP

1шт.

Included in repair kit 87439964

1шт.

9

NSS

NOT SOLD SEPARAT

WEAR RING

2шт.

Included in repair kit 87439964

1шт.

10

87439961

PISTON

floating

1шт.

11

NSS

NOT SOLD SEPARAT

PISTON ROD SEAL

1шт.

12

NSS

NOT SOLD SEPARAT

WEAR RING

1шт.

Included in repair kit 87439964

1шт.

13

NSS

NOT SOLD SEPARAT

PISTON SEAL

1шт.

Included in repair kit 87439964

1шт.

14

87439960

SPACER

wing cylinder

1шт.

15

87439959

PISTON

wing cylinder

1шт.

16

NSS

NOT SOLD SEPARAT

RING BEARING

1шт.

Included in repair kit 87439964

1шт.

17

87439965

BREATHER

wing cylinder

1шт.

18

87017581

LUBE NIPPLE,90 Degree, 1/8" NPT x .76" lg, Drive

2шт.

19

87439964

SEAL KIT

wing cylinder

1шт.

20

NSS

NOT SOLD SEPARAT

BACKUP RING

2шт.

Included in repair kit 87439964

1шт.

21

87447795

INSERT

locking

2шт.

22

87447796

INSERT

locking

3шт.

23

483-1318

SET SCREW,Hex Soc, 5/16"-18 x 1/2"

3шт.

24

NSS

NOT SOLD SEPARAT

WEAR RING

1шт.

25

NSS

NOT SOLD SEPARAT

LPT SEAL

1шт.

Выбрано товаров: 35