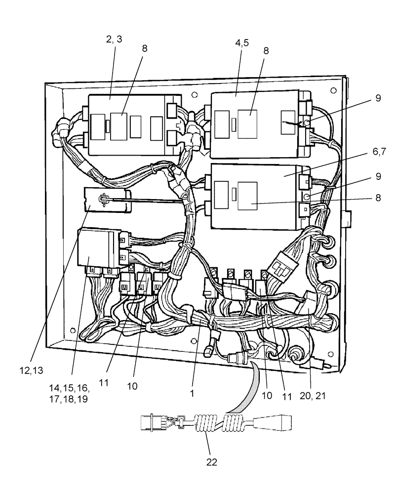
Запчасти Case IH 1200PT (A.50.A[12]) - ELECTRONICS COMPARTMENT A - Distribution Systems

Схема запчастей Case IH 1200PT - (A.50.A[12]) - ELECTRONICS COMPARTMENT A - Distribution Systems
8
9
1
18
12
22
14
9
13
8
16
15
21
19
2
11
11
3
7
5
17
20
4
8
6
10
FIT
1:1
100%

Артикул

Название

Примечание

Количество

1

86984069

WIRE HARNESS

panel

1шт.

Use with fuse box 451591A1

1шт.

1

398132A1

HARNESS

panel, Serial Range: -CBJ022251

1шт.

Use with fuse box 323081A1

1шт.

1

87447492

WIRE HARNESS

panel, Start Serial: CBJ022252

1шт.

Use with fuse box 451591A1

1шт.

2

405514A1

CONTROL

module, monitor interface

1шт.

2

405514A1R

REMAN ELECT CONTROL

1200PT CASE IH PIVOT TRANSPORT ASM PLANTER, module, monitor interface (11/01-7/08-)

1шт.

2

405514A1C

CORE-ELECTRONIC CONT

Return Number

1шт.

3

NSS

NOT SOLD SEPARAT

Software

1шт.

Download software from Service Tool

1шт.

4

405513A1

CONTROL

module, multi channel

1шт.

5

NSS

NOT SOLD SEPARAT

Software

1шт.

Download software from Service Tool

1шт.

6

405513A1

CONTROL

module, multi channel

1шт.

6

405513A1R

REMAN-MODULE

Module - Multi Channel

1шт.

6

405513A1C

CORE-MODULE

CORE-MODUL Return Number, MODULE

1шт.

7

NSS

NOT SOLD SEPARAT

Software

1шт.

Download software from Service Tool

1шт.

8

327661A1

DECAL

warning label

3шт.

9

523282

SERRATED NUT,Flg, USR, 1/4"-20

8шт.

10

293256A2

RELAY,12V

12v 40 amp weatherproof

8шт.

11

523310

SERRATED NUT,Flng, #10 - 24, Gr 5

flange, #10-24

8шт.

12

284638A2

ELEC CONNECTOR,4 Pin

terminator, ASM monitor

1шт.

13

87304

NUT,#10-24

2шт.

14

323081A1

PANEL

assembly fuse block

1шт.

Use with harness 398132A1

1шт.

14

451591A1

FUSE BOX

panel

1шт.

Use with harness 86984069

1шт.

Use with harness 87447492

1шт.

15

121410A1

FUSE,5A, Mini, Tan

1шт.

16

121413A1

FUSE,15A, Mini, Blue

1шт.

17

121414A1

FUSE,20A, Mini, Yellow

1шт.

18

121415A1

FUSE,25A, Mini, Clear

1шт.

19

86511925

SCREW,Pan, #10 - 24 x 1 1/2"

4шт.

20

402333A1

CONTROL

module, transport lighting, Serial Range: -CBJ022251

1шт.

20

86561136

MODULE

implement lighting control, Start Serial: CBJ022252

1шт.

21

87653

NUT,#8-32

2шт.

22

1983416C2

SWITCH

calibration

1шт.

100

427769A1

PANEL

electrical AFS controls

1шт.

Not Shown

1шт.

Refer to Ref. 2 on Fig. 09C-10

1шт.

101

380940A1

DUST CAP

1шт.

Not Shown

1шт.

102

225291C1

DUST CAP

calibration switch

1шт.

Not Shown

1шт.

Выбрано товаров: 46