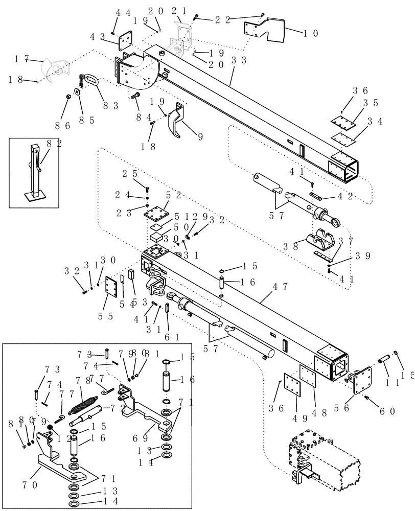
Запчасти Case IH 1200PT (F.10.G[17]) - TELESCOPING TONGUE AND HITCH, 12 ROW, 12/23 ROW, 16 ROW, 16/31 ROW & 24 ROW (ASN CBJ022252) F - Frame Positioning

Схема запчастей Case IH 1200PT - (F.10.G[17]) - TELESCOPING TONGUE AND HITCH, 12 ROW, 12/23 ROW, 16 ROW, 16/31 ROW & 24 ROW (ASN CBJ022252) F - Frame Positioning
25
15
36
35
79
70
44
80
20
69
74
81
41
10
30
23
16
61
49
55
31
52
86
77
81
24
31
71
13
21
85
19
32
16
74
18
22
16
14
54
60
72
15
56
41
51
15
29
34
42
14
43
33
39
73
18
41
38
31
50
82
19
78
79
11
20
71
13
15
37
36
80
47
9
57
19
17
32
84
12
53
73
48
77
30
57
83
FIT
1:1
100%

Артикул

Название

Примечание

Количество

9

87437753

BRACKET

wheel bumper

1шт.

24 row planter

1шт.

10

87450486

BRACKET

wheel bumper 20"

1шт.

24 row planter

1шт.

11

87423924

HEADLESS PIN

1 1/2" x 4 21/32"

1шт.

12

86632589

WASHER,0.53" ID x 1.06" OD x 0.1" Thk

.531" x 1.062" x .095" HTS

34шт.

13

441116A1

WASHER

tongue latch shim, Years: -13-JUN-04

1шт.

13

87501895

WASHER

Nylatron 63.5 mm od x 38.1 mm id x .635 mm thick, Start Year: 14-JUN-04

1шт.

14

441115A1

WASHER

tongue latch shim, Years: -13-JUN-04

1шт.

14

87501895

WASHER

Nylatron 63.5 mm od x 38.1 mm id x .635 mm thick, Start Year: 14-JUN-04

1шт.

15

86632531

SNAP RING,#150, Ext

12шт.

16

87415979

CLEVIS PIN

1 15/32" x 4 1/4'" ul

5шт.

17

87452811

BUMPER

40' carrier LH

1шт.

16 row and 16/31 row planters

1шт.

18

9706716

BOLT,Hex, 1/2" - 13 x 2", Gr 5

4шт.

19

80679

LOCK WASHER,1/20.507 CST ZND

8шт.

20

280431

NUT,1/2"-13, G5

8шт.

21

87450491

BRACKET

wheel bumper 30"

1шт.

22

88530

CARRIAGE BOLT,Sq Nk, 1/2" - 13 x 1 3/4", Gr 5

4шт.

23

86632590

WASHER,0.66" ID x 1.31" OD x 0.1" Thk

8шт.

24

12034871

WASHER

5/8"

8шт.

25

9627896

BOLT,Hex, 5/8" - 11 x 1 3/4", Gr 5

8шт.

29

86632595

CLAMP,12.7mm, Coat, 13.5mm Bolt Hole, P Type

2шт.

30

86632589

WASHER,0.53" ID x 1.06" OD x 0.1" Thk

.531" x 1.062" x .095" HTS

19шт.

31

80679

LOCK WASHER,1/20.507 CST ZND

12шт.

32

87689

BOLT,1/2"-13 x 1.813" OAL, Gr 5

12шт.

33

87500945

TUBE

assembly 8 x 8 - 30' with decals

1шт.

Includes decals 413672A1 and 414152A1

1шт.

12 row and 12/23 row planters

1шт.

33

87447191

TUBE

assembly 8 x 8 - 40' with decals

1шт.

Includes decals 413672A1 and 414152A1

1шт.

16 row, 16/31 row and 24 row planters

1шт.

33

413672A1

WARNING DECAL

Machine Tipping Hazard

1шт.

Part of Tube Assembly P/N 87414369 and P/N 87414367

1шт.

33

87527146

WARNING DECAL

Machine Tipping Hazard French

1шт.

33

414152A1

WARNING DECAL

Misuse Hazard

1шт.

Part of Tube Assembly P/N 87414369 and P/N 87414367

1шт.

33

87527148

WARNING DECAL

Misuse Hazard French

1шт.

34

86991686

SHIM

inner wear - 8 x 8 tube

1шт.

35

427873A1

WEAR PAD

inner - 8x8 tube

3шт.

36

86511975

SCREW,Flat, 1/4" - 20 x 3/4"

36шт.

37

427875A1

SPACER

bar tongue cylinder mount

2шт.

38

427877A1

SUPPORT

tongue cylinder

1шт.

39

86624188

WASHER,0.53" ID x 1.06" OD x 0.13" Thk

8шт.

41

88904

BOLT,Hex, 1/2" - 13 x 1 1/2", Gr 8, Full Thd

16шт.

42

427879A1

SPACER

bar cylinder mount lock

2шт.

43

427881A1

PLATE

hitch

1шт.

44

255918

BOLT,Hex Serr, 3/8" - 16 x 3/4", 5SPL, Full Thd

4шт.

47

87433310

TUBE

assembly 10 x 10 - 40'

1шт.

16/31 row and 24 row planters

1шт.

47

87500510

TUBE

10" x 10" 16R30

1шт.

16 row planter

1шт.

47

87500915

TUBE

assembly 10 x 10 frame 12/23

1шт.

12/23 row planter

1шт.

47

87500732

TUBE

assembly 10 x 10 - 30' frame

1шт.

12 row planter

1шт.

48

86991685

SHIM

inner wear - 10 x 10 tube

1шт.

49

427887A1

WEAR PAD

inner - 10 x 10 tube

3шт.

50

395398A1

WEAR PAD

top 10x10 tube

1шт.

51

86991687

SHIM

top wear - 10 x 10 tube

1шт.

52

427891A1

PLATE

top cover - 10x10 tube

1шт.

53

395401A1

WEAR PAD

side 10x10 tube

2шт.

54

86991688

SHIM

side wear - 10 x 10 tube

1шт.

55

87414381

COVER ASSY

side tongue - 10 x 10 with reflector

2шт.

Includes reflector 1284365C2

1шт.

55

1284365C2

REFLECTOR

amber 1.97" x 4.3"

1шт.

Part of Side Tongue Cover Assembly P/N 87414381

1шт.

56

427897A1

SUPPORT

tongue cylinder

1шт.

12 row, 16 row and 24 row planters

1шт.

56

87433506

BRACKET

mount assembly tongue cylinder

1шт.

12/23 row and 16/31 row planters

1шт.

57

87439452

HYDRAULIC CYLINDER,Double Acting, 57.15mm Rod, 2032mm Stroke

tongue

2шт.

60

281047

BOLT,Hex, 5/8" - 11 x 1 1/4", Gr 8, Full Thd

8шт.

61

427899A1

SPACER

bar cylinder mount lock

2шт.

69

427905A1

ARM

assembly latch - right

1шт.

70

427907A1

ARM

assembly latch - left

1шт.

71

427909A1

SPACER

latch arm lock, Years: -13-JUN-04

4шт.

71

8013

WASHER

1 1/2" id 2 1/2" 1/4", Start Year: 14-JUN-04

4шт.

72

86991777

HYDRAULIC CYLINDER

1" x 4" 2500 PSI no pins SA

1шт.

73

86632571

HEADED PIN,1/2" x 2 1/2"

2шт.

74

394818

COTTER PIN,M5 x 25

2шт.

77

398207A1

SPECIAL BOLT

J 3/8" x 3" x 2 13/32" thread

2шт.

78

427911A1

TENSION SPRING

1/4"wr 1 1/2"od 8 1/2" lg

1шт.

79

86632588

WASHER,0.41" ID x 0.81" OD x 0.07" Thk

2шт.

80

231-1446

NUT,3/8" - 16, Gr 5

2шт.

81

86632697

CAP

poly sleeve cap 3/8" red

2шт.

82

385338A1

JACK

assembly 7000 lb sidewind 5" stroke

1шт.

82

22139

PIN

pull, 3/4"

1шт.

Not Shown

1шт.

83

PCC8607191

CHAIN

30,400 lb safety

1шт.

84

86539260

BOLT,Hex, 1" - 8 x 3", Gr 8

1шт.

85

495-81080

WASHER,1 1/32" x 3" x .240"

1шт.

86

86511609

NUT,1"-8, G8

1шт.

Выбрано товаров: 93