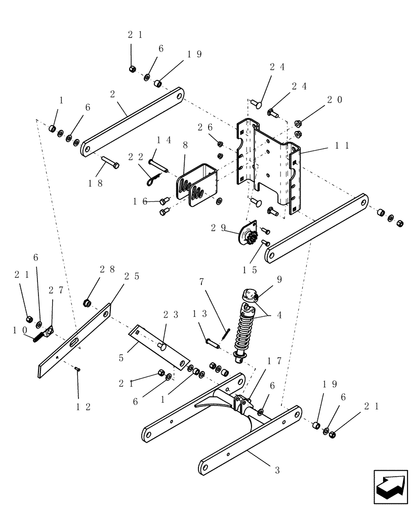
Запчасти Case IH 1200PT (L.10.B[04]) - DOWN PRESSURE 20" LINKAGE WITH LOCKUP L - Field Processing

Схема запчастей Case IH 1200PT - (L.10.B[04]) - DOWN PRESSURE 20" LINKAGE WITH LOCKUP L - Field Processing
22
24
21
25
10
19
6
18
21
15
4
21
6
29
2
14
6
6
9
20
19
1
6
24
3
13
17
16
28
21
12
27
1
5
6
23
8
11
26
7
FIT
1:1
100%

Артикул

Название

Примечание

Количество

1

137512C3

BUSHING,13.5mm ID x 22.23mm OD x 13.5mm L

link pivot

2шт.

2

87459030

BAR

link 20" upper

2шт.

3

87473387

LINKAGE

20" lower

1шт.

4

87462749

CARTRIDGE

down pressure spring

1шт.

5

87461748

ARM

row unit lockup

1шт.

6

87364

WASHER,0.53" ID x 1.06" OD x 0.1" Thk

13шт.

7

87398

COTTER PIN,3/16" OD x 1-1/4" OAL

1шт.

8

87462075

BRACKET

down pressure adjustment extension

1шт.

9

87462571

DUST CAP

1шт.

10

87426449

COIL SPRING

E 1/16" wr 1/2" d 2" lg

1шт.

11

141728C5

BRACKET

channel head

1шт.

12

439-1412

HEADED PIN,1/4" x 3/4"

1шт.

13

439-5836

HEADED PIN,12.7mm OD x 57.15mm L

1шт.

14

86624062

HEADED PIN,12.7mm OD x 88.9mm L

1шт.

15

88206

BOLT,Hex, 3/8" - 16 x 1", Gr 5

2шт.

16

87909

BOLT,Hex, 1/2" - 13 x 1", Gr 5

2шт.

17

9706716

BOLT,Hex, 1/2" - 13 x 2", Gr 5

1шт.

18

87974

BOLT,Hex, 1/2" - 13 x 2 3/4", Gr 5

1шт.

19

1254302C1

BUSHING,13.5mm ID x 22.2mm OD x 16.7mm L

link pivot

4шт.

20

86512371

SERRATED NUT,Flg, USR, 1/2"-13

2шт.

21

86992215

LOCK NUT,1/2"-13, GC

6шт.

22

87045537

HAIR PIN COTTER

.148 x 3 5/16"

1шт.

23

280499

CARRIAGE BOLT,Short Sq Nk, 1/2" - 13 x 1", Gr 5, Full Thd

1шт.

24

88530

CARRIAGE BOLT,Sq Nk, 1/2" - 13 x 1 3/4", Gr 5

4шт.

25

87461745

BAR

secondary lockup

1шт.

26

247780

SERRATED NUT,Flg, USR, 3/8"-16

2шт.

27

87428709

LOCKING TAB

spring

1шт.

28

87452075

BUSHING,1/2"

threaded row unit

1шт.

29

413712A1

BEARING ASSY,1.90625" OD x 1.875"

12 tooth with bearing

1шт.

Выбрано товаров: 29