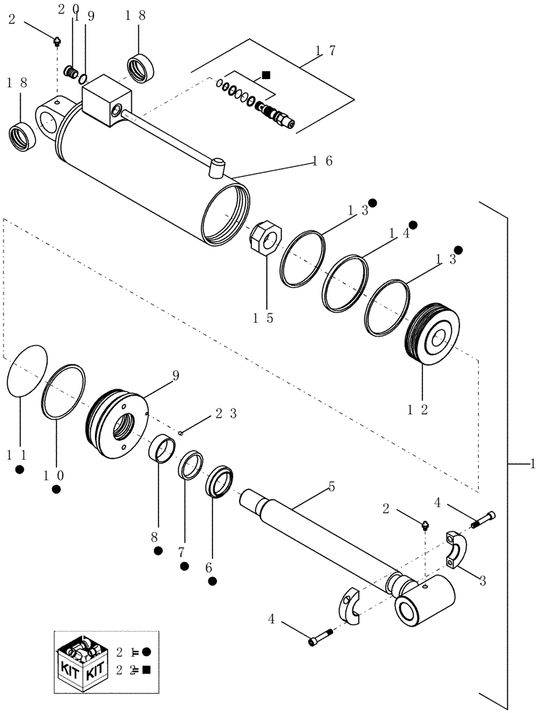
Запчасти Case IH 1200PT (A.10.A[12]) - HYDRAULIC CYLINDER - 87401121 A - Distribution Systems

Схема запчастей Case IH 1200PT - (A.10.A[12]) - HYDRAULIC CYLINDER - 87401121 A - Distribution Systems
7
18
17
15
4
2
4
21
18
1
2
3
23
12
6
9
10
22
8
14
11
19
5
16
13
20
13
FIT
1:1
100%

Артикул

Название

Примечание

Количество

1

87401121

HYDRAULIC CYLINDER,Double Acting, 50.8mm Rod, 304.8mm Stroke

5" x 12" 3000 PSI, Start Serial: CBJ0018396

1шт.

2

80710

LUBE NIPPLE,1/8” – 27 Dryseal PTF

2шт.

3

87409512

COLLAR

split hydraulic cylinder stop

1шт.

4

86977870

HEX SOC SCREW,3/8" - 16 x 2"

2шт.

5

87409506

PISTON ROD

2" Nitrosteel

1шт.

6

NSS

NOT SOLD SEPARAT

WIPER

1шт.

Included in repair kit 87405833

1шт.

7

NSS

NOT SOLD SEPARAT

U-CUP

1шт.

Included in repair kit 87405833

1шт.

8

NSS

NOT SOLD SEPARAT

WEAR RING

1шт.

Included in repair kit 87405833

1шт.

9

87409504

HEAD

cylinder front 5" bore x 2" rod

1шт.

10

NSS

NOT SOLD SEPARAT

WASHER BACKUP

1шт.

Included in repair kit 87405833

1шт.

11

NSS

NOT SOLD SEPARAT

O-RING

1шт.

Included in repair kit 87405833

1шт.

12

87409508

PISTON

cylinder 5" bore

1шт.

13

NSS

NOT SOLD SEPARAT

NYLON WEAR RING

2шт.

Included in repair kit 87405833

1шт.

14

NSS

NOT SOLD SEPARAT

SEAL, PISTON

1шт.

Included in repair kit 87405833

1шт.

15

232-46324

LOCK NUT,1 1/2"-12, GC

1шт.

16

NSS

NOT SOLD SEPARAT

TUBE, HYD CYLINDER W/CLEVIS

1шт.

17

384836A1

BALANCE VALVE

assembly counterbalance

1шт.

18

414178A1

BUSHING

47.6 mm od x 38.3 id x 22.4 mm heat treated; helical groove

2шт.

19

128825

O-RING,0.087" Thk x 0.644" ID, -908, Cl 6, 90 Duro

1шт.

20

71100209

PLUG,Hex Soc, 3/4"-16 ORB

1шт.

Includes O-Ring

1шт.

21

87405833

SEAL KIT

hyd cyl service 5" Monarch 2" rod

1шт.

22

384837A1

SEAL KIT

counterbalance valve for use with sun

1шт.

23

483-1256

SET SCREW,Hex Soc, 1/4"-20 x 3/8"

1шт.

Выбрано товаров: 31