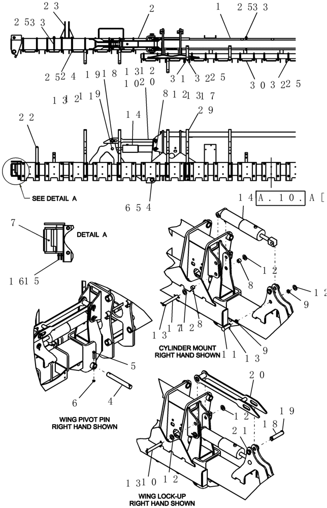
Запчасти Case IH 1200PT (L.10.C[05]) - FRAME - TOOLBAR 12/23 ROW (ASN CBJ026003) L - Field Processing

Схема запчастей Case IH 1200PT - (L.10.C[05]) - FRAME - TOOLBAR 12/23 ROW (ASN CBJ026003) L - Field Processing
13
12
14
32
12
25
25
9
2
12
10
32
17
20
25
5
30
24
17
15
12
12
13
8
8
18
12
31
16
6
18
19
8
11
6
33
11
25
9
5
14
29
4
22
13
1
4
13
23
25
13
10
33
13
12
12
20
19
21
7
9
FIT
1:1
100%

Артикул

Название

Примечание

Количество

1

87460890

TUBE,4147.3, 188 mm L

assembly, 23R15 center

1шт.

Includes decal 87462248

1шт.

1

87462248

DECAL

small crush hazard

1шт.

2

87460899

TUBE,2178 mm L

assembly, 23R15 wing LH

1шт.

3

87460896

TUBE,2178 mm L

assembly, 23R15 wing RH

1шт.

4

401442A1

PIVOT PIN

1 1/2" od x 12" fl

2шт.

5

87974

BOLT,Hex, 1/2" - 13 x 2 3/4", Gr 5

2шт.

6

86632537

THIN NUT,1/2"-13, GB, Thin

2шт.

7

87414

LUBE NIPPLE,1/4" - 28

4шт.

8

86523224

BUSHING,25.58mm ID x 32.77mm OD x 26.16mm L

tension 1 1/4" x 1" x 1" long

4шт.

9

97772C1

BUSHING

tension 1 1/4" x 1" x 1/2" lg

4шт.

10

441198A1

PIN

cylinder anchor

2шт.

11

86632568

HEADED PIN,1" x 3 1/2", G5

2шт.

12

86632592

WASHER,1.06" ID x 2" OD x 0.13" Thk

10шт.

13

88182

COTTER PIN,1/4" OD x 2" L

10шт.

14

87439451

HYDRAULIC CYLINDER,Double Acting, 34.92mm Rod, 120.65mm Stroke

wing 3 7/8" x 4 3/4" 3000 PSI SA

2шт.

14

87439451R

REMAN-HYD CYLINDER

1200PT CASE IH PIVOT TRANSPORT ASM PLANTER, wing 3 7/8" x 4 3/4" 3000 PSI SA, TOOLBAR 12/23 ROW, ASN CBJ026003 (11/01-7/08)

2шт.

14

87439451C

CORE-HYD CYLINDER

Return Number

2шт.

15

88346

BOLT,Hex, 5/16" - 18 x 2 1/2", Gr 5

4шт.

16

86050277

NUT,5/16"-18, GB

4шт.

17

87460741

PIN

25.4 mm x 173 mm, G8

2шт.

18

87458916

PIN

31.75 mm x 130.2 mm wing lock

2шт.

19

87459046

LINCH PIN

4.76 mm x 39.69 mm

4шт.

20

87456282

LATCH

wing lock

2шт.

21

86632583

WASHER,1.28" ID x 2" OD x 0.12" Thk

4шт.

22

87447161

BRACKET

hose routing

2шт.

23

427733A1

BRACKET

wheel mounting

1шт.

24

86622984

BOLT,Hex, 5/8" - 11 x 9", Gr 5

4шт.

25

280374

NUT,Hex, 5/8" - 11, Gr 5

4шт.

26

427733A1

BRACKET

wheel mounting

1шт.

27

86622984

BOLT,Hex, 5/8" - 11 x 9", Gr 5

4шт.

28

280374

NUT,Hex, 5/8" - 11, Gr 5

4шт.

29

427745A2

BAR

vacuum support

6шт.

30

141728C4

CHANNEL

bracket head

23шт.

31

127475A2

ANGLE

row unit mounting extension, Years: -01-OCT-03

2шт.

31

87462142

ANGLE

row unit mounting, Start Year: 01-OCT-03

2шт.

32

142583A1

U-BOLT

us 5/8"-11 7"w 4 7/32"d G5 2" thread

26шт.

33

1250813C1

U-BOLT

us 5/8"-11 x 7" x 8 1/4", G5, 2" thread

16шт.

34

280374

NUT,Hex, 5/8" - 11, Gr 5

84шт.

Выбрано товаров: 39