Запчасти Case IH 1200PT (L.40.A[16]) - LIQUID FERTILIZER SYSTEM MOUNTING WITH TANKS, 24 ROW (ASN CBJ022252) L - Field Processing

Схема запчастей Case IH 1200PT - (L.40.A[16]) - LIQUID FERTILIZER SYSTEM MOUNTING WITH TANKS, 24 ROW (ASN CBJ022252) L - Field Processing
4
23
24
15
11
18
14
19
5
22
9
28
27
21
23
16
18
9
29
2
30
17
14
16
21
25
24
13
25
21
10
24
24
23
12
7
2
5
20
17
20
6
8
15
22
19
22
7
20
1
4
6
20
FIT
1:1
100%

Артикул

Название

Примечание

Количество

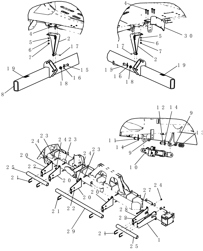
1

427755A1

BRACKET

RH fert opener 22"

2шт.

1

427753A1

BRACKET

LH fert opener 22"

2шт.

2

87447077

PIVOT

fertilizer mount

2шт.

4

88904

BOLT,Hex, 1/2" - 13 x 1 1/2", Gr 8, Full Thd

8шт.

5

86632589

WASHER,0.53" ID x 1.06" OD x 0.1" Thk

.531" x 1.062" x .095" HTS

8шт.

6

80679

LOCK WASHER,1/20.507 CST ZND

8шт.

7

9803187

NUT,1/2"-13, G8

8шт.

8

87447639

TUBE

fertilizer bar with decals

1шт.

9

86523224

BUSHING,25.58mm ID x 32.77mm OD x 26.16mm L

tension 1 1/4" x 1" x 1" long

2шт.

10

86991779

HYDRAULIC CYLINDER,Double Acting, 31.75mm Rod, 203.2mm Stroke

2 1/2" x 8", 3000 psi, no pins

1шт.

11

87023161

HEADED PIN,1" x 3"

1шт.

12

86632568

HEADED PIN,1" x 3 1/2", G5

1шт.

13

87367

WASHER,1.06" ID x 2" OD x 0.13" Thk

3шт.

14

80752

COTTER PIN,1/4" x 2 1/2"

2шт.

15

86632566

HEADED PIN,3/4" x 4 1/2", G5

2шт.

16

88182

COTTER PIN,1/4" OD x 2" L

2шт.

17

87414

LUBE NIPPLE,1/4" - 28

2шт.

18

86624163

WASHER,0.81" ID x 1.5" OD x 0.22" Thk

2шт.

19

413669A1

WARNING DECAL

Cutting Hazard

2шт.

20

87442415

BRACKET

7" fertilizer opener LH

4шт.

19

87527150

WARNING DECAL

Cutting Hazard French

2шт.

20

87442417

BRACKET

7" fertilizer opener RH

4шт.

21

1344524C1

U-BOLT

us 1/2" x 2 9/18" w x 3 1/2" d 1" thread

12шт.

22

280431

NUT,1/2"-13, G5

24шт.

23

142583A1

U-BOLT

us 5/8"-11 7"w 4 7/32"d G5 2" thread

8шт.

24

280374

NUT,Hex, 5/8" - 11, Gr 5

24шт.

25

87419373

TUBE,720 mm L

2 1/2" x 2 1/2"

4шт.

27

86507001

BOLT,Hex, 5/8" - 11 x 8 1/2", Gr 5

8шт.

28

427753A1

BRACKET

LH fert opener 22"

2шт.

29

258420A1

TUBE,1605 mm Length

2 1/2" x 2 1/2" x 63.2" long

2шт.

30

444327A1

SUPPORT

hose holder, Serial Range: -CBJ022251

1шт.

Выбрано товаров: 31