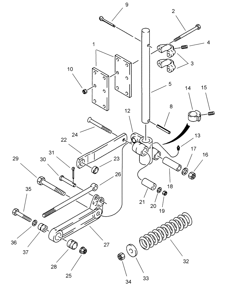
Запчасти Case IH 1200PT (L.50.F[08]) - NO-TILL COULTER, LIQUID FERTILIZER (BEFORE 01/18/04) L - Field Processing

Схема запчастей Case IH 1200PT - (L.50.F[08]) - NO-TILL COULTER, LIQUID FERTILIZER (BEFORE 01/18/04) L - Field Processing
1
33
32
22
17
30
8
27
31
12
28
10
29
26
13
2
19
23
21
3
16
20
36
24
9
4
14
15
35
18
5
25
37
34
FIT
1:1
100%

Артикул

Название

Примечание

Количество

1

1986499C1

PLATE

clamp, combination

2шт.

2

86000020

BOLT,Hex, 1/2" - 13 x 6", Gr 5

4шт.

3

1344520C1

SPECIAL CLAMP

casting

2шт.

4

86542828

SET SCREW,Sq Hd, 5/8"-11 x 1", Cup Pt

2шт.

5

1344510C1

SHANK

22" straight coulter

1шт.

8

86624093

PIN,9.53mm OD x 63.5mm L

1шт.

9

86624083

COTTER PIN,5/16" x 2 1/2"

1шт.

10

86992215

LOCK NUT,1/2"-13, GC

4шт.

11

252170A1

PIVOT

casting LH

1шт.

12

252171A1

PIVOT

casting RH

1шт.

13

87414

LUBE NIPPLE,1/4" - 28

3шт.

14

1986495C1

COLLAR

locking, 2975

1шт.

15

86542828

SET SCREW,Sq Hd, 5/8"-11 x 1", Cup Pt

1шт.

16

86754

NUT,3/4"-10, GB

1шт.

17

86624158

WASHER,0.78" ID x 2" OD x 0.12" Thk

1шт.

18

1986486C1

SLEEVE

pivot

1шт.

19

86992215

LOCK NUT,1/2"-13, GC

1шт.

20

252158A1

WASHER

1/2" x 1 1/2" x .134"

1шт.

21

252316A1

SLEEVE

pivot 2 19/32"

1шт.

22

252164A1

ARM

upper

1шт.

23

1986497C1

BUSHING,25.4mm ID x 31.8mm OD x 12.7mm L

1шт.

24

86624114

HEX SOC SCREW,Flat Hd, CSK, 1/2" - 13 x 4"

1шт.

25

86521608

FLANGE NUT,Flg, 5/8"-11, G5

1шт.

26

252169A1

ROD

spring 13 1/2"

1шт.

27

252161A1

ARM

lower

1шт.

28

252162A1

BUSHING,31.75mm ID x 38.1mm OD x 31.75mm L

lower arm

1шт.

29

280120

BOLT,Hex, 3/4" - 10 x 6", Gr 5

1шт.

30

86624084

CLEVIS PIN,15.88mm OD x 62.48mm L

1шт.

31

87395

COTTER PIN,1/8" OD x 1-1/4" OAL

1шт.

32

252167A1

SPRING

9/16" wire x 11" long

1шт.

33

252166A1

BUSHING

spring (casting)

1шт.

34

86754

NUT,3/4"-10, GB

1шт.

35

280233

BOLT,Hex, 5/8" - 11 x 2 1/2", Gr 8

1шт.

36

A59517

WASHER,16.66mm ID x 57.15mm OD x 6.35mm Thk

large, 2 1/4" od

1шт.

37

252317A1

PIVOT

lower arm

1шт.

38

1986496C1

DECAL

critical adjustment

1шт.

Not Shown

1шт.

Выбрано товаров: 37