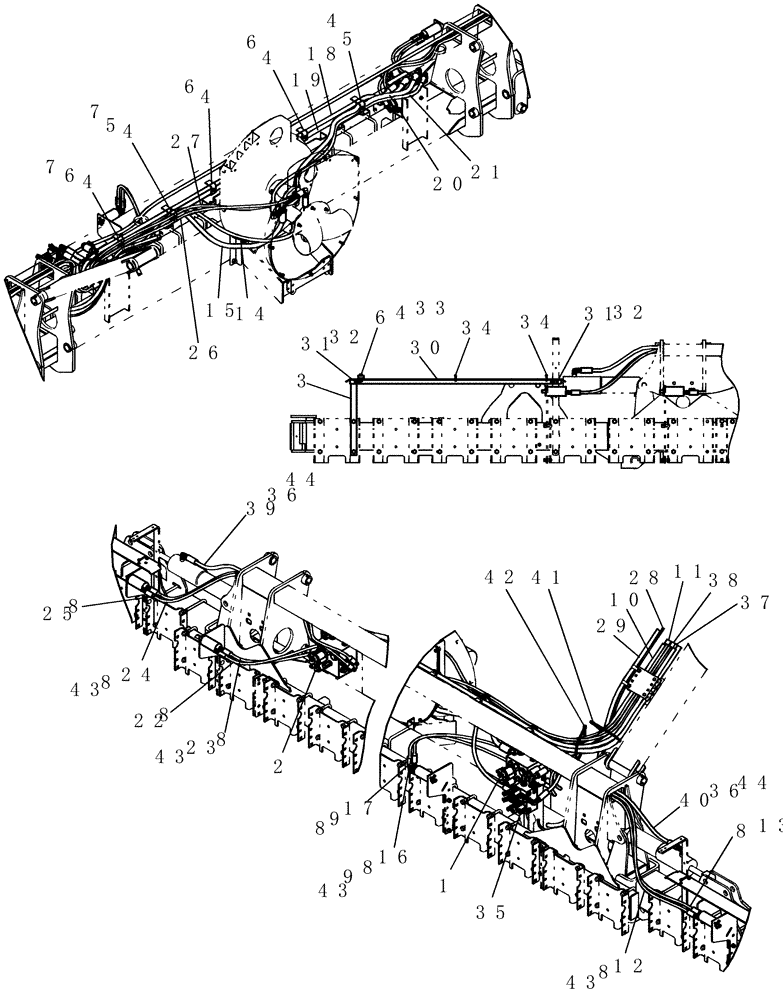
Запчасти Case IH 1200PT (A.10.A[35]) - LAYOUT HYD HOSES ROUTING 12/23 ROW (BTW CBJ022252 AND CBJ026002) A - Distribution Systems

Схема запчастей Case IH 1200PT - (A.10.A[35]) - LAYOUT HYD HOSES ROUTING 12/23 ROW (BTW CBJ022252 AND CBJ026002) A - Distribution Systems
31
5
6
12
34
6
15
8
4
7
8
32
10
32
3
11
8
20
7
9
4
29
1
34
4
8
8
23
17
33
30
36
5
31
43
24
2
6
35
8
22
4
4
6
27
41
13
44
4
43
39
38
37
18
43
26
16
9
44
43
36
21
40
8
25
42
8
14
19
28
FIT
1:1
100%

Артикул

Название

Примечание

Количество

1

87439659

CONTROL VALVE

assembly, multi-valve with plugs

1шт.

2

417538A1

CONTROL VALVE

assembly multi with relief

1шт.

3

87447161

BRACKET

hose routing

2шт.

4

427781A1

HOSE CLAMP

2 hose

9шт.

5

86977730

SERRATED SCREW,3/8" - 16 x 2 1/2"

FG 3/8"-16 x 2 1/2", G5

2шт.

6

86512175

BOLT,Hex Serr Flg, 3/8" - 16 x 1 1/2"

5шт.

7

86594406

CLAMP,15.9mm, Coat, 10.3mm Bolt Hole, P Type

4шт.

8

76350

HYD CONNECTOR,9/16" - 18 ORB x 9/16" - 18 JIC

8шт.

Includes O-Ring

1шт.

9

86629586

90 ELBOW,9/16" - 18 JIC x 9/16" - 18 Fem Sw

2шт.

10

87454632

HYDRAULIC HOSE

5/8" x 525" fl

1шт.

11

87454635

HYDRAULIC HOSE

3/4" x 520" fl

1шт.

12

1284296C1

HYDRAULIC HOSE,9.52 mm ID x 1905.00 mm

1шт.

13

1284296C1

HYDRAULIC HOSE,9.52 mm ID x 1905.00 mm

1шт.

14

1301966C2

HYDRAULIC HOSE

1/2" x 70" fl

1шт.

15

87424861

HYDRAULIC HOSE

3/4" x 62" fl

1шт.

16

1259625C1

HYDRAULIC HOSE,9.50 mm ID x 840.00 mm, SAE 100R1

1шт.

17

1259625C1

HYDRAULIC HOSE,9.50 mm ID x 840.00 mm, SAE 100R1

1шт.

18

87454633

HYDRAULIC HOSE

5/8" x 190" fl

1шт.

19

87454636

HYDRAULIC HOSE

3/4" x 188" fl

1шт.

20

410544A1

HYDRAULIC HOSE

3/4" x 65" fl

1шт.

21

1301966C2

HYDRAULIC HOSE

1/2" x 70" fl

1шт.

22

1259625C1

HYDRAULIC HOSE,9.50 mm ID x 840.00 mm, SAE 100R1

1шт.

23

1259625C1

HYDRAULIC HOSE,9.50 mm ID x 840.00 mm, SAE 100R1

1шт.

24

1284296C1

HYDRAULIC HOSE,9.52 mm ID x 1905.00 mm

1шт.

25

1284296C1

HYDRAULIC HOSE,9.52 mm ID x 1905.00 mm

1шт.

26

1284369C1

HYDRAULIC HOSE

3/8" x 130" fl

1шт.

27

1284369C1

HYDRAULIC HOSE

3/8" x 130" fl

1шт.

28

87447338

HARNESS

frame

1шт.

29

398135A1

WIRE HARNESS

toolbar 4 sections

1шт.

30

87446922

PLATE

hydraulic hose routing

2шт.

31

86511443

BOLT,Hex Serr, 1/4" - 20 x 1", 5SPL, Full Thd

4шт.

32

86625061

NUT,1/4"-20, GB

4шт.

33

247780

SERRATED NUT,Flg, USR, 3/8"-16

2шт.

34

529070

CABLE TIE,368.3mm L

CABLE STRAP

4шт.

35

401592A1

VALVE, CONTROL

assembly marker

1шт.

36

128830

90 ELBOW,3/4" - 16 JIC x 3/4" - 16 ORB

2шт.

Includes O-Ring

1шт.

37

410538A1

HYDRAULIC HOSE

5/8" x 94" fl

1шт.

38

410538A1

HYDRAULIC HOSE

5/8" x 94" fl

1шт.

39

91204C1

HYDRAULIC HOSE,12.7mm ID x 4320mm L

1шт.

40

90874C1

HYDRAULIC HOSE

1/2" x 55" fl

1шт.

41

87557087

CABLE TIE

CABLE STRAP 11" with stainless locking clip

1шт.

42

87557087

CABLE TIE

CABLE STRAP 11" with stainless locking clip

1шт.

43

9617873

O-RING,0.078" Thk x 0.468" ID, -906, Cl 6, 90 Duro

1шт.

44

128825

O-RING,0.087" Thk x 0.644" ID, -908, Cl 6, 90 Duro

1шт.

Выбрано товаров: 0