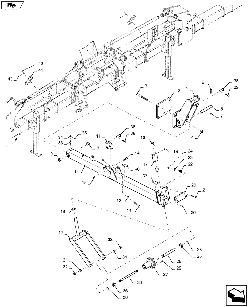
Запчасти Case IH 1235 (39.100.WL[01]) - LIFT ASSIST (39) - FRAMES AND BALLASTING

Схема запчастей Case IH 1235 - (39.100.WL[01]) - LIFT ASSIST (39) - FRAMES AND BALLASTING
32
31
32
35
22
42
8
25
21
19
2
33
20
43
6
27
28
16
31
24
15
39
37
3
26
1
11
34
26
38
9
17
36
39
7
40
5
38
28
18
23
14
9
41
4
10
13
home
30
29
12
FIT
1:1
100%

Артикул

Название

Примечание

Количество

1

87582703

BRACKET

Assit Wheel

1шт.

2

87582452

PLATE

Bolt Mounting

1шт.

3

87014472

BOLT

1-8X10"

5шт.

4

87304132

NUT,1"-8, GC

5шт.

5

87582450

PIN

1.5"

1шт.

6

280620

BOLT,Hex, 1/2" - 13 x 3", Gr 8

1шт.

7

87333862

NUT

1/2"

1шт.

8

87582704

TUBE,849.2 mm L

1шт.

9

22093

BUSHING,1-1/2" ID x 1-3/4" OD x 1" Thk

1.75 X 1.5 X 1"

2шт.

10

87594339

BUSHING

2 X 1.75 X 1"

2шт.

11

87582702

LUG

Lower Adjust

1шт.

12

280954

NUT,3/4"-10, G5

2шт.

13

87593246

BOLT

750X 4.50 "

1шт.

14

86977759

BOLT,Hex, 3/4" - 10 x 3 1/2", Gr 5

2шт.

15

9626598

NUT,3/4"-10, GB

2шт.

16

462997R2

WASHER

Wear

1шт.

17

222679A1

YOKE

Arm Wheel Assist

1шт.

18

417173A1

CAM

Assist Wheel Snubber

1шт.

19

86624086

PIN,5/8" x 3", Coiled

1шт.

20

417169A1

BAR

Cam Follower

1шт.

21

280183

BOLT,Hex, 5/8" - 11 x 4 1/2", Gr 5

4шт.

22

137969A1

SPRING

Wheel Assist

4шт.

23

86624156

WASHER,0.66" ID x 1.5" OD x 0.19" Thk

4шт.

24

19670

NUT,5/8"-11, GB

4шт.

25

417176A1

SPACER

Axle Rod

1шт.

26

1973497C1

BALL BEARING,30mm ID x 62mm OD x 24mm W

2шт.

27

541757R1

HUB

Wheel Red

1шт.

28

86624169

WASHER,1.03" ID x 1.5" OD x 0.06" Thk

2шт.

29

277538A1

BOLT,1/2" - 20 x 1.42"

6шт.

30

541759R3

ROD

Axle

1шт.

31

87342

LOCK WASHER,25.48mm ID x 42.06mm OD x 6.35mm Thk

2шт.

32

9849633

NUT,1"-8, G5

2шт.

33

84198539

NIPPLE

Lube

1шт.

34

105412

ELBOW,90 Degree, 1/8" NPT

1шт.

35

80710

LUBE NIPPLE,1/8” – 27 Dryseal PTF

1шт.

36

80714

LUBE NIPPLE,1/4"-28 NPT x .54" lg

1шт.

37

47358801

CAUTION DECAL

ISO

1шт.

38

87023161

HEADED PIN,1" x 3"

2шт.

39

1978738C1

HAIR PIN COTTER

2шт.

40

47433201

DECAL

Crush Hazard

1шт.

41

87404929

BRACKET

Cylinder

2шт.

42

86624081

HEADED PIN,9.53mm OD x 57.15mm L

2шт.

43

86624096

COTTER PIN,Int, 3/16 x .080"

2шт.

Выбрано товаров: 43