Запчасти Case IH 1245 (31.201.AD[03]) - PTO GEARBOX (31) - IMPLEMENT POWER TAKE OFF

Схема запчастей Case IH 1245 - (31.201.AD[03]) - PTO GEARBOX (31) - IMPLEMENT POWER TAKE OFF
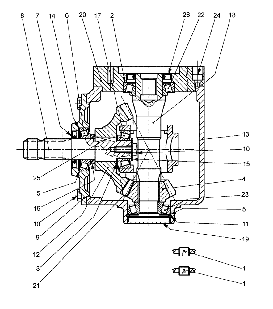
26
8
17
12
23
13
11
1
10
9
6
5
2
16
21
22
3
20
24
18
19
14
1
15
5
4
25
10
7
FIT
1:1
100%

Артикул

Название

Примечание

Количество

0

87479369

GEARBOX

assembly

1шт.

0

87603592

GEARBOX

right angle 1.93:1

1шт.

1

86539149

PLUG,3/8" BSPP

hex socket, gas 3/8" bspp

2шт.

2

87473347

SHIM KIT

output shaft top

1шт.

3

87473348

SHIM

1шт.

4

87739224

IDLER PINION

14 tooth

1шт.

5

87473349

SHIM

2шт.

6

87282046

TAPERED BEARING,35mm ID x 72mm OD x 18.25mm W

TM#30207

1шт.

7

86539177

SEAL

35 x 62 x 8

1шт.

8

87739226

SHAFT

input

1шт.

9

86539179

COVER

1шт.

10

86539175

BOLT,Hex, M10 x 22mm, Cl 8.8

Cap, HH, CL 8.8, M10 x 1.5 x 22, Years: -01-MAY-10

9шт.

10

2975076

BOLT,M10 x 1.5 x 22mm, Cl 8.8

Cap, HH, CL 8.8, M10 x 1.5 x 22, Start Year: 01-MAY-10

9шт.

11

370018

SNAP RING,M72, Internal

1шт.

12

87739225

BEVEL GEAR

27 tooth

1шт.

13

87739217

HOUSING

gearbox

1шт.

14

87473350

SHIM

1шт.

15

86539185

WASHER

1шт.

16

87473373

SPACER

1шт.

17

1273014C92

TAPERED BEARING

pinion shaft

1шт.

18

87739227

SHAFT

output

1шт.

19

86539183

CAP

M72 x 10

1шт.

20

87739218

MOUNT

gearbox pump

1шт.

21

87473351

SHIM

, Years: -01-DEC-08

1шт.

21

84177728

SHIM

input shaft, rear bearing, 0.3 mm thick, Start Year: 01-DEC-08

1шт.

21

84177729

SHIM

input shaft, rear bearing, 0.4 mm thick, Start Year: 01-DEC-08

1шт.

21

84177730

SHIM

input shaft, rear bearing, 0.5 mm thick, Start Year: 01-DEC-08

1шт.

22

1964245C1

TAPERED BEARING,45mm ID x 85mm OD x 20.75mm W

tapered roller

1шт.

23

1545125C1

BALL BEARING

gear shaft

1шт.

24

412256

BOLT

M10 x 25, Years: -01-MAY-10

8шт.

24

11106220

BOLT,Hex, M10 x 25, 8.8, Full Thd

M10 x 25, Full Thrd, Start Year: 01-MAY-10

8шт.

25

86547749

KEY

Square, B, M12 x 18mm x 35mm

1шт.

26

87739219

OIL SEAL

45 mm x 75 mm x 10 mm

1шт.

27

86539157

BREATHER,3/8" Gas

1шт.

Not Shown

1шт.

28

87031306

ELBOW,90 Degree, 3/8" Gas

1шт.

Not Shown

1шт.

Выбрано товаров: 0