Качественные детали и логистика
Оригинальные и аналоговые запчасти с доставкой по России, Казахстану и Беларуси
©2022 PartSell ООО "Система" ИНН 2463123282 ОГРН 1212400004838
Центральный офис: г. Красноярск, Академика Киренского, д.87, пом.4
Телефон: 8 (800) 777-65-74 Email: zakaz@partsell.ru
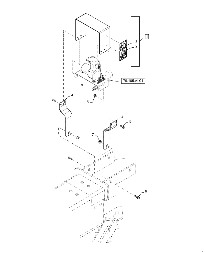
(79.904.AI[02]) - MANUAL COMPRESSOR HITCH MOUNT DIRECT DRIVE
№
Артикул
Название
Примечание
Количество
1
87693589
BRACKET
Compressor Painted
1шт.
2
47450624
DECAL
Pressure Setting
3
47433223
Hazard
4
87693591
Vert Painted
2шт.
5
280523
BOLT,Hex, 3/8" - 16 x 1 1/4", Gr 5
4шт.
6
86521615
BOLT,Hex, 1/2" - 13 x 1 1/2", Gr 5
7
86512371
SERRATED NUT,Flg, USR, 1/2"-13
8
87039402
NUT,3/8"-16, GB
Выбрано товаров: 0