Запчасти Case IH 1255 (35.162.AB[02]) - 12 ROW 30" SPACING WING WHEEL CYLINDERS (35) - HYDRAULIC SYSTEMS

Схема запчастей Case IH 1255 - (35.162.AB[02]) - 12 ROW 30" SPACING WING WHEEL CYLINDERS (35) - HYDRAULIC SYSTEMS
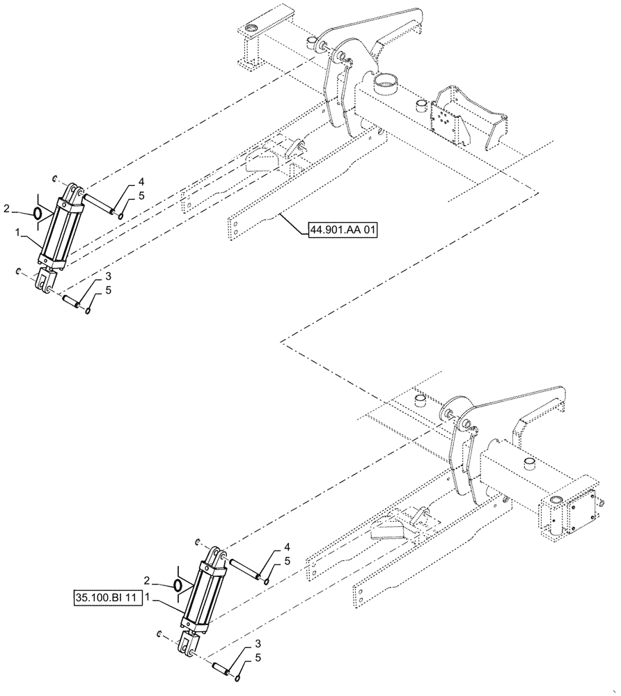
44.901.aa 01
4
5
5
3
2
3
5
1
1
2
5
4
35.100.bi 11
FIT
1:1
100%

Артикул

Название

Примечание

Количество

1

87618014

HYDRAULIC CYLINDER,Double Acting, 38.1mm Rod, 203.2mm Stroke

Assy, 4.25 x 8.0 Slave

2шт.

2

87409041

SEAL KIT

Hydraulic Cylinder

1шт.

3

87604817

PIN

25.4 x 79.2

2шт.

4

87604818

PIN

25.4 x 175.4

2шт.

5

87019495

SNAP RING,#98, Ext

8шт.

Выбрано товаров: 5