Запчасти Case IH 1255 (79.105.AD[01]) - ROW UNIT STANDARD LEAD OPENER (79) - PLANTING

Схема запчастей Case IH 1255 - (79.105.AD[01]) - ROW UNIT STANDARD LEAD OPENER (79) - PLANTING
79.105.ad 02
14
17
28
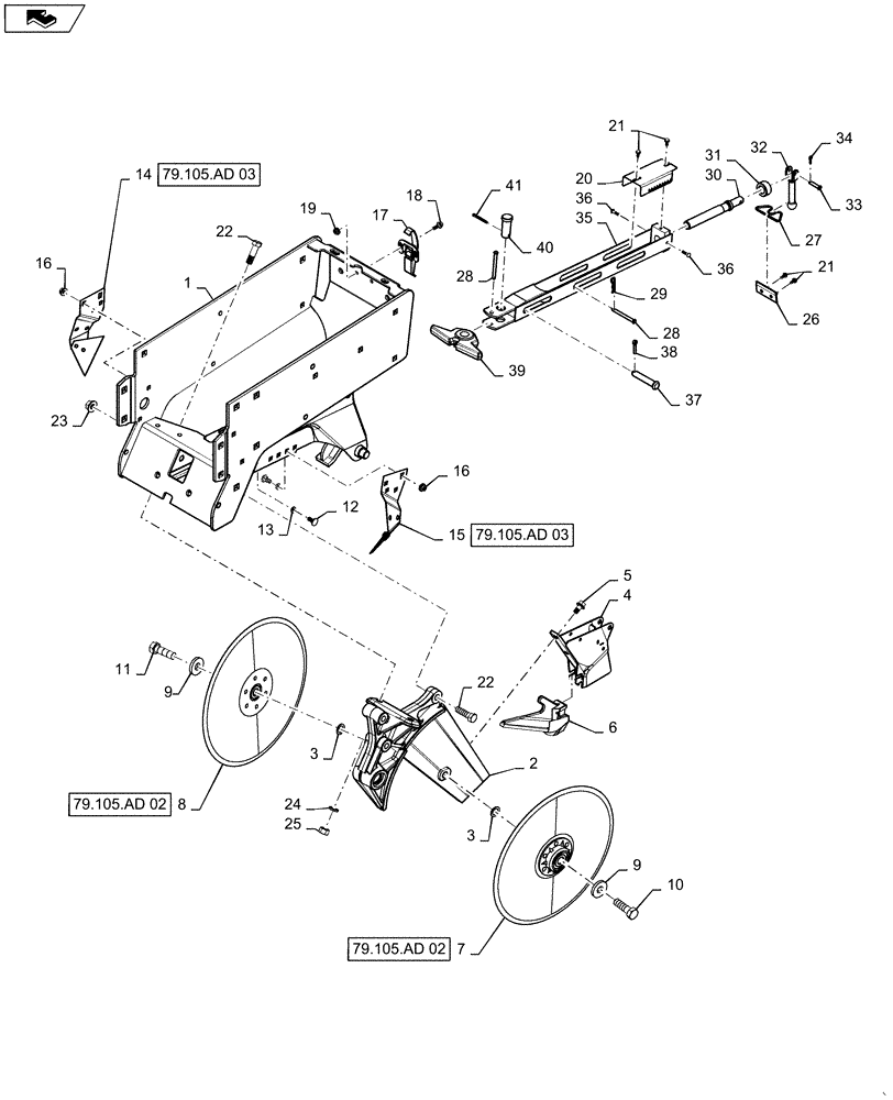
1
11
16
24
21
5
23
30
41
18
2
19
16
31
37
9
34
33
27
22
13
12
36
21
40
36
3
20
3
28
32
38
7
6
29
4
25
8
35
10
9
39
15
22
26
79.105.ad 03
79.105.ad 03
79.105.ad 02
FIT
1:1
100%

Артикул

Название

Примечание

Количество

1

84351569

FRAME

Planter Row Unit

1шт.

2

436708A1

SUPPORT

Left Opener Disc, Painted

1шт.

2

436709A1

SUPPORT

Right Opener Disc, Painted

1шт.

3

1268381C1

WASHER,16.66mm ID x 25.4mm OD x 0.05mm Thk

.656 x 1.000 x .054 Hard

3шт.

4

84243285

SHOE

Seed Black

1шт.

5

1263977C1

BOLT

Hex Head

2шт.

6

436702A1

POINT

Furrow

1шт.

7

84398745

DISC

14" Leading

1шт.

8

84398746

DISC

14" Trailing

1шт.

9

122432

WASHER,17mm ID x 41mm OD x 6mm Thk

Flat

2шт.

10

87698796

BOLT,Hex, 5/8-11 1.75 Full LH Thd Gr 8

.625 x 2

1шт.

11

86508732

BOLT,5/8"-11 x 2.391" Cl 8

1шт.

12

51200045

CARRIAGE BOLT

4шт.

13

83918746

WASHER,0.34" ID x 0.69" OD x 0.07" Thk

1шт.

14

84227670

SCRAPER

Left Hand

1шт.

15

84227671

SCRAPER

Right Hand

1шт.

16

145458

SERRATED NUT,5/16"-18 GR 5 ZND

4шт.

17

84410488

LATCH

1шт.

18

86521550

BOLT,Hex, 1/4" - 20 x 3/4", Gr 5

2шт.

19

523282

SERRATED NUT,Flg, USR, 1/4"-20

2шт.

20

430873A1

GAUGE

Depth

1шт.

21

86624112

SELF-TAP SCREW,HWH, #10 - 24 x 1/2"

4шт.

22

9707516

BOLT,1/2"-13 x 1-3/4", Cl 5

3шт.

23

86512371

SERRATED NUT,Flg, USR, 1/2"-13

1шт.

24

80679

LOCK WASHER,1/20.507 CST ZND

2шт.

25

280431

NUT,1/2"-13, G5

2шт.

26

430872A1

GAUGE

Clamp

1шт.

27

430869A1

SPRING CLIP

Retainer

1шт.

28

147310C1

HEADED PIN,6.35mm OD x 69.85mm L

.250 x 2.750

1шт.

29

544063R1

HAIR PIN COTTER

1шт.

30

1279684C1

ROD

Depth Adjusting

1шт.

31

430871A1

BUSHING,17.5mm ID x 31.8mm OD x 16mm L

Spacer

1шт.

32

430868A1

HANDLE

Depth

1шт.

33

86624076

HEADED PIN,1/4" x 1 1/4", G5

1шт.

34

87394

COTTER PIN,1/8" x 1/2"

1шт.

35

432749A1

BAR

Tension

1шт.

36

1277597C1

STUD

Barbed

2шт.

37

86624072

HEADED PIN,12.7mm OD x 69.85mm L

1шт.

38

87397

COTTER PIN,3/16" OD x 1" L

1шт.

39

436712A1

BRACKET

Wobble

1шт.

40

86624066

CLEVIS PIN,19.05mm OD x 45.62mm L

1шт.

41

86523851

COTTER PIN,5/32" x 1 1/4"

1шт.

Выбрано товаров: 0