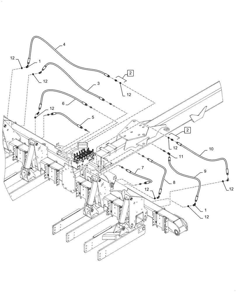
Запчасти Case IH 1255 (35.948.AD[03]) - HYDRAULICS CENTER SECTION FOR 16 ROW 30" SPACING (35) - HYDRAULIC SYSTEMS

Схема запчастей Case IH 1255 - (35.948.AD[03]) - HYDRAULICS CENTER SECTION FOR 16 ROW 30" SPACING (35) - HYDRAULIC SYSTEMS
9
12
4
12
1
5
1
12
12
12
12
12
8
12
12
11
12
7
10
3
12
12
2
12
12
12
2
6
FIT
1:1
100%

Артикул

Название

Примечание

Количество

1

128830

90 ELBOW,3/4" - 16 JIC x 3/4" - 16 ORB

6шт.

2

81827427

HYD CONNECTOR,3/4" - 16 JIC x 3/4" - 16 ORB

Incl 12

10шт.

3

47409380

HOSE

from Port LCW to Left Outer Center Cylinder Base End (1/2 x 1780mm Long)

1шт.

4

47409552

HOSE

from Port LCWX to Left Outer Center Cylinder Rod End (.5 x 2180mm Long)

1шт.

5

47409374

HOSE

from Port LIW to Left Inner Center Cylinder Base End (.5 x 940mm Long)

1шт.

6

47409551

HOSE

from Port LIWX to Left Inner Center Cylinder Rod End (.5 x 1195mm Long)

1шт.

7

47409355

HOSE

from Port RIW to Right Inner Center Cylinder Base End (.5 x 840mm Long)

1шт.

8

47409440

HOSE

from Port RIWX to Right Inner Center Cylinder Rod End (.5 x 1090mm Long)

1шт.

9

47409360

HOSE

from Port RCWX to Right Outer Center Cylinder Rod End (1/2 x 1650mm Long)

1шт.

10

47409442

HOSE

.5 x 2030 mm

1шт.

11

248992

45 ELBOW,45 Degree, 3/4"-16, 37 Degree x 3/4"-16, 37 Degree Fem Sw

1шт.

12

128825

O-RING,0.087" Thk x 0.644" ID, -908, Cl 6, 90 Duro

1шт.

Выбрано товаров: 0