Запчасти Case IH 1255 (35.162.AB[03]) - HYDRAULIC VALVE LIFT AND FOLD BREAKDOWN (35) - HYDRAULIC SYSTEMS

Схема запчастей Case IH 1255 - (35.162.AB[03]) - HYDRAULIC VALVE LIFT AND FOLD BREAKDOWN (35) - HYDRAULIC SYSTEMS
14
5
1
13
9
10
4
12
6
6
4
7
2
3
11
8
FIT
1:1
100%

Артикул

Название

Примечание

Количество

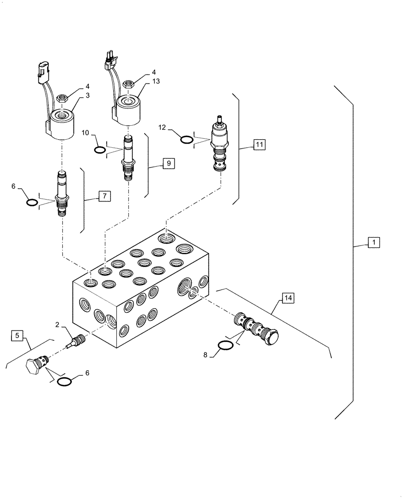
1

87682612

VALVE

Assy, Lift and Fold, Incl 2 - 14

1шт.

2

1272343C2

PISTON

Pilot

1шт.

3

1340843C1

SOLENOID,12V

Solenoid W/ Packard

2шт.

4

73113425

NUT

1/2"-20, Thin

17шт.

5

442478A1

CHECK VALVE

Assy, 20 PSI

1шт.

6

86508168

SEAL KIT

Relief Valve

3шт.

7

87436627

VALVE

Assy, 2 Way Cartridge

2шт.

8

1341812C1

O-RING KIT

Flow Divider

1шт.

9

87506119

VALVE

Bi-directional Cartridge

15шт.

10

126054A1

SEAL PACKAGE

Flow Control

15шт.

11

87506120

VALVE

Assy, Counter Balance

2шт.

12

190709A1

SEAL KIT

Pressure Reducing

2шт.

13

87506121

COIL

Bi-directional Solenoid

15шт.

14

87647780

FLOW DIVIDER

Valve Assy

1шт.

Выбрано товаров: 0