Запчасти Case IH 1255 (55.100.AA[11]) - HARNESS TOOLBAR 24 ROW 2 CAN (55) - ELECTRICAL SYSTEMS

Схема запчастей Case IH 1255 - (55.100.AA[11]) - HARNESS TOOLBAR 24 ROW 2 CAN (55) - ELECTRICAL SYSTEMS
6
14
3
27
10
4
8
12
22
9
11
2
23
15
25
7
16
5
24
21
18
1
17
20
13
19
26
FIT
1:1
100%

Артикул

Название

Примечание

Количество

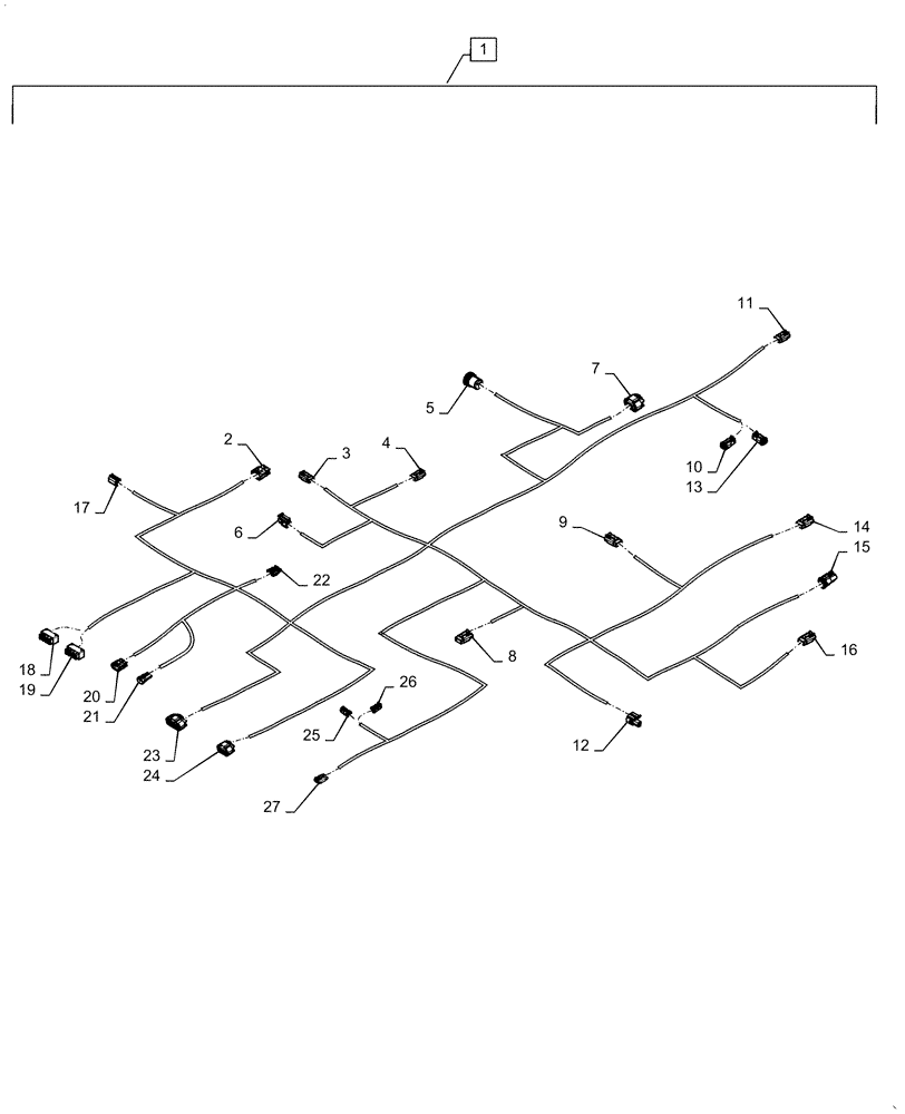
1

84540062

WIRE HARNESS

Toolbar, 24 Row 2 Can, Incl 2 - 27

1шт.

2

87698254

ELEC CONNECTOR

X-256, Clutch Can/Term

1шт.

2

87694140

ELEC CONNECTOR

X-256, Clutch Can/Term Lock

1шт.

2

87697671

TERMINAL

X-256, Clutch Can/Term

6шт.

2

84148225

SEAL

X-256, Clutch Can/Term

4шт.

2

87698532

SEAL,2.5 - 3.2mm

X-256, Clutch Can/Term

6шт.

2

84193152

TERMINAL

X-256, Clutch Can/Term

4шт.

3

87696551

CONTACT HOUSING,Female, 3 Pole

X-219, Low Bin 3

1шт.

3

87705586

WEDGE

X-219, Low Bin 3

1шт.

3

87696954

TERMINAL,Female, Nickel, 0.35 - 1.50mm

X-219, Low Bin 3

3шт.

4

87696551

CONTACT HOUSING,Female, 3 Pole

X-217, Low Bin 1

1шт.

4

87705586

WEDGE

X-217, Low Bin 1

1шт.

4

87696954

TERMINAL,Female, Nickel, 0.35 - 1.50mm

X-217, Low Bin 1

3шт.

5

87706509

SOCKET/RECEPTACLE

X-209, Calibration Switch

1шт.

5

87695921

CONTACT,Female, Nickel, 0.50 - 1.00mm

X-209, Calibration Switch

2шт.

6

87692837

WIRE CONNECTOR,Female, 3 Pole

X-226, Vacuum Sensor A

1шт.

6

87690510

ELEC. TERMINAL PIN,Female, 0.75 - 1 mm2

X-226, Vacuum Sensor A

3шт.

7

84137509

ELEC CONNECTOR

X-239, Air Compressor

1шт.

7

87699200

WIRE CONNECTOR

X-239, Air Compressor

1шт.

7

87745379

PLUG

X-239, Air Compressor

1шт.

7

87697672

TERMINAL

X-239, Air Compressor

1шт.

7

87698532

SEAL,2.5 - 3.2mm

X-239, Air Compressor

1шт.

8

87696551

CONTACT HOUSING,Female, 3 Pole

X-223, LH, Wheel Speed

1шт.

8

87705586

WEDGE

X-223, LH, Wheel Speed

1шт.

8

87696954

TERMINAL,Female, Nickel, 0.35 - 1.50mm

X-223, LH, Wheel Speed

3шт.

9

87696551

CONTACT HOUSING,Female, 3 Pole

X-218, Low Bin 2

1шт.

9

87705586

WEDGE

X-218, Low Bin 2

1шт.

9

87696954

TERMINAL,Female, Nickel, 0.35 - 1.50mm

X-218, Low Bin 2

3шт.

10

87695582

ELEC CONNECTOR,Female, 2 Pole

X-207, Seed 1 Valve

1шт.

10

87695649

ELEC CONNECTOR,Locking, Green

X-207, Seed 1 Valve

1шт.

10

87695921

CONTACT,Female, Nickel, 0.50 - 1.00mm

X-207, Seed 1 Valve

2шт.

11

87696551

CONTACT HOUSING,Female, 3 Pole

X-224, Seed 1 FB

1шт.

11

87705586

WEDGE

X-224, Seed 1 FB

1шт.

11

87696954

TERMINAL,Female, Nickel, 0.35 - 1.50mm

X-224, Seed 1 FB

3шт.

12

87692837

WIRE CONNECTOR,Female, 3 Pole

X-227, Vacuum Sensor B

1шт.

12

87690510

ELEC. TERMINAL PIN,Female, 0.75 - 1 mm2

X-227, Vacuum Sensor B

3шт.

13

87695582

ELEC CONNECTOR,Female, 2 Pole

X-230, ASM Fan A

1шт.

13

87695649

ELEC CONNECTOR,Locking, Green

X-230, ASM Fan A

1шт.

13

87695921

CONTACT,Female, Nickel, 0.50 - 1.00mm

X-230, ASM Fan A

2шт.

14

87696551

CONTACT HOUSING,Female, 3 Pole

X-220, Low Bin 4

1шт.

14

87705586

WEDGE

X-220, Low Bin 4

1шт.

14

87696954

TERMINAL,Female, Nickel, 0.35 - 1.50mm

X-220, Low Bin 4

3шт.

15

87695580

ELEC CONNECTOR,Female, 3 Pole

X-221, Toolbar Position

1шт.

15

87695921

CONTACT,Female, Nickel, 0.50 - 1.00mm

X-221, Toolbar Position

3шт.

16

87696551

CONTACT HOUSING,Female, 3 Pole

X-222, RH, Wheel Speed

1шт.

16

87705586

WEDGE

X-222, RH, Wheel Speed

1шт.

16

87696954

TERMINAL,Female, Nickel, 0.35 - 1.50mm

X-222, RH, Wheel Speed

3шт.

17

87694109

ELEC CONNECTOR

X-257, Scale

1шт.

17

87694149

ELEC CONNECTOR

X-257, Scale Lock

1шт.

17

84068583

PLUG,12 - 16 Ga, White

X-257, Scale

2шт.

17

87695921

CONTACT,Female, Nickel, 0.50 - 1.00mm

X-257, Scale

4шт.

18

87268797

MULTIPOLE CONNECTOR,Female, 30 Pole

X-202, ECU 1A

1шт.

18

84142712

PLUG

X-202, ECU 1A

14шт.

18

87270687

ELEC. TERMINAL PIN,Female, 0.75 - 1.5 mm2

X-202, ECU 1A

7шт.

18

87270686

TERMINAL

X-202, ECU 1A

9шт.

19

87268798

MULTIPOLE CONNECTOR,Female, 30 Pole

X-203, ECU 1B

1шт.

19

84142712

PLUG

X-203, ECU 1B

4шт.

19

87270687

ELEC. TERMINAL PIN,Female, 0.75 - 1.5 mm2

X-203, ECU 1B

1шт.

19

87270686

TERMINAL

X-203, ECU 1B

14шт.

19

87270687

ELEC. TERMINAL PIN,Female, 0.75 - 1.5 mm2

X-203, ECU 1B

12шт.

20

84137495

TERMINAL

X-201, ECU 1

1шт.

20

87745379

PLUG

X-201, ECU 1, Plug

2шт.

20

87699200

WIRE CONNECTOR

X-201, ECU 1, Lock

1шт.

20

87697671

TERMINAL

X-201, ECU 1

6шт.

20

84148225

SEAL

X-201, ECU 1

6шт.

21

87694718

ELEC CONNECTOR

X-250, Implement Can

1шт.

21

87694719

LOCKING TAB,Wedge Lock

X-250, Implement Can

1шт.

21

87689636

PLUG,Red, Taxi Seal Connector Cavity

X-250, Implement Can

2шт.

21

87690460

TERMINAL

X-250, Implement Can

4шт.

21

87689629

SEAL

X-250, Implement Can

4шт.

22

87692817

ELEC CONNECTOR

X-245, Seed Sensor Bus

1шт.

22

87692856

CABLE TERMINAL

X-245, Seed Sensor Bus

4шт.

22

87680701

SEAL

X-245, Seed Sensor Bus

4шт.

23

84137524

ELEC CONNECTOR

X-205, Liquid Fertilizer

1шт.

23

87745379

PLUG

X-205, Liquid Fertilizer Plug

4шт.

23

87745379

PLUG

X-205, Liquid Fertilizer Plug

12шт.

23

84193153

TERMINAL

X-205, Liquid Fertilizer

7шт.

23

84143101

SEAL

X-205, Liquid Fertilizer

7шт.

23

87697672

TERMINAL

X-205, Liquid Fertilizer

1шт.

23

87698532

SEAL,2.5 - 3.2mm

X-205, Liquid Fertilizer

1шт.

24

84137509

ELEC CONNECTOR

X-204, Bulk Fill

1шт.

24

87699200

WIRE CONNECTOR

X-204, Bulk Fill Lock

1шт.

24

87745379

PLUG

X-204, Bulk Fill Plug

1шт.

24

84137495

TERMINAL

X-204, Bulk Fill

1шт.

24

87745379

PLUG

X-204, Bulk Fill Plug

8шт.

24

84193153

TERMINAL

X-204, Bulk Fill

6шт.

24

84143101

SEAL

X-204, Bulk Fill

6шт.

24

87697672

TERMINAL

X-204, Bulk Fill

1шт.

24

87698532

SEAL,2.5 - 3.2mm

X-204, Bulk Fill

1шт.

25

87695582

ELEC CONNECTOR,Female, 2 Pole

X-216, ASM Fan B

1шт.

25

87695649

ELEC CONNECTOR,Locking, Green

X-216, ASM Fan B

1шт.

25

87695921

CONTACT,Female, Nickel, 0.50 - 1.00mm

X-216, ASM Fan B

2шт.

26

87695582

ELEC CONNECTOR,Female, 2 Pole

X-208, Seed 2 Valve

1шт.

26

87695649

ELEC CONNECTOR,Locking, Green

X-208, Seed 2 Valve

1шт.

26

87695921

CONTACT,Female, Nickel, 0.50 - 1.00mm

X-208, Seed 2 Valve

2шт.

27

87696551

CONTACT HOUSING,Female, 3 Pole

X-225, Seed 2 FB

1шт.

27

87705586

WEDGE

X-225, Seed 2 FB

1шт.

27

87696954

TERMINAL,Female, Nickel, 0.35 - 1.50mm

X-225, Seed 2 FB

3шт.

Выбрано товаров: 98