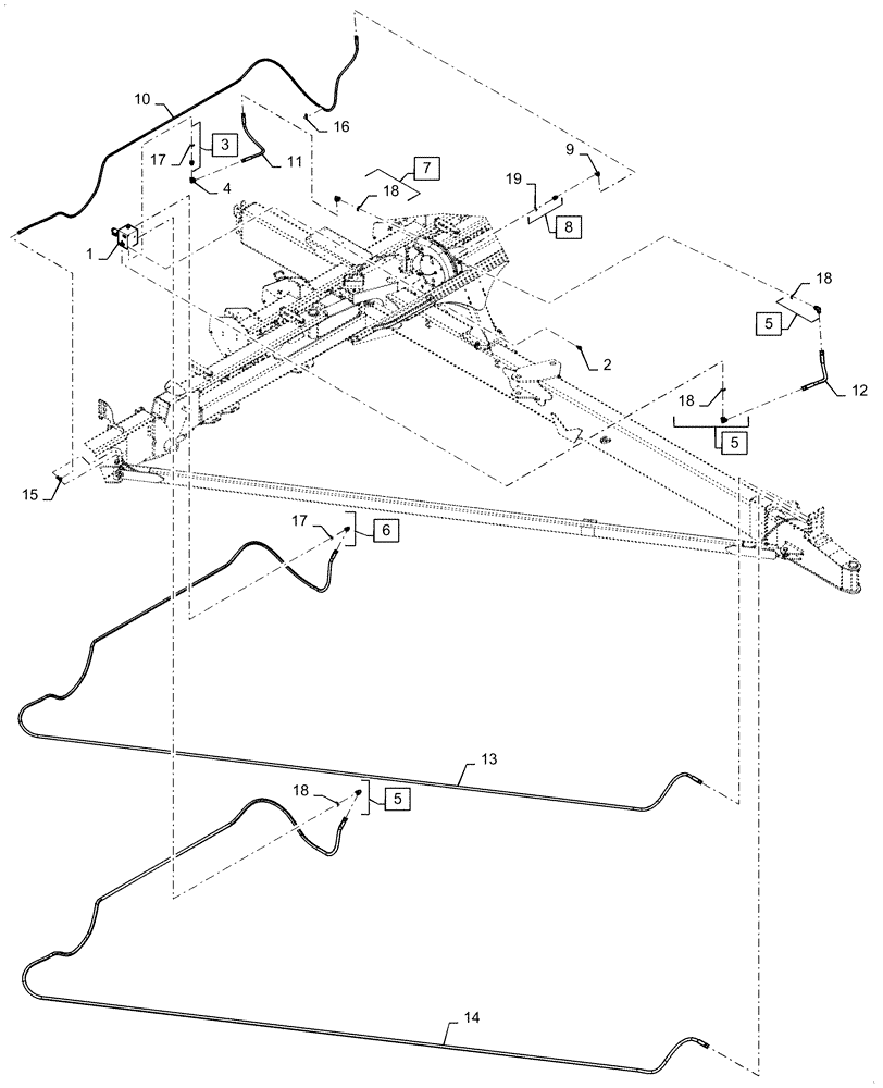
Запчасти Case IH 1255 (35.744.AC[02]) - HYDRAULICS BULK FILL HOSES (35) - HYDRAULIC SYSTEMS

Схема запчастей Case IH 1255 - (35.744.AC[02]) - HYDRAULICS BULK FILL HOSES (35) - HYDRAULIC SYSTEMS
10
18
14
12
9
18
18
1
15
3
17
5
5
16
13
6
18
11
17
4
2
7
8
5
19
FIT
1:1
100%

Артикул

Название

Примечание

Количество

1

84538083

VALVE

Block Bulk Fill Assy

1шт.

2

9628510

BOLT,Hex, 3/8" - 16 x 3/4", Gr 5

3шт.

3

128819

HYD CONNECTOR,7/8" - 14 ORB x 3/4" - 16 JIC

Incl 17

1шт.

4

248974

90 ELBOW,3/4" - 16 JIC x 3/4" - 16 Fem Sw

1шт.

5

322894

90 ELBOW,1-1/16" - 12 JIC x 1-1/16" - 12 ORB

Incl 18

3шт.

6

164910

90 ELBOW,7/8" - 14 JIC x 7/8" - 14 ORB

Incl 17

1шт.

7

87329785

ELBOW,90 Degree, 1-1/16" - 12 ORB x 3/4" - 16 JIC

Incl 18

1шт.

8

76350

HYD CONNECTOR,9/16" - 18 ORB x 9/16" - 18 JIC

Incl 19

1шт.

9

86629586

90 ELBOW,9/16" - 18 JIC x 9/16" - 18 Fem Sw

1шт.

10

84526404

HOSE

from Vacuum Fan Motor to Tee (.375 x 5600mm Long)

1шт.

11

1336925C1

HYDRAULIC HOSE

from Vacuum Fan Motor to Port B1 on Block Bulk Fill Valve (12.5 x 840mm Long)

1шт.

12

84223562

HYDRAULIC HOSE

from Vacuum Fan Motor to Port B2 on Block Bulk Fill Valve (19 x 750mm Long)

1шт.

13

47479055

HOSE

from Port P1 on Block Bulk Fill Valve to Hitch Mounting Bracket (16mm x 12300mm Long)

1шт.

14

87448898

HYDRAULIC HOSE,19mm ID x 12580mm L, SAE 100R17

from Port T1 on Block Bulk Fill Valve to Hitch Mounting Bracket (19mm x 12580mm Long)

1шт.

15

129274

TEE,9/16" - 18 JIC x 9/16" - 18 JIC x 9/16" - 18 JIC

1шт.

16

86594406

CLAMP,15.9mm, Coat, 10.3mm Bolt Hole, P Type

1шт.

17

167269

O-RING,0.097" Thk x 0.755" ID, -910, Cl 6, 90 Duro

1шт.

18

167266

O-RING,0.116" Thk x 0.924" ID, -912, Cl 6, 90 Duro

1шт.

19

9617873

O-RING,0.078" Thk x 0.468" ID, -906, Cl 6, 90 Duro

1шт.

Выбрано товаров: 0