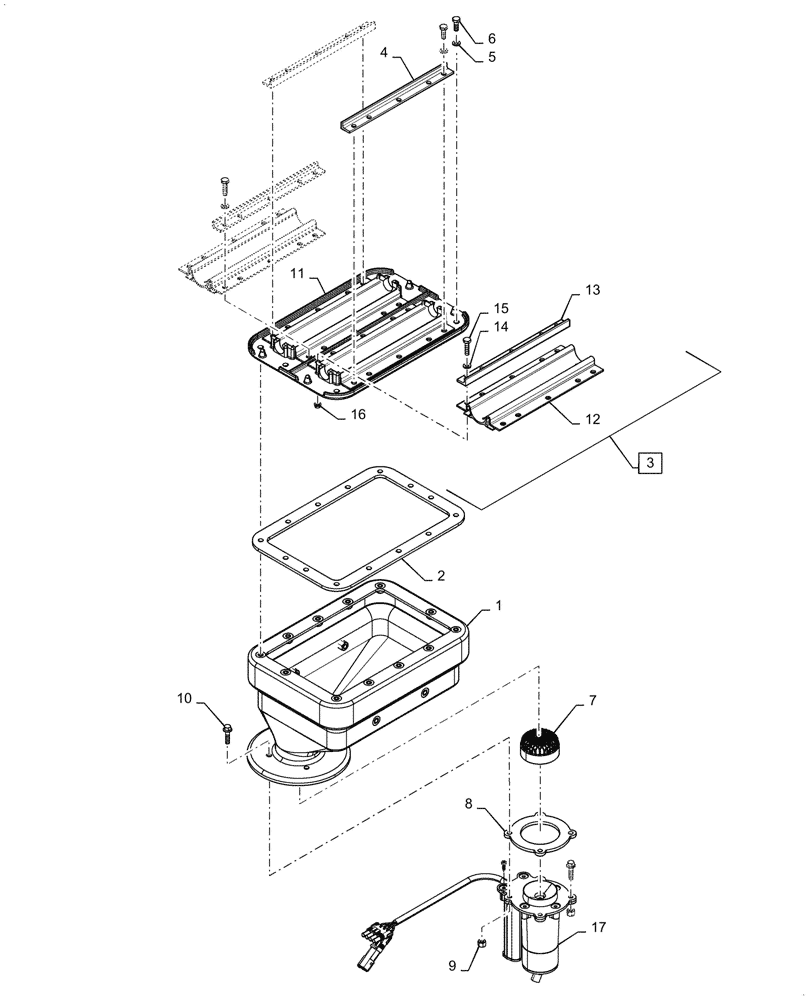
Запчасти Case IH 2150 (63.110.AF[01]) - GRANULAR CHEMICAL BOX (63) - CHEMICAL APPLICATORS

Схема запчастей Case IH 2150 - (63.110.AF[01]) - GRANULAR CHEMICAL BOX (63) - CHEMICAL APPLICATORS
5
4
2
10
17
15
1
7
8
3
14
9
12
6
16
13
11
FIT
1:1
100%

Артикул

Название

Примечание

Количество

1

47583082

TANK

Hopper

1шт.

2

47691849

SEAL

Protection

1шт.

3

47788186

PLATE

Top Plate Incl

1шт.

4

47691842

SUPPORT

Rubber Boot

2шт.

5

47787131

WASHER

1/4" Lock

12шт.

6

47787065

BOLT

1/4"

12шт.

7

47766745

SCREEN

Chemical Meter

1шт.

8

47766751

GASKET

Chemical Meter

1шт.

9

86625061

NUT,1/4"-20, GB

4шт.

10

86544366

BOLT,Hex, 1/4" - 20 x 1", Gr 5

4шт.

11

NSS

NOT SOLD SEPARAT

Hopper Support Incl in 3

1шт.

12

NSS

NOT SOLD SEPARAT

Seal Incl in 3

2шт.

13

47691842

SUPPORT

Rubber Boot

2шт.

14

47787131

WASHER

1/4"

6шт.

15

47798855

BOLT

1/4"

6шт.

16

47798956

NUT

6шт.

17

47577041

METER

Chemical

1шт.

Выбрано товаров: 17