Запчасти Case IH 2150 (63.110.AB[18]) - LIQUID FERTILIZER QUICK FILL, 24 ROW (63) - CHEMICAL APPLICATORS

Схема запчастей Case IH 2150 - (63.110.AB[18]) - LIQUID FERTILIZER QUICK FILL, 24 ROW (63) - CHEMICAL APPLICATORS
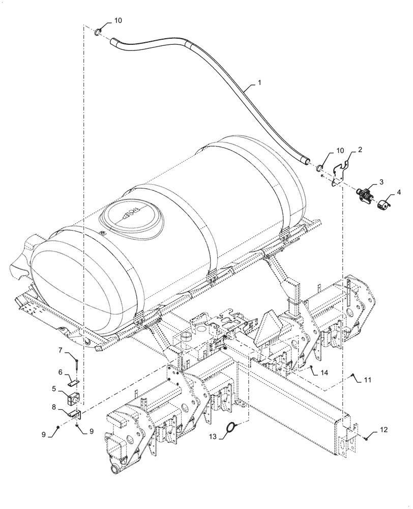
5
14
8
9
10
2
4
3
11
12
1
10
13
7
6
9
FIT
1:1
100%

Артикул

Название

Примечание

Количество

1

86988667

HOSE,2.00" ID x 100.00'

Bulk, Cut to Length 2590mm L

1шт.

2

47985041

BRACKET

Fertilizer and 7-Pin Extension, Red

1шт.

3

87503192

SHUT-OFF VALVE,2" Valve

2" Stubby

1шт.

4

405799A1

DUST CAP,2" Cap w/Short Arms

2"

1шт.

5

2928341

HOSE CLIP

Hydraulic Tube, 63.5mm

1шт.

6

47808661

BRACKET

Delta Force, Red

1шт.

7

86624958

BOLT,Hex, M10 x 110mm, Cl 8.8

2шт.

8

47947608

BRACKET

Quick Fill Support, Red

1шт.

9

86619802

FLANGE NUT,M10 x 1.5, Cl 8

6шт.

10

86637706

HOSE CLAMP,39.6mm - 63.5mm

2шт.

11

86512446

CARRIAGE BOLT,M10 x 1.5 x 30mm, Cl 8.8

2шт.

12

9804262

BOLT,M10 x 39.2mm, Cl 8.8

2шт.

13

84251797

HOLDER

3.5"

1шт.

14

87681210

FLANGE NUT,M8 x 1.25, Cl 10

1шт.

Выбрано товаров: 14