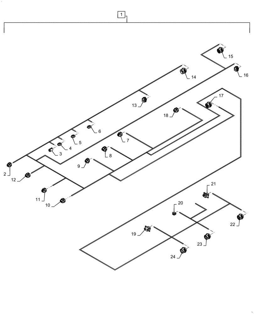
Запчасти Case IH 2150 (55.015.AB[01]) - WIRE HARNESS UCM INTERFACE (55) - ELECTRICAL SYSTEMS

Схема запчастей Case IH 2150 - (55.015.AB[01]) - WIRE HARNESS UCM INTERFACE (55) - ELECTRICAL SYSTEMS
2
10
22
7
13
16
1
12
14
17
5
21
23
20
15
19
11
18
6
9
4
24
3
8
FIT
1:1
100%

Артикул

Название

Примечание

Количество

1

47601638

WIRE HARNESS

UCM Interface Incl 2 - 24

1шт.

2

82016219

MULTIPOLE CONNECTOR,Female, 26 Pole

UCM

1шт.

2

82017048

CABLE TERMINAL

Female Gold

26шт.

2

82017049

PLUG

Cavity Seal

26шт.

3

87694112

ELEC CONNECTOR,Female, 6 Pole

Light Module

1шт.

3

87695609

ELEC. TERMINAL PIN,Female, 0.5 - 1.2 mm2

Female Nickel

6шт.

3

84068583

PLUG,12 - 16 Ga, White

Plug Seal

6шт.

3

87694150

LOCKING TAB,Wedge Lock

Lock

1шт.

4

87688712

WIRE CONNECTOR,Female

Fuse #1 20 Amp

1шт.

4

87688863

CAP

Cover

1шт.

4

87693743

FUSE,20A, Blade/Uni

1шт.

5

87688712

WIRE CONNECTOR,Female

Fuse #2 20 Amp

1шт.

5

87688863

CAP

Cover

1шт.

5

87693743

FUSE,20A, Blade/Uni

1шт.

6

87688712

WIRE CONNECTOR,Female

Fuse #3 20 Amp

1шт.

6

87688863

CAP

Cover

1шт.

6

87693743

FUSE,20A, Blade/Uni

1шт.

7

82028493

MULTIPOLE CONNECTOR,Female, 26 Pole

UCM 4A

1шт.

7

82017048

CABLE TERMINAL

Female Gold

26шт.

7

82017049

PLUG

Cavity Seal

26шт.

8

84130760

ELEC CONNECTOR,Female, 34 Cavities

UCM 3B

1шт.

8

82017048

CABLE TERMINAL

Female Gold

34шт.

8

82017049

PLUG

Cavity Seal

34шт.

9

84130757

ELEC CONNECTOR,Female, 26 Cavities

UCM 3A

1шт.

9

82017048

CABLE TERMINAL

Female Gold

26шт.

9

82017049

PLUG

Cavity Plug

26шт.

10

82028495

MULTIPOLE CONNECTOR,Female, 34 Pole

UCM 2B

1шт.

10

82017048

CABLE TERMINAL

Female Gold

34шт.

10

82017049

PLUG

Cavity Seal

34шт.

11

82028493

MULTIPOLE CONNECTOR,Female, 26 Pole

UCM 2A

1шт.

11

82017048

CABLE TERMINAL

Female Gold

26шт.

11

82017049

PLUG

Cavity Seal

1шт.

12

87410946

MULTIPOLE CONNECTOR,Female, 34 Cavities

UCM 1B

1шт.

12

82017048

CABLE TERMINAL

Female Gold

34шт.

12

82017049

PLUG

Cavity Seal

12шт.

13

87697770

MULTIPOLE CONNECTOR,Female, 5 Pole

Power Control

1шт.

13

84180790

TERMINAL

Female Tin

5шт.

13

87680704

SEAL

Cavity Seal

5шт.

13

87705088

WEDGE

Lock

1шт.

13

84179509

RELAY

12 Volt

1шт.

14

87696098

ELEC CONNECTOR

Hitch

1шт.

14

87696144

ELEC. TERMINAL PIN,Male, 2 - 3.5 mm2

19шт.

14

87700175

ELEC CONNECTOR

Shell

1шт.

14

87271930

NUT

Plastic

1шт.

15

84567364

ELEC CONNECTOR

Toolbar Bulkhead

1шт.

15

87697866

TERMINAL,Female, Nickel, 0.50 - 1.00mm

Female Nickel

47шт.

15

84068583

PLUG,12 - 16 Ga, White

47шт.

15

87271930

NUT

1шт.

16

87697770

MULTIPOLE CONNECTOR,Female, 5 Pole

1шт.

16

84180790

TERMINAL

Female Tin

5шт.

16

87680704

SEAL

Canity

5шт.

16

87705088

WEDGE

Lock

1шт.

16

84179509

RELAY

12 Volt

1шт.

17

84400777

LOCKING TAB,Wedge Lock

Frame Bulkhead

1шт.

17

87695609

ELEC. TERMINAL PIN,Female, 0.5 - 1.2 mm2

31шт.

17

87700175

ELEC CONNECTOR

Plastic Shell

1шт.

17

87271930

NUT

Plastic

1шт.

18

82028495

MULTIPOLE CONNECTOR,Female, 34 Pole

1шт.

18

82017048

CABLE TERMINAL

Female Gold

34шт.

18

82017049

PLUG

Cavity Seal

34шт.

19

87700108

ELEC CONNECTOR

Can 1 Bulkhead

1шт.

19

87697956

TERMINAL

Male Gold

12шт.

19

84068583

PLUG,12 - 16 Ga, White

12шт.

19

87698541

LOCKING TAB,Wedge Lock, 12-Pin

Wedge Lock

1шт.

20

87694714

ELEC CONNECTOR,Female, 6 Cavities

Can 4 Terminator

1шт.

20

87688852

ELEC. TERMINAL PIN

Female Tin

6шт.

20

87689636

PLUG,Red, Taxi Seal Connector Cavity

6шт.

20

87694719

LOCKING TAB,Wedge Lock

Wedge

1шт.

21

47593338

WIRE CONNECTOR

1шт.

21

84068583

PLUG,12 - 16 Ga, White

8шт.

22

84177900

ELEC CONNECTOR

1шт.

22

87695609

ELEC. TERMINAL PIN,Female, 0.5 - 1.2 mm2

23шт.

22

87700175

ELEC CONNECTOR

Shell Plastic

1шт.

22

84068583

PLUG,12 - 16 Ga, White

23шт.

23

84177899

ELEC CONNECTOR

Liquid Fertilizer Bulkhead

1шт.

23

87697875

ELEC. TERMINAL PIN,Female, 2 - 3.6 mm2

18шт.

23

87700175

ELEC CONNECTOR

Shell

1шт.

23

84068583

PLUG,12 - 16 Ga, White

Cavity Seal

23шт.

24

84400774

MULTIPOLE CONNECTOR,Female, 21 Pole

Bulk Fill Bulkhead

1шт.

24

87697875

ELEC. TERMINAL PIN,Female, 2 - 3.6 mm2

21шт.

24

87700175

ELEC CONNECTOR

Shell

1шт.

24

84068583

PLUG,12 - 16 Ga, White

21шт.

Выбрано товаров: 82