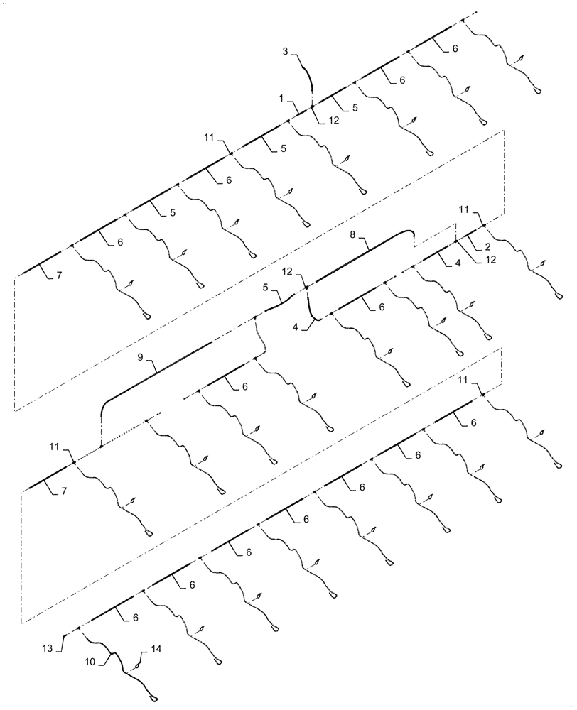
Запчасти Case IH 2150 (77.105.AF[11]) - CLOSING AIR PLUMBING 24 ROW FRONT FOLD (77) - SEEDING/PLANTING

Схема запчастей Case IH 2150 - (77.105.AF[11]) - CLOSING AIR PLUMBING 24 ROW FRONT FOLD (77) - SEEDING/PLANTING
13
4
5
6
11
14
11
6
1
5
6
3
6
6
6
7
4
8
12
5
11
11
2
5
6
10
7
6
12
12
6
6
6
9
6
6
FIT
1:1
100%

Артикул

Название

Примечание

Количество

1

47619238

PLASTIC-RUBBER TUBE

Bulk 3/8" ID, Cut to Length 120mm, White

1шт.

2

47619238

PLASTIC-RUBBER TUBE

Bulk 3/8" ID, Cut to Length 200mm, White

2шт.

3

47619238

PLASTIC-RUBBER TUBE

Bulk 3/8" ID, Cut to Length 430mm, White

1шт.

4

47619238

PLASTIC-RUBBER TUBE

Bulk 3/8" ID, Cut to Length 500mm, White

4шт.

5

47619238

PLASTIC-RUBBER TUBE

Bulk 3/8" ID, Cut to Length 630mm, White

2шт.

6

47619238

PLASTIC-RUBBER TUBE

Bulk 3/8" ID, Cut to Length 740mm, White

15шт.

7

47619238

PLASTIC-RUBBER TUBE

Bulk 3/8" ID, Cut to Length 790mm, White

2шт.

8

47619238

PLASTIC-RUBBER TUBE

Bulk 3/8" ID, Cut to Length 2600mm, White

1шт.

9

47619238

PLASTIC-RUBBER TUBE

Bulk 3/8" ID, Cut to Length 2900mm, White

1шт.

10

47619234

PLASTIC-RUBBER TUBE

Bulk 1/4" ID, Cut to Length 2080mm, White

24шт.

11

47633933

HYD CONNECTOR

24шт.

12

47633932

HYD CONNECTOR

5шт.

13

47705231

PLUG

6шт.

14

87502038

CABLE TIE

24шт.

Выбрано товаров: 14