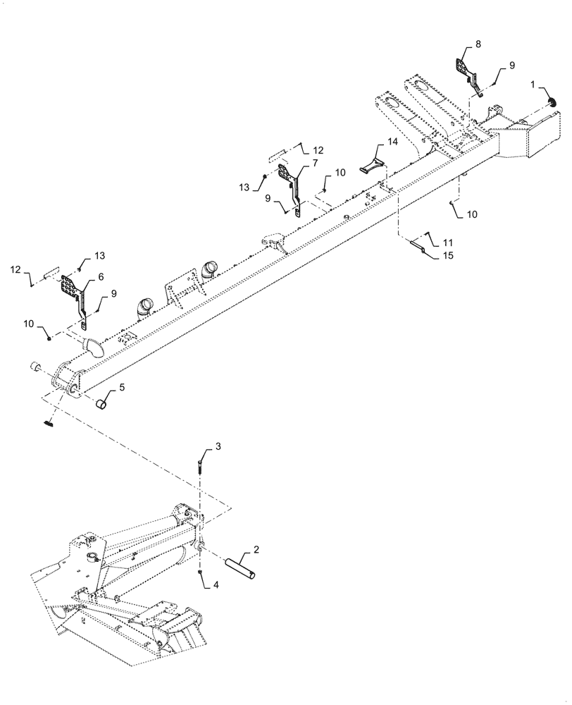
Запчасти Case IH 2160 (39.902.AB[17]) - OUTER WING LEFT 36 ROW, 66 FOOT (39) - FRAMES AND BALLASTING

Схема запчастей Case IH 2160 - (39.902.AB[17]) - OUTER WING LEFT 36 ROW, 66 FOOT (39) - FRAMES AND BALLASTING
10
4
15
8
13
11
2
5
9
12
10
7
13
14
6
10
9
1
3
12
9
FIT
1:1
100%

Артикул

Название

Примечание

Количество

1

48004520

PLUG

2шт.

2

47804924

PIN

1шт.

3

86505748

BOLT,Hex, M24 x 3 x 160mm, Cl 10.9

1шт.

4

86536986

NUT,M24 x 3, Cl 10

1шт.

5

87503180

BUSHING

2шт.

6

47959326

SUPPORT

Seed Delivery, 15

4шт.

7

47959329

SUPPORT

Seed Delivery, 8

7шт.

8

47959323

SUPPORT

Over Wing

1шт.

9

9804262

BOLT,M10 x 39.2mm, Cl 8.8

24шт.

10

9804278

FLANGE NUT,M10 x 1.5, Cl 8

24шт.

11

86629239

COTTER PIN,Int, 5/16" x .177

1шт.

12

9804258

BOLT,Hex, M8 x 1.25 x 20mm, Cl 8.8

2шт.

13

87681210

FLANGE NUT,M8 x 1.25, Cl 10

2шт.

14

47966482

LOCK

1шт.

15

47966490

PIN

1шт.

Выбрано товаров: 15