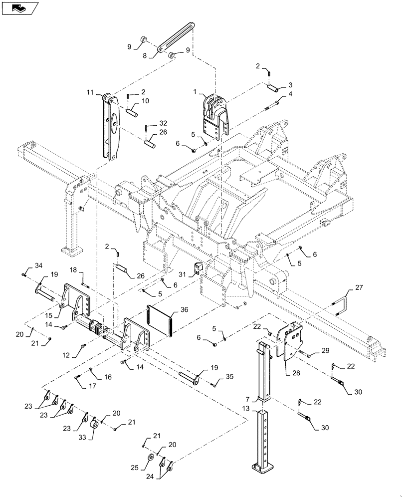
Запчасти Case IH 4025 (39.100.AB[01]) - MAIN FRAME (39) - FRAMES AND BALLASTING

Схема запчастей Case IH 4025 - (39.100.AB[01]) - MAIN FRAME (39) - FRAMES AND BALLASTING
6
26
10
3
31
20
14
9
23
24
home
11
6
30
36
26
5
13
5
19
32
22
35
8
19
20
2
4
29
30
22
23
17
7
27
9
6
6
23
21
21
22
28
15
1
14
16
5
34
2
5
33
12
20
21
2
18
25
FIT
1:1
100%

Артикул

Название

Примечание

Количество

1

73358896

BRACKET

TOP LINK WIDE WLDMT

1шт.

2

84158889

SLOTTED PIN

3шт.

3

73358519

CLEVIS PIN

1шт.

4

73358470

SCREW

1шт.

5

87340

LOCK WASHER,Helical Spring, 0.759" ID, CST, ZND

3шт.

6

280954

NUT,3/4"-10, G5

3шт.

7

73357261

STAND

LEG PARK OUTER

1шт.

8

73359050

PLATE

SLIDER TOP LINK

1шт.

9

73359113

TUBE

2шт.

10

73358517

CLEVIS PIN

1шт.

11

73357322

SUPPORT

3PYP MAST ASSEMBLY

1шт.

12

87337

BOLT,Hex, 3/4" - 10 x 3", Gr 5

1шт.

13

73357260

STAND

LEG PRK

1шт.

14

280173

BOLT,Hex, 3/4" - 10 x 2 3/4", Gr 5

2шт.

15

73357342

HITCH

1шт.

16

86625068

NUT,5/8"-11, G8

1шт.

17

73358575

SCREW

1шт.

18

87012913

BOLT

1шт.

19

73358544

HITCH PIN

2шт.

20

80679

LOCK WASHER,1/20.507 CST ZND

2шт.

21

9803187

NUT,1/2"-13, G8

2шт.

22

73358487

NUT

1шт.

23

73357721

SPACER

1шт.

24

73357722

SPACER

1шт.

25

73357723

TUBE

1шт.

26

73358508

PIN

2шт.

27

73358602

U-BOLT

1шт.

28

73358885

BRACKET

PRK STD SUP WLDMT

1шт.

29

280223

BOLT,Hex, 3/4"-10 x 6 1/2", G5

1шт.

30

73358542

HITCH PIN

2шт.

31

73357735

BRACKET

1шт.

32

73358555

PIN

1шт.

33

73357343

SPACER

1шт.

34

9707516

BOLT,1/2"-13 x 1-3/4", Cl 5

1шт.

35

87975

BOLT,Hex, 1/2" - 13 x 2 1/4", Gr 5

1шт.

36

73359083

SHIM

SHIM HITCH FLANGE

1шт.

Выбрано товаров: 36