Запчасти Case IH 4025 (39.100.AB[03]) - WINGS TO FRAME (39) - FRAMES AND BALLASTING

Схема запчастей Case IH 4025 - (39.100.AB[03]) - WINGS TO FRAME (39) - FRAMES AND BALLASTING
26
7
home
8
13
23
25
23
20
9
16
24
16
14
21
30
5
6
32
31
27
14
20
24
31
21
17
29
24
23
28
19
15
5
1
30
2
13
19
25
29
13
15
4
26
22
11
13
23
12
18
10
18
3
32
17
FIT
1:1
100%

Артикул

Название

Примечание

Количество

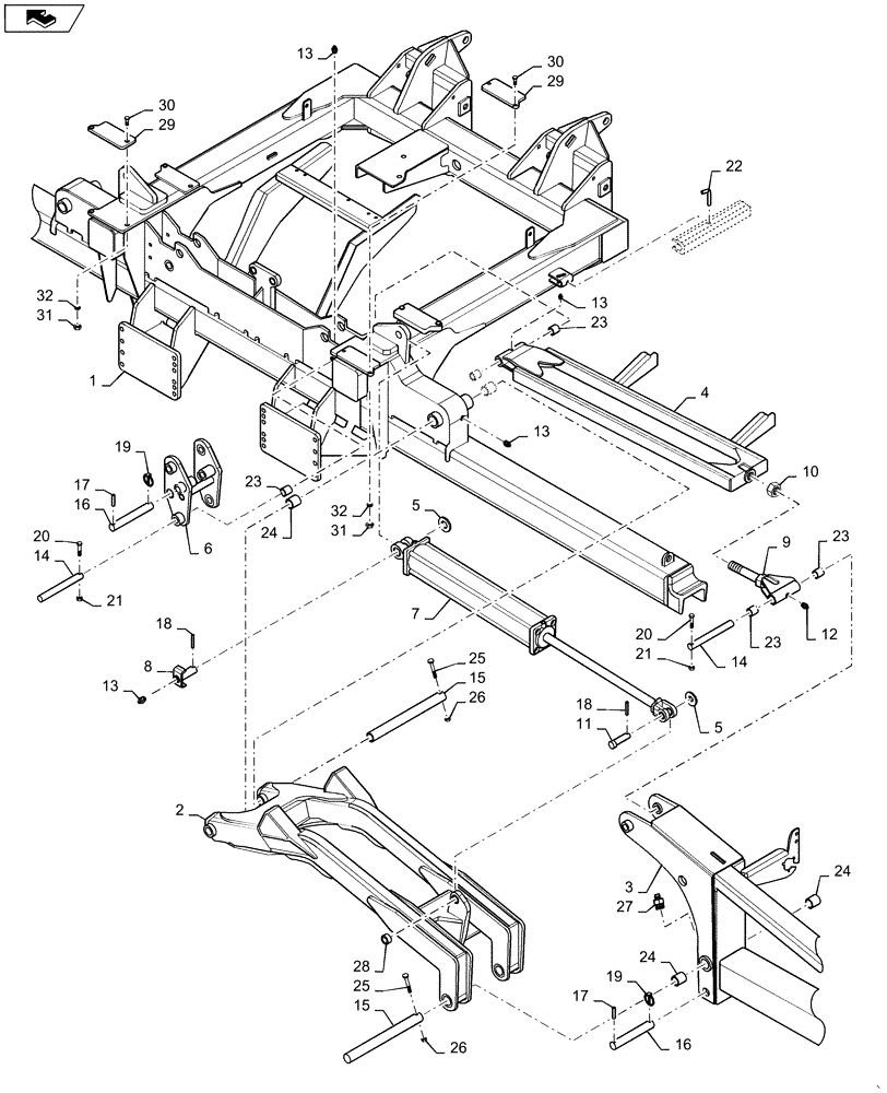
1

73357269

FRAME

TOOLBAR CTR WITH SEED SUPPORT

1шт.

2

73357267

ARM

LINK ARM LOWER

1шт.

3

73357265

FRAME

STACKING WING LEFT

1шт.

3

73359093

SUPPORT

STACKING WING RIGHT

1шт.

4

73357266

ARM

ARM UPPER LINK LEFT

1шт.

4

73358879

SUPPORT

ARM UPPER LINK RIGHT

1шт.

5

86512837

WASHER,1.38" ID x 2.5" OD x 0.17" Thk

2шт.

6

73358941

SUPPORT

FLEX ARM WELDMENT 11.5 DEG

1шт.

7

73357917

TIE-ROD

See Fig. 35.944.AC (01)

1шт.

8

73357129

PIN

1шт.

9

73357268

ARM

LINK UPPER LIFT ARM WLDMT

1шт.

10

3541

NUT,1 1/2"-6, G5

1шт.

11

73358516

CLEVIS PIN

1шт.

12

87415

LUBE NIPPLE,90 Degree, 1/4" NPT x 3/4" L, Drive

1шт.

13

87414

LUBE NIPPLE,1/4" - 28

4шт.

14

73358507

PIN

2шт.

15

73358510

PIN

2шт.

16

73358506

PIN

2шт.

17

87635861

ROLL PIN

2шт.

18

84158889

SLOTTED PIN

2шт.

19

73358547

LINCH PIN

2шт.

20

87936

BOLT,Hex, 3/8" - 16 x 2 1/2", Gr 5

2шт.

21

87034524

NUT,Prevailing Torque, 3/8” - 16, Gr A

2шт.

22

73358514

PIN

1шт.

23

73358220

BUSHING

4шт.

24

73358221

BUSHING

3шт.

25

88043

BOLT,Hex, 1/2" - 13 x 3 1/4", Gr 5

2шт.

26

88871

NUT,1/2"-13, GC

2шт.

27

219-38

LUBE NIPPLE,45 Degree Elbow, 1/4" - 28 NPTF

1шт.

28

1337423C1

BUSHING

1шт.

29

73359036

BLOCK

PAD STOP BLOCK

2шт.

30

9707516

BOLT,1/2"-13 x 1-3/4", Cl 5

2шт.

31

9803187

NUT,1/2"-13, G8

2шт.

32

80700

WASHER,0.56" ID x 1.38" OD x 0.11" Thk

2шт.

Выбрано товаров: 34