Запчасти Case IH 6100 (9-06) - TRANSPORT ARMS, TANDEM, IF USED (09) - CHASSIS/ATTACHMENTS

Схема запчастей Case IH 6100 - (9-06) - TRANSPORT ARMS, TANDEM, IF USED (09) - CHASSIS/ATTACHMENTS
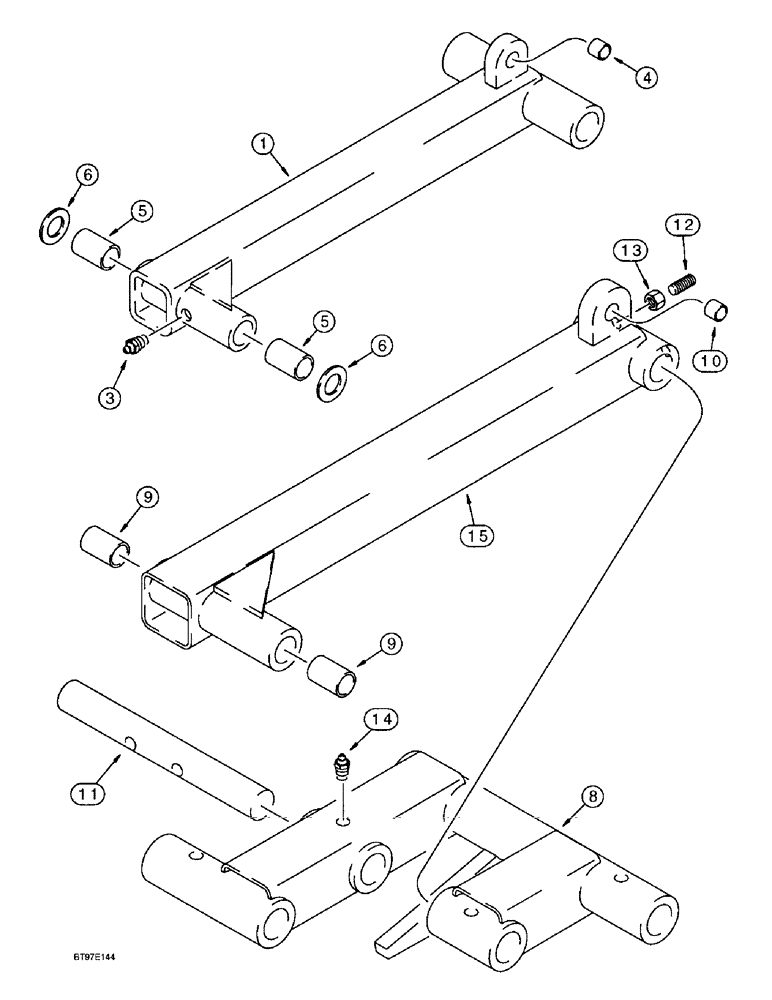
13
11
12
6
14
3
5
15
5
8
6
4
9
10
1
9
FIT
1:1
100%

Артикул

Название

Примечание

Количество

1

142066A1

ARM

- transport wheel, left-hand

1шт.

2

142065A1

ARM

- transport wheel, right-hand, not shown

1шт.

3

219-10

LUBE NIPPLE,1/4" - 28 NPTF

FITTING - grease, straight, 1/4-28 taper x 11/16 inch

2шт.

4

142295A1

BUSHING

- Tension, 1 inch ID

2шт.

5

142303A1

BUSHING

- Nylon, 1-3/4 ID x 1-5/16 inch OD

4шт.

6

495-81093

WASHER,45.24mm ID x 63.5mm OD x 3.4mm Thk

- flat, 1-25/32 x 2-1/2 x 1/8 inch

4шт.

7

199775A1

SUPPORT

AXLE - bogie, right-hand, not shown

2шт.

8

199776A1

SUPPORT

AXLE - bogie, left-hand

2шт.

9

199779A1

BUSHING

- bogie axle

4шт.

10

142295A1

BUSHING

- Tension, 1 inch ID, Bogie arm

2шт.

11

199781A1

PIVOT PIN

PIN - pivot, bogie- if used

2шт.

12

485-16224

SET SCREW,Sq Hd, 5/8"-11 x 1 1/2"

SCREW - set, square head, 5/8 NC x 1-1/2 inch, cup point, pivot pin, bogie- if used

4шт.

13

425-1410

JAM NUT,Jam, 5/8"-11, G5

- hex, jam, 5/8 inch NC, bogie- if used

4шт.

14

219-87

LUBE NIPPLE,1/4" - 28 NPTF

NIPPLE, LUBE, 1/4"-28 x .56" lg, Self-Tap

4шт.

15

199778A1

ARM

- bogie, left-hand

1шт.

16

199777A1

ARM

- bogie, right-hand, not shown

1шт.

Выбрано товаров: 16